Подземное хранение газа в водоносных структурах
Лекция 45
Тема: Подземное хранение газа.
План: 1 Подземное хранение газа в водоносных структурах.
1. Подземное хранение газа в водоносных структурах.
Подземные хранение нефтепродуктов в горных выработках получило довольно широкое распространение в нашей стране и зарубежом. Достоинствами подземного хранения являются: 1)небольшая занимаемая территория (исключается площадь самой большой зоны - зоны хранения); 2) низкая пожаро- и взрывоопасность; 3) меньшие капиталовложения, эксплуатационные расходы и металлоемкость по сравнению с наземными стальными резервуарами.
Различают следующие типы подземных хранилищ:
- хранилища в отложениях каменной соли, сооружаемые методом выщелачивания (размыва);
- хранилища в пластичных породах, сооружаемые методом глубинных взрывов;
- шахтные хранилища;
Рекомендуемые материалы
- льдогрунтовые хранилища.
Выбор типа хранилища определяется геологической характеристикой горных пород, климатическими условиями и их технико-экономическими показателями.
Хранилища в отложениях каменной соли
Подземные хранилища в отложениях каменной соли - это наиболее распространенный вид подземных емкостей для хранения нефтепродуктов. Каменная соль (галит) имеет высокий предел прочности и низкую проницаемость, что весьма благоприятно для создания в ее отложениях подземных емкостей.
Хранилища нефтепродуктов в отложениях каменной соли сооружаются методом размыва (рис. 14.11). Последовательность выполнения работ в этом случае такова. Сначала бурится скважина, вскрывающая верхнюю кровлю соляного пласта 4. В нее устанавливается обсадная труба 3. Затем в трубу 3 до кровли будущего хранилища опускаются водоподающая труба 2 и рассолоотводящая труба 1.
Закачиваемая под давлением вода растворяет соль. Образующийся соляной раствор откачивается по трубе 1. Постепенно опуская трубы 1и 2, доводят размер подземной емкости до необходимого.
При эксплуатации данной емкости трубу 1 опускают до ее нижней отметки, а трубу 2 поднимают до кровли будущего хранилища. Закачку-выкачку нефтепродуктов производят методом прямого вытеснения. При приеме нефтепродукта по трубе 2 соляной рассол по трубе 1 вытесняется в специальные емкости, расположенные на поверхности земли. При необходимости отпуска нефтепродукта его вытесняют из хранилища закачкой соляного рассола по трубе 1.
Хранилища, сооружаемые методом глубинных взрывов
Данный тип хранилищ создается там, где отсутствуют отложения каменной соли достаточной мощности. Наиболее предпочтительно создание хранилищ в водоупорных глинах. В отличие от кристаллических пород в результате внутреннего взрыва пластичные породы под действием высокого давления, образующегося при взрыве, не разрушаются, а уплотняются и приобретают повышенную прочность и герметичность.
Последовательность создания хранилищ методом глубинных взрывов выглядит следующим образом (рис. 14.12). Сначала бурят скважину нужной глубины. Ее стенки укрепляют с помощью обсадных труб и цементируют. Затем двумя предварительными взрывами создают зарядную камеру, в которую помещают основной заряд взрывчатого вещества. Необходимая полость получается в результате основного взрыва.
Для того, чтобы получить подземные резервуары емкостью 100, 200, 400, 500, 700, 1000 м:' необходима минимальная мощность горных пород соответственно 18, 23, 27, 30, 33 и 38 м, т.е. в 2...3 раза превышающая радиус шара равного объема.
Подземные резервуары, созданные методом глубинных взрывов, сохраняют свою устойчивость не более, чем в течение пяти лет. Продлить срок их службы позволяет термическая обработка стенок, напоминающая обжиг кирпича. Процесс осуществляется в три этапа.Сначала из приконтурного массива в течение 48 ч при температуре 105...110 вС выпаривают воду, затем в течение 40 ч при температуре 900.„950 °С глинистый слой переводят в камнеподобное состояние и далее при температуре до 1100 °С производят оплавление стенок полости.
Наряду с применением обычных взрывчатых веществ для создания хранилищ нефтепродуктов методом глубинных взрывов перспективно применение ядерных боеприпасов.
При взрыве ядерного заряда образующийся плазменный шаррасплавляет окружающие горные породы. Так, при взрыве заряда мощностью 1 кт в граните за 30 мке расплавляется около 1000 ы3 породы, а расширяющиеся газы увеличивают объем полости до 2000...8000 м3.
В США в 1967 г. при проведении эксперимента «Гээбагги» с помощью ядерного заряда в 26 кт была создана подземная полость объемом 56000 мя.
Шахтные хранилища
Подземные хранилища шахтного типа (рис. 14.13) - это комплекс сооружений, состоящий из следующих элементов: 1) подземных выработок-резервуаров для хранения нефтепродуктов, 2) вскрывающих выработок, 3) выработок вспомогательного назначения, 4) наземных сооружений и 5) техно-логического оборудования.

Рис 14.11. Схема сооружения подземной емкости в отложениях каменной соли:
1 - рассолоотводящая труба; 2 - водоподающая труба; 3 - обсадная труба; 4 - соляной пласт; 5 - соляной раствор

Рис. 14.12. Схема последовательности работ при создании хранилищ методом глубинных взрывов:
а - бурение скважины на начальный размер; б - обсадка скважины (цементация за трубного пространства н бурение скважины на конечный размер); в - первый «прострел» скважины; д - взрыв основного заряда ВВ; е - готовое подземное хранилище

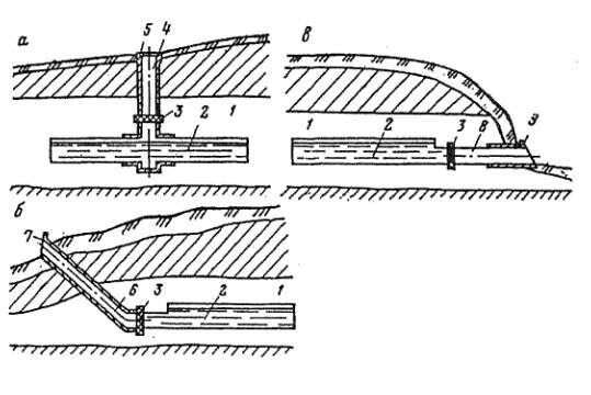
Рис. 14.13. Схемы шахтных хранилищ с вертикальной (а), наклонной (б) и горизонтальной (в) вскрывающими выработками;
1 - толща непроницаемых пород; 2 - выработка-емкость; 3 - герметичная перемычка; 4 - вертикальная вскрывающая выработка; 5 - оголовок; 6 - наклонная вскрывающая выработка; 7 - устье; 8 - горизонтальная вскрывающая выработка; 9 – портал
Выработки-резервуары представляют собой отдельные тоннели или камеры, отходящие от магистральных выработок, или систему горизонтальных, взаимосвязанных выработок. В зависимости от емкости хранилища и устойчивости пород поперечное сечение выработок-резервуаров имеет круглую, сводчатую или трапецеидальную форму. Их высота составляет от 4-х (глинистый сланец) до 13-ти (гранит) метров.
Под вскрывающими выработками понимают вертикальные или наклонные стволы, связанные с горизонтальными выработками - штольнями. Вскрывающие выработки предназначены для соединения выработок-резервуаров с поверхностью, размещения трубопроводов и эксплуатационного оборудования. В зависимости от горно-геологических условий вскрывающие выработки бывают вертикальными, горизонтальными и наклонными.
В выработках вспомогательного назначения находятся околоствольные и подземные насосные станции.
Наземные сооружения шахтных хранилищ отличаются от аналогичных производственных комплексов наземных нефтебаз наличием приточно-вытяжных вентиляционных систем, располагаемых в подшахтном здании.
К технологическому оборудованию хранилищ относятся приемные и расходные трубопроводы, насосы, буферные наземные резервуары, измерительные устройства количества нефтепродуктов, приборы отбора проб и другие.
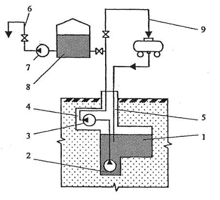
Принципиальная схема шахтного хранилища приведена на рис. 14.14. Нефтепродукт, поступающий в данном случае по железной дороге, сливается в выработку-резервуар 1 самотеком. Для его откачки из хранилища в приямке (зумпфе) 2 располагают погружной насос, выполняющий роль подпорного. Основной же напор, необходимый для доставки нефтепродукта на поверхность земли, развивает продуктовый насос 3, расположенный в насосной камере 4. При этом нефтепродукт может отгружаться либо напрямую (через железнодорожную эстакаду 9), либо через буферные резервуары 8 (откуда он откачивается наземной насосной станцией 7 и подается, например, на автоналнвные стояки 6).

Рис.14.14. Принципиальная схема шахтного хранилища нефтепродуктов:
1 - выработка-резервуар; 2 - приямок; 3 - продуктовый насос;4 - насосная камера; 5 - ствол; б - автоналивные стояки;
7 - наземная насосная станция; 8 - буферные резервуары; 9 - железнодорожная эстакада.
Лъдогрунтовые хранилища
Для районов Крайнего Севера и северо-восточной части России требуется большое количество нефтепродуктов. Горючее в эти районы завозят преимущественно танкерами в период очень короткой летней навигации. Поэтому надо иметь большое количество резервуаров значительного объема, обеспечивающих хранение годового запаса нефтепродуктов.
Строить металлические резервуары в этих районах вследствие значительной удаленности от поставщиков м стал л окон струкций очень дорого. Их эксплуатация вследствие низкой температуры воздуха и сильных ветров технически сложна.В связи с этим в указанных районах применяют льдогрунто- вые хранилища, представляющие собой подземные выработки в вечиомерзлых грунтах и имеющие в качестве облицовки покрытия из льда.
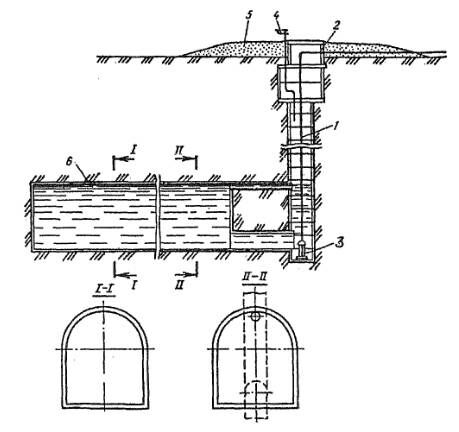
Принципиальная схема льдогрунтового хранилища приведена на рис. 14.15.
Она включает оголовок 1, ствол 2, погружной насос 3, выработ- ку-резервуар 4, термоизоляционный слой 5 и дыхатслыгую арматуру 6.
Подземное льдогрунтовое хранилище строят в виде горизон- тальной выработки длиной около 200 м, ширина пролета составляет обычно 6 м.
Резервуары в подземных льдогрунтовыххранилищах изолируют и герметизируют перемычками и ледяной облицовкой стен. Ледяная оболочка предохраняет хранимый продукт от механического загрязне- ния, обеспечивает герметичность хранилищ. В связи еэтимтемпература хранимого нефтепродукта не должна быть выше 0 *С.

Рис.14.15. Принципиальная схема льдогрунтового хранилища шахтного типа на один продукт:
1 - ствол; 2 - оголовок; 3 - погружной насос; 4 - дыхательный клапан с огневым предохранителем; 5 - термоизоляционная засыпка; 6 - ледяная облицовка
Контрольные вопросы:
1.Какие существуют типы подземных хранилищ?
2. Объясните шахтовое хранилище?
3.Расскажите про схему последовательности работ при создании хранилищ методом глубинных взрывов:
4. Что представляют из себя льдогрунтовые хранилища?
Литература
1. Баграмов Р.А. Буровые машины и комплексы: Учеб. для вузов. — М.: Недра,1988. — 501 с.
2. Басарыгин Ю.М., Булатов А.И., Проселков Ю.М. Заканчивание скважин: Учеб. пособие для
вузов. — М: ООО «Недра-Бизнесцентр», 2000. — 670 с.
Лекция "3 Объекты краеведения" также может быть Вам полезна.
3. Басарыгин Ю.М., Булатов А.И., Проселков Ю.М. Осложнения и аварии при бурении нефтяных
и газовых скважин: Учеб. для вузов. — М.: ООО «Недра-Бизнесцентр», 2000. —679 с.
4. Басарыгин Ю.М., Булатов А.И., Проселков Ю.М. Технология бурения нефтяных и газовых
скважин: Учеб. для вузов. — М.: ООО «Недра-Бизнесцентр», 2001. — 679 с.
5. Болденко Д.Ф., Болденко Ф.Д., Гноевых А.Н. Винтовые забойные двигатели. — М.:Недра,
1999. — 375 с





















