Оборудование для воздействия на пласт
3. Оборудование для воздействия на пласт
Для увеличения и восстановления производительности и приемистости скважин применяют оборудование, позволяющее воздействовать на пласт тепловыми, механическими и химическими методами.
3.1. Оборудование для теплового воздействия на пласт
Тепловое воздействие на призабойную зону предотвращает образование парафинистых и смолистых отложений в поровом пространстве пласта и способствует увеличению текущей и суммарной добычи нефти. Прогрев зоны удлиняет межремонтный период эксплуатации скважины, так как повышается температура нефти и снижается ее вязкость, уменьшается количество парафина, отлагающегося на стенках подъёмных труб и в выкидных линиях.
Призабойную зону скважины прогревают следующими способами: нагнетанием в пласт на некоторую глубину теплоносителя - насыщенного или перегретого пара, растворителя, горячей воды или нефти; спуском на забой (в фильтровую зону) нагревателя-электропечи или погружной газовой горелки.
Обработка паром. При этом способе теплоноситель - пар получают от полустационарных котельных и передвижных котельных установок ППГУ-4/120 М, «Такума» КSК, а также парогенераторных установок типа УПГ и ППУА. Если давление нагнетания до 4 МПа, то используют паровые котельные общего типа ДКВР-10/39 и скважинное оборудование (устьевое и внутрискважинное). Устье оборудуют арматурой типа АП, лубрикатором типа ЛП 50-150 и колонной головкой ГКС.
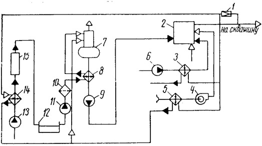
Парогенераторные установки УПГ-60/16М, УПГ-50/6М (рис. 44) предназначены для паротеплового воздействия на пласт с целью увеличения коэффициента нефтеотдачи.

Рис. 44. Принципиальная схема парогенераторной установки УПГ-50/6М:
1 – дроссельное устройство; 2 – парогенератор; 3 – подогреватель топлива; 4 – дутьевой вентилятор; 5 – подогреватель воздуха; 6 – топливный насос; 7 – деаэратор; 8 – охладитель деаэрированной воды; 9 – электронасосный агрегат; 10 – сульфоугольный фильтр; 11 – насос химочищенной воды; 12 – бак химочищенной воды; 13 – насос исходной воды; 14 ‑ подогреватель исходной воды; 15 – фильтр химводоочистки
Техническая характеристика УПГ-60/16М УПГ-50/6М
Рекомендуемые материалы
Производительность по пару, т/ч 60 50
Теплопроизводительность, Гкал/ч 34,4 25,4
Номинальное давление, МПа 16,0 6,0
Установленная электрическая мощность, кВт 1528,0 1294,0
Температура обработанных газов, °С 320 343
КПД установки, % 80,0 83,9
Вид топлива газ газ, нефть
Парогенераторная установка ППУА - 1600/100 (рис. 45) состоит из цистерны для воды 1, емкости для топлива 2, парогенератора 3, питательного насоса 4, вентилятора высокого давления 5, топливного насоса 7, привода установки 8, приборов 6 и трубопроводов 9.Техническая характеристика
Производительность по пару, т/ч 16
Давление пара, МПа 9,81
Температура пара, °C 310
Теплопроизводительность, Гкал/ч 0,94
Масса установки без заправки водой и топливом, кг 15350
Вместимость цистерны, м3 5,2

Рис. 45. Парогенераторная установка ППУА-1600/100
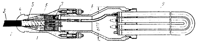
Устьевая арматура АП-65/210, АП-65/50´16У1 (рис. 46) предназначена для герметизации устья скважин при паротепловом воздействии на пласт.

Рис. 46. Устьевая арматура АП-65/210, АП-65/50´16У1:
1 – устьевой сальник; 2 – задвижка; 3 – устьевое шарнирное устройство; 4 – специальная труба
Арматура (рис. 46) состоит из устьевого сальника 1, предназначенного для компенсации теплового расширения 4 (удлинения) колонны НКТ, задвижки 2 и устьевого шарнирного устройства 3. Шарнирное устройство обеспечивает компенсацию термических удлинений эксплуатационной колонны и паропровода от парогенератора к скважине.
Техническая характеристика
Тип арматуры АП-65/210 АП-65/50´16У1
Рабочее давление, МПа 15 16
Максимальная температура, °С 320 345
Условный проход, мм 65 65
|
Термостойкие пакеры ПВ-ЯГМ-Г-122-140, ПВ-ЯГМ-7-140-140, предназначены для герметизации ствола скважины при нагнетании теплоносителя, в том числе для разобщения затрубного пространства в скважине от закачиваемого пара в пласт. Последнее исключает необходимость в спуске дополнительной изолирующей колонны.
Технические характеристики
Тип пакеров ПВ-ЯГМ-Г-122-140 ПВ-ЯГМ-Г-140-140
Диаметр обсадных труб, мм 146 146
Максимальный перепад давлений, МПа 14,0 14,0
Максимальная температура, °С 325 325
Условный диаметр обсадных труб, мм 146 168
Давление при посадке пакера, МПа 20 20
Диаметр пакера, мм 122 140
Длина пакера, мм 1690 2370
Электротепловая обработка. Этот способ проще и дешевле, чем предыдущий. Температуру в призабойной зоне обычно повышают глубинными электронагревателями (рис. 48). Для прогрева больших зон пласта в пласт закачивают пар с тепературой до 300°С или горячую воду с температурой около 200°С. Для поддержания пластового давления используют горячую воду с температурой, близкой к пластовой (60¸100°С).

Рис. 48. Глубинный электронагреватель:
1 – крепление кабель-троса; 2 – проволочный бандаж; 3 – кабель-трос КТГН-10; 4 – головка электронагревателя; 5 – асбестовый шнур; 6 – свинцовая заливка; 7 – нажимная гайка; 8 ‑ клеммная полость; 9 – нагревательный элемент
Для прогрева призабойной зоны выпускается самоходная установка электропрогрева сквашен (СУЭПС). Установки СУЭПС рассчитаны на глубину спуска нагревателя до 1200 и 1500 м. Мощность нагревателей 10,5; 21 и 25 кВт. Установка состоит из нагревателя, спускаемого в скважину на кабель-тросе. На устье кабель закрепляется зажимом. На поверхности имеется автотрансформатор для повышения напряжения и станция управления для включения и отключения нагревателя, защиты оборудования при номинальных или аварийных режимах (коротком замыкании, работе на двух или одной фазах, работе без нагрузки и т.д.) и для регистрации величины напряжения, силы тока и температуры нагрева полости скважины у нагревателя.
Нагреватель состоит из трех трубчатых электронагревательных элементов (ТЭН). ТЭН представляет собой стальную трубку, внутри которой спираль из нихромовои проволоки расположена в кварцевом песке или плавленной окиси магния. Последняя служит изоляцией спирали и являются хорошим теплопередатчиком. Три такие трубки расположены в кожухе и составляют нагреватель.
Кабель-трос имеет три силовые жилы сечением 4 мм2 и три сигнальные жилы сечением 0,56 мм2. Разрывное усилие кабеля - 100кН, наружный диаметр - около 18мм.
Автотрансформатор и станция управления взяты от установок глубинных центробежных насосов (ЭЦН). Это оборудование размещается на прицепе автомашины.
Нагреватели электрические скважинные индукционные типа НЭСИ 50-122 выпускаются двух модификаций; НЭСИ 50-122Т и НЭСИ 50-122М. Первый предназначен для тепловой обработки призабойной зоны скважины, а второй - для магнитной обработки скважинной жидкости с целью борьбы с отложениями парафина.
Оба нагревателя предназначены для работы в скважинах с высоковязкой нефтью, оборудованных скважинными штанговыми насосами.
Нагреватель НЭСИ 50-122М (рис. 49) состоит из сердечника, катушек индуктивности, головки токовода, переводника кожуха, диафрагмы и корпуса.

Рис. 49. Нагреватель электрический скважинный индукционный НЭСИ50-122М:
1 – кабель; 2 – патрубок; 3 – головка токовода; 4 – катушка; 5 – сердечник; 6 – центральная труба; 7 ‑ переводник; 8 – кожух; 9 – диафрагма; 10 – втулка; 11, 14 – крышка; 12, 17 – центратор; 13 ‑ гайка; 15 – термореле; 16 – корпус
Сердечник выполнен из трубы углеродистой стали и присоединяется резьбой к головке токовода. На сердечнике размещены три катушки индуктивности, фазы которых соединены в звезду и имеют три ввода, к которым через выводной кабель и втулку присоединяется вилка силового кабеля.
Нагреватель начинает работать при подаче напряжения по кабелю, при этом на катушке индуктивности в сердечнике и кожухе возникают вихревые токи, которые нагревают кожух и сердечник, а, следовательно, и жидкость протекающую внутри сердечника и омывающую нагреватель снаружи. Трансформаторное масло, находящееся в полости нагревателя, выполняет функцию гидрозащиты, а также является переносчиком тепла от более к менее нагретым частям нагревателя, предотвращая местные перегревы. Диафрагма предназначена для компенсации расширения трансформаторного масла и создания избыточного давления в полости нагревателя.
Нагреватель НЭСИ50-122Т также как НЭСИ50-122М устанавливается ниже скважинного штангового насоса в зоне продуктивного пласта.
Отличительной особенностью нагревателя НЭСИ50-122М является то, что его сердечник изготавливается из немагнитного материала.
Техническая характеристика
Тип НЭСИ50-122Т НЭСИ50-122М
Давление окружающей среды в месте
подвески нагревателя, МПа 30 30
Минимальный внутренний диаметр
обсадной колонны, мм 128 128
Температура нагрева жидкости, °С 90 90
Максимальная мощность, кВт 50 50
Напряжение питания при максимальной
мощности, В 1023 549
Частота тока, Гц 50 50
Габаритные размеры, мм
диаметр 122 122
длина 5300 5300
Масса, кг 192 192
Забойные электронагревательные системы ЕВНН фирмы «Петротерм» (рис. 50) обеспечивают электронагрев продуктивной зоны для снижения вязкости пластовой нефти или предупреждения отложений парафина, благодаря этому производительность скважины увеличивается в 2¸8 раз и более. Стандартные системы пригодны для скважин с начальным дебитом 1¸50 баррел/сут. Сборка нагревателей закрепляется непосредственно на колонне НКТ. Электроэнергия подается по стальному бронированному кабелю или сплошному стальному проводнику, системы переменного тока напряжением 480 В, мощностью 44 кВт являются стандартными для скважин глубиной до 4000 фут. Модели с более высоким напряжением или мощностью рекомендуются для более глубоких скважин. Оборудование, рассчитанное на меньшую мощность, может работать при напряжении 240 В. В течение всего срока обработки скважина остается в насосной эксплуатации. Выбор конкретной модели зависит исключительно от характеристик продуктивного пласта и скважины.

Рис. 50. Забойная электронагревательная система ЕВНН
Характеристики забойных электронагревательных систем ЕВНН
(стандартные модели)
Мощность Дебит скважины до Сила переменного тока
нагревателей термообработки, при напряжении 480 В, Число фаз
кВт/тыс. ВтV/ч баррел/сут А
5/17 1¸5 В/D 11 Amp 1ф
10/34 5¸10 21 1ф
15/51 10¸20 32 1ф
22/75 20¸30 27 3ф
29/100 30¸40 36 3ф
44/150 40¸50 54 3ф
3.2. Оборудование механического и химического воздействия на пласт
Воздействие на призабойную зону пласта позволяет интенсифицировать добычу нефти и газа за счет увеличения проницаемости призабойной зоны. Выделяют основные методы воздействия: механические, химические и комплексные.
3.2.1. Оборудование для гидроразрыва пласта
В комплекс оборудования для гидроразрыва пласта входят: насосные установки, пескосместительные установки, автоцистерны для транспортирования жидкостей разрыва, арматура устья скважины, пакеры, якори и другое вспомогательное оборудование.
Для гидроразрыва в частности, может быть использовано следующее оборудование.
Пакеры с опорой на забой: ПМ; ОПМ.
Пакеры плашечные (без опоры на забой): ПШ; ПС; ПГ.
Насосные установки (агрегаты): УН1-630-700А; НА-105-1; 2АН-500; 3АН-500 и 4АН-700.
Пескосместительные установки: 4ПА; УСП-50 (до 9т. песка).
Блок манифольда: 1БМ-700; 1БМ-700С.
Арматура устья: 2АУ-700; 2АУ-700СУ.
Автоцистерны: АЦН-8С-5337; АЦН-14С-65101; АЦ9-5337; АТК-8-65101 и другие вместимостью (6¸21) м3.
Насосные установки (агрегаты) 2АН-500, 3АН-500 и 4АН-700 предназначены для закачки рабочих жидкостей: жидкости разрыва, песконосителя и продавочной жидкости.
Тип и число насосных установок определяют по их технической характеристике, исходя из параметров обрабатываемого пласта: глубины залегания, толщины, проницаемости, степени естественной трещиноватости и т.д. Важное условие при этом - максимальное сокращение потребных установок, что упрощает обвязку устья скважины, управление процессом и снижает стоимость работ.
Насосная установка (агрегат) 4АН-700 монтируется на шасси грузового трехосного автомобиля КрАЗ-275Б1А и состоит из силовой установки 9УС-800, коробки передач ЗКПМ, трехплунжерного насоса 4Р-700, манифольда и системы управления.
Характеристика установок 2АН-500, 3АН-500 и 4АН-700 приведена в табл. 14.
Таблица 14
Характеристика насосных установок
| Ско-рость | 2АН-500 | 3АН-500 | 4АН-700 | |||||||
| Диаметр сменных плунжеров, мм | ||||||||||
| 100 | 115 | 100 | 120 | |||||||
| Подача, л/с | Давление, МПа | Подача, л/с | Давление, МПа | Подача, л/с | Давление, МПа | Подача, л/с | Давление, МПа | |||
| I II III IV V VI | 5,10 5,92 7,33 8,92 11,55 14,95 | 50,8 43,7 35,3 29,0 22,4 17,3 | 8,8 12,0 15,8 20,0 - - | 50,0 37,0 29,0 23,0 - - | 6,3 8,5 12,0 15,0 - - | 50,0 36,6 26,0 20,7 - - | 9,0 12,3 17,3 22,0 - - | 71,9 52,9 37,4 29,8 - - | ||
Пескосмесительная установка УСП-50 предназначена для транспортирования песка, приготовления песчано-жидкостной смеси и подачи ее на прием насосных установок при гидроразрыве пластов, а также при гидропескоструйной перфорации. Смонтирована она на шасси автомобиля КрАЗ-257Б1А и состоит из бункера, загрузочного и рабочего шнеков, манифольда, поста управления, гидросистемы управления шнеками и мешалки.
Ниже приведена техническая характеристика установки УСП-50.
Максимальная подача, м3/мин 3,6 Подача, т/мин 0,3
Вместимость бункера, м3 6,83 Наибольшее давление, МПа 0,2
Блоки манифольдов 1БМ-700 и 1БМ-700С предназначены для обвязки насосных установок между собой и с устьевым оборудованием при нагнетании жидкости в скважину в районах с умеренным климатом (1БМ-700) и с умеренным и холодным (при температуре до -50°С) климатом (1БМ-700С).
Каждый блок, смонтированный на автошасси ЗИЛ-131, состоит из напорного и приемораздаточного коллекторов, комплекта труб с шарнирными соединениями и подъемной стрелы.
Напорный коллектор состоит из трех клапанных коробок с шестью отводами, служащими для присоединения напорных линий насосных установок. С одной стороны к коробке прикреплен проходной кран с зубчатыми секторами, с другой - центральная труба, заканчивающаяся тройником с предохранительным клапаном и двумя патрубками с пробковыми кранами и накидными гайками для присоединения напорных трубопроводов, которыми оснащена арматура на устье скважины. Каждый отвод снабжен обратным клапаном.
Раздаточный коллектор - труба с приваренными к ней десятью ниппелями, к каждому из которых присоединен пробковый кран, предназначен для подачи рабочей жидкости к насосным установкам. На нем установлен предохранительный клапан многократного действия.
Блок манифольда оснащен насосно-компрессорными трубами вспомогательного напорного трубопровода с шарнирными коленами.
На платформе автомобиля предусмотрена площадка для перевозки устьевой арматуры, погрузка и разгрузка которой осуществляются поворотной стрелой блока манифольда.
Применение блока манифольда при цементировании скважин, гидравлическом разрыве пласта и гидропескоструйной перфорации сокращает время монтажа и демонтажа коммуникаций обвязки установок между собой и с устьевой головкой, а также значительно упрощает эту работу.
Универсальная арматура устья 2АУ-700 предназначена для обвязки насосных агрегатов с устьем скважины при гидравлическом разрыве пласта, гидропескоструйной перфорации, кислотных обработках и цементировании скважин.
Арматура состоит из трубной и устьевой головок, запорной арматуры и элементов обвязки головок. Укомплектована она кранами с цилиндрической пробкой, легко управляемыми при любом рабочем давлении.
Устьевая головка снабжена резиновой манжеткой, обеспечивающей спуск - подъем НКТ без разгерметизации устья скважины.
Более полная информация об отечественном и зарубежном оборудовании приведена в комплекте каталогов [7].
3.2.2. Выбор оборудования для проведения гидравлического разрыва пласта (ГРП)
Технология ГРП включает: 1. Промывку скважины; 2. Спуск в скважину высокопрочных НКТ с пакером и якорем на нижнем конце; 3. Обвязку и опрессовку на 1,5- кратное рабочее давление устья и наземного оборудования; 4. Определение приемистости скважины закачкой жидкости; 5. Закачку в пласт жидкости-разрыва, жидкости-песконосителя и продавочной жидкости (собственно гидроразрыв); 6. Демонтаж оборудования и пуск скважины в работу.
При выборе оборудования для ГРП необходимо: определить технологическую схему - давление и расход жидкостей; типы и количество жидких сред и наполнителя.

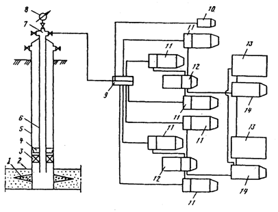
Рис. 51. Технологическая схема гидравлического разрыва пласта
1 – трещина разрыва; 2 – продуктивный пласт; 3 – пакер; 4 – якорь; 5 – обсадная колонна; 6 – насосно-компрессорные трубы; 7 – арматура устья; 8 – манометр; 9 – блок манифольдов; 10 – станция контроля и управления процессом; 11 – насосные агрегаты; 12 – пескосмесители; 13 – емкости с технологическими жидкостями; 14 – насосные агрегаты
Давление нагнетания на устье скважины - Ру
Pу = Ргрп + DРmp - Рс ,
где Рс - гидростатическое давление столба жидкости в скважине; DРmp - давление на трение в трубах определяется по формуле Дарси-Вейсбаха (при необходимости с учетом увеличения потерь давления за счет наличия в жидкости песка); Ргрп ‑ забойное давление разрыва пласта устанавливают по опыту или оценивают по формуле:
Ргрп = Рг + sр ,
где Рг = Н×rn×q - горное давление; sр - прочность породы пласта на разрыв в условиях всестороннего сжатия (sр=1,5¸З МПа); Н - глубина залегания пласта, м; rn - средняя плотность вышележащих горных пород равная 2200¸2600 кг/м3, в среднем 2300 кг/м3; g ‑ ускорение свободного падения.
Пример: Н = 2000 м; sр = 2 МПа; rn = 2300 кг/м3
Ргрп = 2000´2300´9,8´10-6 + 2»47 МПа
При глубине скважины Н>1000¸1200М можно определять Ргрп=(0,75¸0,8)´Рг (Данные статистического анализа).
Минимальный расход закачки жидкости должен составлять не менее 2 м3/мин и может быть оценен при образовании вертикальной и горизонтальной трещин соответственно по формулам:
;
,
где Qверт, Qгор - минимальные расходы, л/с; h - толщина пласта, см; Wверт, Wгор - ширина вертикальной и горизонтальной трещины, см; m - вязкость жидкости, МПа×с; Rт - радиус горизонтальной трещины, см.
В частности для расчетов можно принять следующие значения параметров: h »(5¸20) м; Wверт » (1¸20) см; Wгор » (1¸20) см; m » (50¸500) МПа×с; Rт » (50¸80) м.
Общая продолжительность процесса ГРП
, час,
где Vр - объем жидкости разрыва, м3, Vр » (5¸10) м3; Vжп - объем жидкости песконосителя, м3; Vжп = Qп/Сп, где Qп - количество закачиваемого песка [Q » (8¸10) т на один гидроразрыв; Сп - концентрация песка в 1 м3 жидкости, кг/м3; [Сп = (180¸400) кг/м3 для вязкой жидкости и Сп= (40¸50) кг/м3 для воды];
- объем продавочной жидкости; dвн - внутренний диаметр НКТ (и обвязки); lс - длина НКТ (и обвязки); Qср - средний расход жидкости, м3/час.
Потребное число агрегатов устанавливают, исходя из подачи одного агрегата qаг и максимального расхода Qmax жидкости в процессе ГРП с учетом одного резервного агрегата:
n = Qmax/qаг + 1 .
Давление гидроразрыва может доходить до 70¸100 МПа.
Пакеры и якори рассчитаны на перепад давления 30¸50 МПа, проходное сечение НКТ dвн = 36¸72 мм.
3.2.3. Оборудование для кислотных обработок.
Неингибированную соляную кислоту от химических заводов до кислотной базы перевозят в железнодорожных цистернах, гуммированных специальными сортами резины и эбонитами, а ингибированную - в обычных железнодорожных цистернах, покрытых химически стойкой эмалью или лаком. Уксусную кислоту транспортируют также в металлических гуммированных цистернах, а плавиковую доставляют в эбонитовых баллонах.
Концентрированные товарные кислоты хранят в металлических стационарных резервуарах, вместимостью 25, 50; 100 м3, защищенных кислотоупорной футеровкой (покрытие эмалями, лаками, гуммирование).
Для доставки кислоты с базы на скважины используют автоцистерны‑кислотовозы, внутреннюю поверхность которых гуммируют или защищают многослойным покрытием химически стойкими эмалями или лаками.
Агрегат закачки кислоты в скважину АЗК-32 (рис. 52) предназначен для повышения эффективности использования скважин, увеличения объема добываемой нефти.
Агрегат позволяет производить, транспортировку и закачку кислотных растворов в нефтяные и нагнетательные скважины с целью воздействия на призабойную зону пласта в процессе их освоения и эксплуатации.

Рис. 52. Агрегат закачки АЗК-32
Главным преимуществом агрегата АЗК-32 является долговечность его цистерны, представляющей из себя две емкости, каждая из которых полностью выполнена из полиэтилена низкого давления (ПНД ГОСТ 16338-17), устойчивого к воздействию кислот.
Состав и основные характеристики АЗК- 32
База а/м УРАЛ-4320-0001912-30
Тип насоса плунжерный Н-200К´50
Привод насоса от тягового двигателя автомобиля
через спец. трансмиссию
Давление нагнетания
максимальное, МПа 32,0
Производительность, м3/час (л/с) 32,4 (9,0)
Вместимость цистерны, м3 4
Масса транспортируемой агрегатом
жидкости, кг, не более 5500
Закачиваемая жидкость раствор ингибированной соляной
кислоты, соляной в смеси с плавиковой
и уксусной кислотами, серной кислоты,
неагрессивные жидкости
Габаритные размеры, мм, не более 9200´2500´3200
3.2.4. Новое оборудование для воздействия на пласт
В настоящее время отечественными и зарубежными предприятиями и фирмами выпускается много нового оборудования для воздействия на пласт. Ниже приведены примеры новых разработок.
Оборудование для вибросейсмического воздействия на продуктивные пласты
АООТ «Юганскнефтегаз», СКБ прикладной геофизики СО РАН и АО «Элсиб» предлагают новую технологию и технические средства повышения нефтеотдачи пластов и интенсификации нефтедобычи - вибросейсмическое воздействие на продуктивные пласты с земной поверхности:
- имеет объемный характер воздействия на нефтяную залежь и предназначено для повышения нефтеотдачи и интенсификации нефтедобычи за счет снижения влияния зональной и послойной неоднородности на отдачу и приемистость продуктивных пластов, улучшения охвата разработкой, снижения обводненности добываемой жидкости и улучшения физико-химических свойств пластовой нефти;
- оказывает положительное влияние на разработку всех продуктивных пластов многопластовых месторождений с радиусом действия 3¸5 км и более.
- не нарушает экологию и безопасно для инженерных сооружений и промыслового оборудования;
- апробирована на нескольких высокообводненных месторождениях с терригенными коллекторами и глубиной залегания продуктивных пластов до 2,5¸3 км, при этом дополнительная добыча нефти обеспечивается в основном за счет снижения на 20¸40% обводненности добываемой продукции скважин при себестоимости в 3¸4 раза меньшей, чем у известных химических методов повышения нефтеотдачи пластов;
Если Вам понравилась эта лекция, то понравится и эта - Браковочные дефекты СИЗ.
- может применяться для интенсификации добычи и повышения нефтеотдачи неоднородных продуктивных пластов с карбонатными и терригенными коллекторами различной проницаемости на разных стадиях эксплуатации месторождений маловязких, вязких и высоковязких нефтей, а также нефтяных оторочек газонефтяных залежей, разрабатываемых как с поддержанием пластового давления, так и в режиме его падения.
Механизм вибросейсмического воздействия на продуктивные пласты с земной поверхности определяет возможность его применения совместно с другими известными способами повышения нефтеотдачи для взаимного усиления эффективности.
Применение установок гибкой трубы (Hydra Rig, УПД-5М) [7].
Установки гибкой трубы могут применяться при газлифтной добыче, очистке скважины от песка, при цементировочных работах, бурении, резке НКТ, картонажных работах в горизонтальных скважинах, канатных работах, установке мостовых пробок, скважинных закачках со сдвоенными пакерами, кислотных обработках (рис. 53).
|





















