Подъемники и подъемные агрегаты
8.3.подъемники и подъемные агрегаты
Подъемник — механическая лебедка, монтируемая на тракторе, автомашине или отдельной раме. В первом случае привод лебедки осуществляется от тягового двигателя трактора, автомашин, в остальных от самостоятельного двигателя внутреннего сгорания или электродвигателя.
Агрегат — в отличие от подъемника оснащен вышкой и механизмом для ее подъема и опускания.
Широко применяются тракторные подъемники «АзИНмаш-43П», АПТ-8, агрегаты «АзИНмаш-43А, «Бакинец-ЗМ», А50У, УПТ, «АзИНмаш-37» и др.
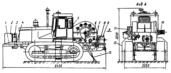
Тракторный подъемник АзИНмаш-43П — предназначен для проведения подземного ремонта скважин, оборудованных подъемными сооружениями. Подъемник представляет собой самоходную механизированную лебедку, смонтированную на гусеничном болотоходном тракторе Т-100МЗБГС или обычный Т-100МЗ.
Управление основными исполнительными механизмами подъемника — электропневматическое; управление тормозом лебедки — ручное механическое, сдублированное ножным пневматическим; управление остальными механизмами — механическое.
Для обеспечения воздухом пневмосистемы подъемника под капотом двигателя установлен автомобильный компрессор, имеющий привод от шкива вентилятора двигателя.
Масса агрегата 18.2 т, глубина обслуживаемых скважин от 1500 м до 6400 м (при НКТ от 114 до 48 мм).
Подъемная лебедка ЛПТ-8 (Рисунок 42).
Монтажной базой этого подъемника является гусеничный трактор Т130МЗ, обеспечивающий ремонт скважин глубиной до 2500 м.
Рекомендуемые материалы
Основными узлами подъемной лебедки являются: трансмиссия, электропневматическая лебедка, пневматическая система управления, приводы ротора, упорные домкраты и безопасная катушка.
Лебедка — однобарабанная. Все узлы и механизмы лебедочного блока - барабанный вал в сборе, трансмиссионный вал, тормозная система, храповое устройство, ограничитель подъема талевого блока, кожухи и ограждения собраны в цельносварной станине коробчатого типа. Включение барабана осуществляется посредством фрикционной муфты, собранной внутри тормозной шайбы, прикрепленной к ребордам барабана.
На правом конце барабанного вала походу установлена безопасная шпилевая катушка, на левом — цепное колесо привода ротора.
Для длительного удержания колонны труб или штанг на весу в лебедке, предусмотрено храповое устройство.

Рисунок 42 — Подъемная лебедка ЛПТ-8
1 — рама; 2 — топливный бак; 3 — воздушные баллоны; 4 — компрессор; 5 — пульт управления; 6 — лебедка; 7 — карданный вал; 8 — консольная рама; 9 — коробка передач; 10 — безопасная катушка; 11 — механизм привода ротора; 12 — съемная приставная лестница; 13 — откидной винтовой упор.
Пневмосистема подъемника предназначена для управления фрикционной муфтой привода тормозной системы лебедочного блока при ножном управлении или срабатывании ограничителя подъема талевого блока.
Пневмосистемы питаются от двухцилиндрового одноступенчатого компрессора, привод которого осуществляется от двигателя трактора посредством карданного вала и ременной передачи.
Универсальный винтовой ограничитель подъема талевого блока приводится от барабана цепной передачей. Привод навесного оборудования подъемника осуществляется от тягового двигателя трактора через коробку отбора мощности КОМ-ЧТЗ, карданный вал и коробку передач КП-100.
Техническая характеристика лебедки ЛПТ-8
Таблица 8
| Вкл. передача | Частота вращ. барабана n, мин- | Скор-ть набегания каната на барабан, м/с | Тяговое усилие на ходовом конце каната, кН | Оснастка талевой системы | |||
| 2´3 (четырех струнная) | 3´4 (шестиструнная) | ||||||
| Скорость подъема крюка, м/с | Грузоподъемность на крюке, т | Скорость подъема крюка, м/с | Грузоподъем-ность на крюке, т | ||||
| Прямая | |||||||
| 1 | 44.6 | 1.13 | 84.0 | 0.28 | 32.3 | 0.19 | 47.5 |
| 2 | 75.8 | 1.92 | 49.4 | 0.48 | 18.8 | 0.32 | 27.6 |
| 3 | 124.2 | 3.15 | 30.1 | 0.81 | 11.5 | 0.54 | 16.8 |
| 4 | 211.0 | 5.35 | 17.7 | 1.34 | 6.7 | 0.89 | 9.9 |
| Обратная | |||||||
| 1 | 75.8 | 1.92 | — | 0.43 | — | 0.29 | — |
| 2 | 211.0 | 5.35 | — | 1.20 | — | 1.80 | — |
| Техническая характеристика: | |
| Тяговое усилие на втором ряде намотки каната диаметром 22.5 мм на барабане, кН | 84 |
| Лебедка | однобарабанная |
| Емкость барабана при намотке, м: | |
| каната диаметром 13 мм | 2300 |
| каната диаметром 15 мм | 2000 |
| Управление тормозом | ручное, механическое и ножное пневматическое |
| Электрооборудование: | |
| напряжение, В | 12 |
| питание основное | от генератора трактора через аккумуляторную батарею |
| дублирующее | от промысловлой сети через выпрямительное устройство |
| Габариты, мм | 6430´2550´3087 |
| Масса полного комплекта, кг | 18600 |
| Удельное давление на грунт, МПа | 0.076 |
К подъемным установкам типа УПТ относятся: УПТ-32, УПТ1-50, УПТ1-50Б, предназначенные для спуско-подъемных операций в процессе текущего и капитального ремонта нефтяных и газовых скважин.
Техническая характеристика подъемных установок типа УПТ
Таблица 9
| Показатели | УПТ-32 | УПТ1-50 | УПТ1-50Б |
| Монтажная база трактора, тип | Т-130МГ | Т-130МГ | Т-130МБГ |
| Глубина обслуживания, м | 2400 | 3500 | 3500 |
| Максимальная длина поднимаемой трубы, м | 12.5 | 12.5 | 12.5 |
| Мощность привода, кВт | — | 88 | 88 |
Установки самоходные, смонтированные на гусеничных тракторах. Состоят из следующих основных узлов: однобарабанной лебедки, установленной на специальном основании под оборудование, вышки с талевой системой, задней и передней опор вышки, кабины водителя.
Установки укомплектованы механизмами для свинчивания-развинчивания труб; оснащены устройством противозатаскивания крюкоблока и взрывобезопасной системой освещения рабочей площадки на устье скважины и пути движения крюкоблока.
В отличие от УПТ-32, установки УПТ 1-50-и УПТ-50В снабжены узлом привода ротора, а также укомплектованы гидрораскрепителем.
Привод лебёдки и других механизмов УПТ-32 — от двигателя трактора; подъем вышки и механизма для свинчивания-развинчивания труб — гидравлический; включение фрикционных муфт — пневматическое.
Привод исполнительных узлов и механизмов УПТ1-50 (рисунок 43) и УПТ1-50Б — от двигателя трактора; лебедки и ротора — через трансмиссию; подъем вышки, привод гидрораскрепителя и механизм для свинчивания-развинчивания труб гидравлические; включение фрикционных муфт — пневматическое.

Рисунок 43 — Подъемная установка УПТ1-50
1 — коробка передач; 2 — однобарабанная лебедка; 3 — компрессор воздуха; 4 — передняя опора вышки; 5 — фара; 6 — вышка с талевой системой; 7 — управление; 8 — кабина машиниста; 9 — гидродомкрат; 10 — задняя опора
вышки.
Подъемные установки типа АзИНмаш-37 (рисунок 44) предназначены для спуско‑подъемных операций с укладкой труб и штанг на мостки при текущем и капитальном ремонте нефтяных и газовых скважин, не оборудованных вышечными сооружениями.
Подъемные установки этого типа подразделяются — на АзИНмаш-37А, АзИНмаш-37А1, АзИНмаш-37Б, смонтированные на базе автомобилей повышенной проходимости КрАЗ-255Б и КрАЗ-260.
Подъемные установки АзИНмаш-37А и АзИНмаш1-37А1 комплектуются автоматами АПР для свинчивания и развинчивания насосно-компрессорных труб и автоматическим ключом типа КШЭ с электроприводом для свинчивания насосных штанг.
Подъемные установки оснащены ограничителем подъема крюкоблока, системой звуковой и световой сигнализации установки вышки, контрольно-измерительными приборами работы двигателя и пневмосистемы, а также другими системами блокировки, обеспечивающими безопасность ведения работ при монтаже установки вблизи скважины и спуско-подъемных операциях.

Рисунок 44 — Подъемная установка АзИНмаш-37
1 — талевая система; 2 — вышка; 3 — силовая передача; 4 — передняя опора; 5 — кабина оператора; 6 — лебедка; 7 — гидроцилиндр подъема вышки; 8 — задняя опора.
Управление всеми механизмами установки при спуско-подъемных операциях осуществляется из трехместной отапливаемой кабины оператора, расположенной между лебедкой и кабиной автомобиля. Управление установкой вышки, в рабочее и транспортное положения, осуществляется дистанционно — с ручного выносного пульта.
Техническая характеристика установок типа АзИНмаш-37
Таблица 10
| Показатели | АзИНмаш-37А | АзИНмаш-37А1 | АзИНмаш-37Б |
| Монтажная база | КрАЗ-255Б | КрАЗ-260 | КрАЗ-260 |
| Грузоподъемность, т | 32 | 32 | 32 |
| Вышка: | |||
| Высота от земли до оси кронблока, м | 18 | 18 | 18 |
| Допустимая длина поднимаемой трубы, м | 12.5 | 12.5 | 12.5 |
| Габариты установки (в транспортном положении), мм | 10050´2750´4300 | 10320´2750´4300 | 10470´2750´4300 |
| Масса установки, кг | 19600 | 21135 | 20630 |
Подъемная установка АзИНмаш-37Б в отличие от АзИНмаш-37А и АзИНмаш-37А1 оснащена спайдером СГ-32 и манипулятором МТ-З с гидравлическим дистанционным управлением для свинчивания и развинчивания НКТ.
Установки АзИНмаш-37А1 и АзИНмаш-37Б смонтированы на шасси автомобиля КрАЗ-260 с относительно повышенной грузоподъемностью и мощностью двигателя и обладают высокими скоростями подъема крюка.
Лебедка с приводом от двигателя автомобиля оснащена однодисковой фрикционной муфтой.

Рисунок 45 — Агрегат подъемный АПРС-32
Агрегаты подъёмные АПРС-32 (рисунок 45) (АПРС-32-01, .АПРС-32-02) предназначены:
· для производства спуско-подъемных операций при ремонте скважин, не оборудованных вышечными сооружениями;
· для свинчивания и развинчивания насосно-компрессорных труб и глубинно-насосных штанг;
· для производства тартальных работ;
· для чистки песчаных пробок желонкой;
· для возбуждения скважин поршневанием (свабированием).
| Техническая характеристика: | АПРС-32 | АПРС-32-01 | АПРС-32-02 |
| Монтажная база | шасси КрАЗ-255 | шасси КрАЗ-260 | УраЛ-4320 |
| Грузоподъемность на крюке, т | 32 | ||
| Высота подъема крюка, м | 14 |
Работоспособность агрегата обеспечивается в районах с умеренным и холодным климатом при температуре окружающего воздуха от минус 45 °С до плюс 40 °С.
Агрегат подъемный для ремонта скважин АПРС-40 (рисунок 46) предназначен для производства спуско-подъемных операций при ремонте скважин, необорудованных вышечными сооружениями, для производства тартальных работ, для чистки песчаных пробок желонкой и для возбуждения скважин поршневанием (свабированием). Кроме того, с его помощью промывочным агрегатом и ротором с индивидуальным приводом можно проводить промывку скважин и разбурибание песчаных пробок.

Рисунок 46 — Агрегат подъемный для ремонта скважин АПРС-40
Агрегат является самоходной нефтепромысловой машиной, смонтированной на шасси трехосного автомобиля высокой проходимости УРАЛ‑4320 или КрАЗ-260, и состоит из однобарабанной лебедки и двухсекционной телескопической вышки с талевой системой.
Вышка агрегата имеет повышенную прочность, изготовляется из низколегированной морозостойкой стали.
Кабина машиниста имеет улучшенную теплоизоляцию.
| Основные технические данные: | |
| Монтажная база | шасси автомобиля Урал-4320 или КрАЗ-260 |
| Максимальная грузоподъемность на крюке, т | 40 |
| Высота подъема крюка, м | 14 |
| Лебедка | однобарабанная с приводом от коробки передач шасси |
| Вышка | телескопическая двухсекционная с открытой передней гранью |
Агрегат для освоения и ремонта скважин А-50М (рисунок 46) предназначен для:
· разбуривания цементной пробки в трубах диаметром 5 - 6 дюймов и связанных с этим процессом операций (спуска и подъема бурильных труб, промывки скважин и т.д.);
· спуска и подъема насосно-компрессорных труб;
· установки эксплуатационного оборудования на устье скважин;
· проведения ремонтных работ и работ по ликвидации аварии;
· проведения буровых работ.

Рисунок 47 — Агрегат А-50М
1 — передняя опора; 2 — средняя опора; 3 — электролебедка; 4 — компрессорная установка; 5 — гидросистема; 6 — лебедка; 7 — домкрат; 8 — индикатор веса; 9 — талевый канат; 10 — талевый блок; 11 — подвеска ключей; 12 — подвеска бурового рукава; 13 — вертлюг; 14 — мачта; 15 — домкратная штанга; 16 — пневмоуправление; 17 — гидроротор; 18 — домкрат; 19 — зубчатая муфта; 20 — редуктор; 21 — карданный вал; 22 — рама; 23 — коробка отбора мощности; 24 — силовые оттяжки; 25 — манифольд; 26 — промывочный насос; 27, 28 — карданные валы; 29 — силовая передача; 30 — цепная передача; 31 — гидрораскрепитель; 32 — кожух; 33 — промежуточный вал; 34 — электрооборудование; 35 — площадка оператора; 36 — узел управления и освещения шасси.
| Техническая характеристика агрегата А-50М: | |
| Допустимая нагрузка, кН | 600 |
| Мощность привода, кВт | 132.4 |
| Максимальное тяговое усилие на набегающем конце каната, кН | 112 |
| Компрессор: | |
| Тип | М115-2В5 |
| Производительность, м3/мин | 0.6 |
| Давление нагнетания, МПа | до 10 |
| Промывочный насос: | |
| Тип | НБ-125 (9МГр-73) |
| Максимальное давление (при подаче 6,1 л/с), МПа | 16 |
| Максимальная подача (при давлении 6 МПа), л/с | 9.95 |
| Монтажная база — прицеп | 710Б или СМ-38326 |
| Масса насоса с прицепом, кг | 41444 |
| Габариты установки в транспортном положении, мм | 14000´2900´4300 |
| Масса установки без насосного прицепа, кг | 24000 |

Рисунок 48 — Высокомеханизированный комплекс КВМ-60 для ремонта скважин
Изготовитель: ВНИИнефтемаш, г. Москва
Высокомеханизированный комплекс КВМ-60 (рисунок 48) предназначен для капитального ремонта и освоения скважин глубиной до 3000 м, расположенных в кусте или отдельно. Комплекс позволяет также вести буровые работы на глубину до 2000 м.
| Техническая характеристика: | |
| Нагрузка на крюке, кН | |
| номинальная (при спуско-подъемных операциях без внешних оттяжек) | 600 |
| максимальная (при кратковременных нагружениях) | 800 |
| Привод механизмов | двигатель ЯМЗ-238 |
| Мощность привода, кВт | 200 |
| Высота мачты, м | 20 |
| Емкость трубохранилища (для НКТ-диаметром 73 мм), м | 3500 |
| Масса комплекса в целом, кг | 5200 |
Мобильная установка УПД-5М используется для:
· разрушения гидратных и парафиновых пробок;
· закачки в скважину технологических жидкостей;
· цементирования скважин в призабойной зоне;
· геофизических исследований.
Работы проводятся при герметизированном устье скважины (поставляется специальный превентор), что обеспечивает экологическую защиту окружающей среды.
УПД-5М представляет собой самоходную нефтепромысловую машину совместно с монтажной базой, включающей в себя барабан с укладчиком для намотки длинномерных труб, механизм подачи трубы в скважину, закрепленную на шасси автомобиля КаАЗ-65101/100, или каком-либо другом типе шасси, по желанию заказчика.
Привод всех механизмов установки осуществляется гидромоторами, для проведения вспомогательных работ имеется гидроманипулятор грузоподъемностью 300 кг.
Механизм подачи с помощью специального устройства механизма подъема и перемещения приподнимается над монтажной базой из транспортного положения и выдвигается над устьем скважины в рабочее положение.
| Характеристики установки УПД-5М: | |
| Установка УДЦ-5М ориентирована на шасси автомобиля | КРАЗ-250 |
| Тяговое усилие | 5000 кгс |
| Скорость спуска и подъема непрерывной трубы | 0 ¸ 0.2 м/с |
| Давление в трубе | 25 МПа |
| При наружном диаметре трубы 33-мм глубина спуска | до 1800 м |
| При наружном диаметре трубы 25 мм глубина спуска | до 2300 м |
Одной установкой можно восстановить 100 и более скважина год.
Конструкция установки позволяет переходить с одного диаметра трубы на другой без проведения дополнительных работ.
Изготовитель: Московский завод «Металлист».
Агрегат для ремонта скважин А2-32 смонтирован на базе шасси УРАЛ‑4320‑1912-30, а агрегат А4-32 на базе шасси КрАЗ-260Г.
Предназначены для производства спуско-подъемных операций при ремонте и эксплуатации скважин, не оборудованных вышечными сооружениями, для производства тартальных работ, для чистки песчаных пробок желонкой и для возбуждения скважин поршневанием.
Агрегат состоит из однобарабанной лебедки и двухсекционной телескопической вышки с талевой системой. За отдельную плату агрегат комплектуется механизмами для свинчивания и развинчивания насосно-компрессорных труб и насосных штанг.
Кабина управления снабжена независимым отопителем 0В-65. Подъем и опускание опор задней стойки производится гидроцилиндрами с выносного пульта управления.
| Техническая характеристика: | |
| Грузоподъемность, т | 32 |
| Лекция "26 Особенности европейской культуры XVIII века" также может быть Вам полезна. Высота подъема крюка, м | 12.2 |
| Скорость подъема крюка, м/с | 0.2 ¸ 1.6 |
Агрегат ремонтно-технологический АРТ-800 предназначен для ликвидации отложений и пробок в нефтяных и газоконденсатных скважинах при герметизированном устье с использованием непрерывной стальной трубы диаметром 26.8 и 33.5 мм при избыточном давлении на устье до 21 МПа.
Кроме того, отечественной промышленностью освоено производство агрегатов для капитального ремонта нефтяных и газовых скважин А60/80 максимальной грузоподъемностью 80 т на спецшасси Брянского автозавода; агрегатов для текущего ремонта нефтяных и газовых скважин АР 32/40 максимальной грузоподъемностью 40 т на спецшасси Уральского автозавода; агрегатов для бурения и ремонта скважин БР-125 грузоподъемностью 125 т, а также других агрегатов для ремонта скважин.





















