Глубинные автономные манометры
10. Глубинные автономные манометры
Так как условия, при которых проводятся измерения параметров в скважинах, существенно отличаются от условий работы измерительных приборов общепромышленного назначения, приборы для глубинных измерений следует рассматривать как отдельную группу средств измерительной техники.
Наиболее существенными являются следующие особенности работы глубинных приборов.
1. Измерения проводятся на значительном удалении от места наблюдения за показаниями приборов: глубина спуска прибора в скважину достигает 7000 м.
2. Прибор (снаряд) эксплуатируется в измеряемой, среде и подвергается действию окружающего давления, температуры и коррозионных жидкостей. В связи с увеличением глубин бурения, а также с необходимостью контроля различных процессов по интенсификации добычи нефти и газа, давление окружающей среды может достигать 1000—1500 кг×с/см2, а температура до 300—400° С.
3. Прибор спускается на проволоке или кабеле в затрубное пространство или в трубы диаметром 37—63 мм.
4. При спуске прибора в скважину через трубы на него действует выталкивающая сила тем большая, чем выше скорость встречного потока жидкости или газа и меньше проходное сечение между внутренней стенкой трубы и корпусом прибора. В отдельных случаях спуск глубинного прибора в действующие скважины представляет сложную техническую задачу.
5. Во время спуска и подъема прибор подвергается ударам, а во время работы, например, в скважине, оборудованной установками погружных электронасосов, и действию вибрационных нагрузок.
6. Время пребывания прибора в месте измерения в зависимости от вида проводимых исследований и способа эксплуатации скважин составляет от нескольких часов до нескольких месяцев.
7. Среда, в которой находится прибор, как правило, представляет собою многофазную жидкость, содержащую нефть, газ, воду и механические включения (песок, шлам и т. д.) с различными физико-химическими свойствами (плотность, вязкость, наличие солей и т. д.).
Рекомендуемые материалы
В соответствии с указанными выше особыми условиями работы к конструкции глубинных приборов предъявляется ряд требований. Вследствие воздействия на них встречного потока жидкости или газа и необходимости спуска в геометрически ограниченное пространство наружный диаметр корпуса приборов в основном не должен превышать 32—36 мм, а при спуске через 37-мм трубы или в затрубное пространство — 20—25 мм. Длина его также ограничена: обычно не превышает 2000 мм, так как увеличение ее сверх этого предела значительно осложняет операции, связанные с подготовкой прибора к спуску в фонтанные скважины.
Кроме того, должна быть обеспечена полная герметичность внутренней полости прибора от внешнего давления. Особые требования предъявляются также к устройствам, расположенным в глубинном приборе и эксплуатируемым в условиях повышенной температуры, ударов и вибраций.
По способу получения измерительной информации глубинные приборы делятся на:
а) автономные, результаты измерения которых можно получить только после извлечения их из скважины;
б) дистанционные, обеспечивающие передачу сигнала измерительной информации по кабелю.
Класс точности приборов обозначается числом, совпадающим со значением допускаемой погрешности.
Например: Манометр имеет класс точности 0,5 это значит, что его допускаемая погрешность равна 0,5% от предела измерения. Т.е. если манометр имеет предел измерения 30 МПа, то погрешность прибора не должна превышать ± 0,15 МПа.
Для регистрации изменения давления и температуры в процессе исследования скважин глубинные манометры и термометры снабжаются специальными часовыми приводами. Краткая техническая характеристика часовых приводов, применяемых в автономных приборах, приведены в табл. 10.1.
Таблица 10.1
Основные характеристики часовых приводов
| Показатель | МПЧ-0,125 | МПЧ-0,25 | МПЧ-0,5 | МПЧ-1 | МПЧ-2 | |||
| Продолжительность хода от одной заводки, ч | 2 | 4 | 8 | 16 | 32 | |||
| Продолжительность одного оборота вала, ч (мин) | 0,125(7,5) | 0,25(15) | 0,5(30) | 1(60) | 2(120) | |||
| Момент на валу, Н×см | 2,0 | 2,0 | 2,0 | 2,5 | 2,5 | |||
| Диапазон рабочей темпера-туры, °С | От –10 до + 160°С | |||||||
| Габариты, мм | Æ22 | |||||||
| | Часовые приводы состоят из пружинного двигателя, редуктора и регулятора хода (рис. 10.1).Двигатель имеет заводные спиральные пружины 2, создающие крутящий момент на выходном валу 1. Этот момент расходуется на перемещение диаграммного бланка и на поддержание колебаний регулятора хода с целью обеспечения равномерности вращения выходного вала. Момент от двигателя к регулятору хода передается через понижающий редуктор с храповиком 3. Для преобразования вращательного движения выходного вала редуктора в колебания баланса 5 служат анкерная вилка 7 и колесо хода 4. Период колебаний баланса (время одного колебания) регулируется спиральной пружиной—волоском 6. Частота вращения выходного вала часового привода зависит от передаточного отношения редуктора и периода колебаний баланса, а точность хода (постоянство скорости)—от стабильности периода колебаний. Механизм часовых приводов помещен в корпус 8 (металлическую трубу с отверстиями для осмотра и проверки взаимодействия деталей), на который надевается защитный кожух 9, предохраняющий механизм от загрязнения. Разработаны также механизмы часовых приводов с продолжительностью хода от одной заводки 64, 128 и 256 ч. Их краткое обозначение обозначение соответственно: МПЧ4; МПЧ8 и МПЧ16. Длина часовых приводов составляет 830 мм при диаметре корпуса 22 мм. | |||||||
Выпускаемые промышленностью автономные (самопишущие) скважинные манометры и дифманометры, широко используемые для исследования добывающих и нагнетательных скважин, а также для испытаний с помощью трубных испытателей, по принципу действия подразделяются на:
а) геликсные;
б) пружинно-поршневые;
в) компенсационные.
10.1 Геликсные манометры:
Выпускаемые промышленностью автономные (самопишущие) скважинные манометры широко используют для исследования добывающих и нагнетательных скважин, а также для испытаний с помощью трубных испытателей пластов.
Манометр типа МГН-2 с многовитковой трубчатой пружиной, принципиальная схема которого приведена на рис. 10.2, а, предназначен для измерения давления в добывающих скважинах.
|
Рис. 10.2 Схема глубинного геликсного манометра типа МГН-2 (МГИ-1М) |
Рис. 10.3. Геликсный манометр типа МГТ-1 |
Давление в скважине через отверстие в корпусе 9 передается жидкости заполняющей внутреннюю полость разделительного и манометрической трубчатой пружине (геликсу) 8. Под действием измеряемого давления свободный конец геликса поворачивает ось 7, на которой жестко крепится пластинчатая пружина с пишущим пером 6. Перо чертит на бланке, вставленном в каретку 5, линию, длина которой пропорциональна измеренному давлению.
Для получения непрерывной записи давления каретка соединяется с гайкой 2, которая перемещается поступательно по направляющей 3 при вращении ходового винта 4. Равномерное вращение винта осуществляется с помощью часового привода 1.
Манометр МГИ-1М предназначен для работы в трубных испытателях пластов. Регистрация изменения давления начинается только после того, как испытательный инструмент спущен на заданную глубину. Для включения часового привода применяется гидровключатель (рис. 10.2, б), состоящий из сильфона 1, уплотненного поршня 2 и подпружиненного штока 4 с нанесенными на нем делениями. Изменение начального натяга пружины 3 производится с помощью гайки 5.
Перед спуском приборов в скважину баланс 10 часового привода 11 тормозится пластинчатой пружиной 9, закрепленной на подпружиненной втулке 8, которая, в свою очередь, удерживается защелкой 7. После спуска прибора на заданную глубину усилие предварительного натяга пружины 3 и усилие, действующее на уплотненный поршень 2, в результате воздействия давления в скважине уравновешиваются. Во время дальнейшего спуска прибора поршень начинает перемещаться и толкатель 6 утапливает защелку 7. При этом втулка 8 перемещается вверх и пружина 9 освобождает баланс часового привода. Использование регулируемых гидровключателей обеспечивает регистрацию изменения давления по всей длине бланка в большом масштабе времени за счет выключения часового привода в период сборки испытателя пластов и спуска его на забой. Для получения полной картины изменения давления в процессе испытания пластов применяют манометр МГИ-3, ходовой винт которого имеет два шага: мелкий вначале и более крупный на основной длине. Поэтому при спуске прибора изменение давления записывается на небольшом участке бланка, а кривые притока и восстановления давления регистрируются в большом масштабе по времени на основном участке диаграммного бланка.
Глубинный геликсный манометр МГТ-1 (рис.10.3) предназначен для контроля давления на забое скважин, в которые закачивается горячая вода или нагнетается влажный пар при температуре до 350 °С.
Измеряемое давление передается в полость геликсной пружины 2 через сетчатый фильтр 1. Регистрация показаний осуществляется пером 3 на бланке, вставленном в барабан 4, который соединен с рейкой 5. Положение барабана относительно пера фиксируется защелкой 6 и подпружиненной собачкой 9. При резком торможении или рывке прибора за проволоку грузы 8 перемещаются по инерции вниз и отводят собачку, освобождая рейку 5, которая вместе с барабаном под действием собственного веса перемещается также вниз на один шаг.
Дальнейшему перемещению рейки препятствует собачка 9, под действием пружины 7 возвращающаяся в исходное положение. При этом на бланке регистрируется давление, измеренное в момент рывка прибора. Всего в течение работы прибора можно зафиксировать 10—15 значений давления в произвольно выбранные моменты времени. Регистрирующее устройство получило название инерционного отметчика времени. Характеристика геликсных манометров приведена в табл. 10.2
Таблица 10.2
Основные характеристики геликсных манометров
| Показатель | МГН-2 | МГИ-1М | МГИ-3 | МГТ.1 |
| Верхний предел измерения давления, МПа Рабочая температура, °С Класс точности Длина записи давления, мм Длина записи времени, мм Габариты, мм: длина диаметр Масса, кг | 10; 16; 25; 100 100 0,6; 1,0 50 120 1700-1900 32-36 10 | 40; 60; 80 100 0,6—1,0 50 120 2000-2300 36 12 | 16; 25; 40; 60; 80; 100 160 0,25 90 190 1900 56 16,5 | 25 400 2,0 50 — 1700 32 8,0 |
На базе глубинных геликсных манометров типа МГН-2 и МГИ-1М разработан ряд унифицированных скважинных манометров типа МСУ с пределами измерения давления, равными 100—200 МПа, работоспособными при температуре до 250—400 °С. Характеристика унифицированных геликсных манометров приведена в табл. 10.3.
Таблица 10.3
Основные характеристики унифицированных геликсных манометров
Показатель | МСУ-1; МСУ-К-1 | МСУ-2; МСУ-К-2 | МСУ-3 |
| Верхний предел измерения давления, МПа | 10; 16; 25; 40; 60; 80; 100; 140; 160; 200 | 25 | |
| Класс точности: | 0,25 | 0,25 | — |
| по прямому ходу | |||
| с учетом прямого и обратного хода | 0,6; 1; 1,5 | 0,6; 1; 1,5 | 2 |
| Наибольшая рабочая температура, °С | 100; 160; 250 | 400 | |
| Габариты, мм: длина | 1770—1945 | 1815—1990 | 1700 |
| диаметр | 32; 36 | 32; 36 | 36 |
| Масса, кг (не более) | 11,5 | 11,7 | 10,7 |
| Примечания. 1. Манометры МСУ-1 и МСУ-К-1 предназначены для спуска в эксплуатационные скважины. 2. Манометры МСУ-2 и МСУ-К-2 с гидровключателем предназначены для установки в трубных испытателях пластов. 3. Манометры МСУ-3 с инерционным отметчиком времени предназначены для исследования паронагнетательных скважин. |
Манометры в антикоррозионном исполнении МСУ-К применяют для измерения давления в агрессивных средах, содержащих до 25 % сероводорода и углекислого газа. Длина записи давления у всех типов манометров составляет 50±5 мм, длина записи времени—120 мм.
10.2 Пружинно-поршневые манометры
Пружинно-поршневой манометр МПМ-4 предназначен для исследования скважин, оборудованных насосами, через затрубное пространство. Действие его основано на уравно-вешивании измеряемого давления силой натяжения винтовой цилиндрической пружины.
|
Рис. 10.4 Схемы манометров с вращающимся поршнем | Под влиянием скважинного давления р поршень 6 (рис. 10.4, а), уплотненный резиновым кольцом 7, деформирует винтовую цилиндрическую пружину 5 и перемещается на ход, пропорциональный измеренному давлению. Перемещение поршня регистрируется пишущим пером 8 на бланке, вставленном в барабан 9. Внутренняя полость маноблока, где размещена винтовая пружина, заполнена жидкостью и предохраняется от загрязнения разделителем 4. В конце хода поршень садится на упор во избежание поломки пружины при дальнейшем повышении давления. Для уменьшения трения в уплотнении поршня ему придается вращательное движение. В манометре МПМ-4 поршень жестко соединен с пишущим пером, а бланк установлен в неподвижном барабане. Вращение осуществляется с помощью электродвигателя 2, питаемого от батареи сухих элементов 1. Пишущее перо во время движения поршня чертит на диаграммном бланке винтовую линию. Для получения четкой картины изменения давления частота вращения поршня уменьшается с помощью понижающего редуктора 3. Такое же медленное вращение поршня можно обеспечить, если вместо электродвигателя с редуктором применить усиленный часовой привод. |
Однако при сравнительно небольшой частоте вращения поршня (0,1 об/мин) появляется так называемая динамическая погрешность, т. е. ошибка в процессе измерения. Поэтому манометр МПМ-4 целесообразно использовать для регистрации медленно меняющегося давления или поинтервального измерения установившихся давлений в скважине. Техническая характеристика манометра МПМ-4 приведена ниже.
Верхний предел измерения давления, МПа . . . . . . . . . . . . . . . . . . . . 12
Основная приведенная погрешность, % . . . . . . . . . . . . . . . . . . . . . . 0,6
Длина записи давления, мм . . . . . . . . . . . . . . . . . . . . . . . . . . . . .110
Рабочая температура, °С . . . . . . . . . . . . . . . . . . . . . . . . . . . . . . . 60
Габариты, мм:
длина . . . . . . . . . . . . . . . . . . . . . . . . . . . . . . . . . . . . . . . 1460
диаметр . . . . . . . . . . . . . . . . . . . . . . . . . . . . . . . . . . . . . . 25
Масса, кг . . . . . . . . . . . . . . . . . . . . . . . . . . . . . . . . . . . . . . . 4,0
Прецизионный пружинно-поршневой манометр МГН-1 (рис. 10.4, б) используют для определения давления при быстро протекающих процессах.
В этом приборе поршень вращается с частотой 10 об/мин, а пишущее перо, соединенное с поршнем посредством шарнира 12, перемещается поступательно. Поэтому измеренное давление регистрируется на бланке, вращаемом с помощью часового привода 13. Давление воздействует на полость манометра через лабиринтное уплотнение 10, внутри которого смонтирован уплотненный с двух сторон промежуточный вал 11, служащий для разгрузки электродвигателя от действия осевых сил.
Техническая характеристика манометра МГН-1 приведена ниже.
Верхний предел измерения давления, МПа . . . . . . . . . . . . . . . . 4; 6; 10; 16; 25; 30
Основная приведенная погрешность, % . . . . . . . . . . . . . . . . . . . . . . 0,1—0,25
Длина записи давления, мм . . . . . . . . . . . . . . . . . . . . . . . . . . .От +10 до +100
Рабочая температура, °С . . . . . . . . . . . . . . . . . . . . . . . . . . . . . . . . 100
10
Габариты, мм:
длина . . . . . . . . . . . . . . . . . . . . . . . . . . . . . . . . . . . . . . . . . 1800
диаметр . . . . . . . . . . . . . . . . . . . . . . . . . . . . . . . . . . . . . . . . . . 32
Масса, кг . . . . . . . . . . . . . . . . . . . . . . . . . . . . . . . . . . . . . . . . . . . 7,5
Примечание. Нижний предел измерения не должен превышать 10 % от верхнего.
10.3 Компенсационные манометры и дифманометры.
Автономные компенсационные манометры типа «Байкал-1» предназначены для измерения и регистрации небольших (до 2,5 МПа) давлений в скважинах.
Действие манометра основано на уравновешивании измеряемого давления натяжением винтовой цилиндрической пружины. В отличие от пружинно-поршневых манометров прямого действия (МПМ-4) трение в записывающем устройстве этого прибора не влияет на его погрешность и чувствительность, так как деформация чувствительного элемента служит только для замыкания электрической цепи питания электродвигателя, который перемещает пишущее перо на ход, пропорциональный измеренному давлению.
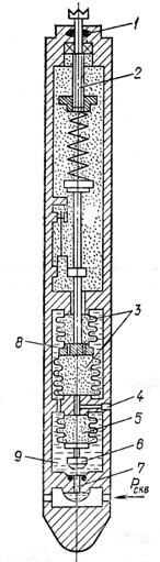
Конструктивно манометр «Байкал-1» (рис. 10.5) состоит из преобразователя давления I, регистрирующего устройства II и блока питания III.
В качестве чувствительного элемента использованы сильфоны 16 и 18 разного диаметра, имеющие общее дно 17, которое жестко соединено штоком 15 с винтовой цилиндрической пружиной 13. Второй конец пружины навинчен на якорь 12, выполненный в виде гайки, поступательно перемещающейся по ходовому винту 11, вращаемому с помощью электродвигателя постоянного тока 6. Вал электродвигателя одним концом соединен через понижающий редуктор с промежуточным винтом 9 и далее с основным винтом 11, а вторым концом также через понижающий редуктор — с винтом 5 регистрирующего устройства.
|
Рис. 10.5 Компенсационный манометр «Байкал-1» | |
Измеряемое давление через разделитель 19 воздействует на кольцевую площадь сильфона большего диаметра 18, в результате чего он деформируется и перемещает шток 16 с закрепленным на нем плечом пружинного контакта 14. При этом подвижной контакт замыкает электрическую цепь питания электродвигателя, вал которого приводит во вращение ходовые винты преобразователя давления и регистрирующего устройства. При вращении винта 11 гайка 12 деформирует пружину 13 до тех пор, пока ее натяжение не станет равным усилию, действу-ющему на сильфон 18. При равенстве усилий подвижной контакт вернется в нейтральное положение и разомкнет цепь питания электродвигателя. Частота вращения вала электродвига-теля, а следовательно, и деформация пружины будут пропорциональны измеренному давлению.
Одновременно пишущее перо 4 переместится по ходовому винту 5 на расстояние, также пропорциональное частоте вращения вала, а следовательно, измеренному давлению. Таким образом, на бланке, вставленном в барабан 3 часового привода 2, будет прочерчена линия, длина которой характеризует измеренное давление. С понижением давления подвижной контакт отклонится в другую сторону и вновь замкнет цепь электродвигателя, вал которого начнет вращаться в обратную сторону до тех пор, пока усилие, действующее на сильфон, не уравновесится натяжением пружины. В этот момент подвижной контакт снова переместится в нейтральное положение и разомкнет цепь питания электродвигателя.
Для предотвращения прибора от поломки при повышении давления служат микровыключатели 7, которые прерывают цепь питания электродвигателя в крайних положениях ползуна 8, перемещающегося по промежуточному винту 9. Электрическое питание двигателя осуществляется с помощью элементов 1, установленных в блоке питания I, а реверс двигателя - с помощью электронного переключателя 10, смонтированного в блоке электродвигателя.
Компенсационный скважинный дифманометр «Онега-1» предназначен для измерения и регистрации давления при исследовании скважин методами гидропрослушивания и восстановления давления.
Конструктивно прибор отличается от манометра «Байкал-1» наличием узла клапана, служащего для предотвращения поломки сильфонов при заполнении его сжатым газом. Преобразователь давления (рис. 10.6) через иглу 4 предварительно заполняется сжатым газом под давлением, примерно равным забойному давлению в скважине. Под действием этого давления сильфон 5 с клапаном 6 закрывает входное отверстие 7, отсекая жидкость, заполняющую камеры 8 и 9. Давление сжатого газа через сильфоны 3 передается находящейся в замкнутом объеме несжимаемой жидкости, что предохраняет эти сильфоны от разрушения. Ходовой винт 2 уплотнен сальником 1.
При спуске прибора в скважину клапан 6 открывается, когда забойное давление станет несколько большим давления сжатого газа. После открытия клапана прибор начинает регистрировать изменение забойного давления (разность между давлениями в скважине и давлением сжатого газа). При подъеме прибора клапан 6 закрывается и сжатый газ остается в полости преобразователя.
В таблице 10.4 приведена характеристика манометров «Байкал-1» и «Онега-1».Пределы измерения давления дифманометром «Онега-1» определяются только жесткостью винтовой цилиндрической пружины. Они не зависят от давления сжатого газа. Поэтому с его помощью можно проводить гидропрослушивание скважин, когда максимальные приращения забойного давления составляют порядка 0,5—2 % от начального значения.
Таблица 10.4
Характеристика манометров «Байкал-1» и «Онега-1»
| Показатель | «Байкал-1» | <0нега-1» |
| Верхний предел измерения давления, МПа | 0,4; 1,0; 1,6; 2,5 | 0,4; 1,0; 1,6; 2,5 |
| Максимальное статическое давление, МПа | 2,5 | 25 |
| Погрешность, % от верхнего предела измерения | 0,6; 1,0 | 1,0 |
| Порог чувствительности, МПа | 0,001—0,002 | 0,001—0,002 |
| Наибольшая рабочая температура, °С | 100 | 100 |
| Длина записи давления, мм | 125 | 125 |
| Габариты, мм: длина | 1900 | 2300 |
| диаметр | 36 | Если Вам понравилась эта лекция, то понравится и эта - 25 Россия в 1907-1914 году. 36 |
| Масса, кг | 8,0 | 10,0 |
| Примечaние. Погрешность приборов по прямому ходу (при монотонном изменении давления) не превышает 0,25 %. |
Продолжительность работы компенсационных приборов не зависит практически от времени их пребывания в скважине, так как в период, когда давление не изменяется, питание электродвигателя автоматически отключается.



232






















