Защита технических проемов
9. Защита технических проемов
в противопожарных преградах
В производственных и складских зданиях и сооружениях противопожарные стены могут иметь отверстия для пропуска различных конвейеров и технологических линий. Надежная защита проемов представляет сложную инженерную проблему.
Для защиты периодически используемых технологических проемов применяют противопожарные двери, ворота, люки, клапаны и тамбуры-шлюзы. Особую заботу вызывает защита проемов при пропуске через них различного рода конвейеров и технологических линий. Отверстия в стенах для пропуска конвейеров весьма значительны и часто служат причиной распространения пожара.
Проемы для транспортеров, перемещающих штучные крупногабаритные изделия, обычно защищают раздвижными заслонами (рис. 7.22.), способ самозакрывания которых аналогичен описанному выше для раздвижных противопожарных дверей. Поскольку заслоны не обеспечивают достаточно плотного перекрытия проема, их дополняют круговой водяной завесой.

Рис. 7.22. Раздвижные заслоны с водяной завесой.
Проемы для транспортеров, перемещающих сыпучие или штучные мелкоразмерные изделия, могут защищаться противопожарными клапанами зажимного типа НСЗ - 11АМ (рис 7.21.) (принцип действия и схема описана выше).
Среди устройств по защите в противопожарных преградах технологических проемов с транспортировкой через них сыпучих материалов следует отметить конструкцию пересыпа, предложенную Промзернопроектом (рис.7.23.) Конвейеры 1 и 8 располагаются по обе стороны противопожарной преграды 9. Пересыпание транспортируемого материала с одного конвейера на другой осуществляется самотеком по пересыпному коробу 10 и насыпному лотку 2. При расплавлении во время пожара замка 6 рычаг с грузом 4 освобождается от тросовой подвески 5 и поворачивает жестко закрепленный с ним на одном валу клапан 3. Сравнительно несложное конструктивное исполнение и высокая надежность устройства позволяют рекомендовать его во всех случаях для защиты технологических проемов при транспортировке сыпучих материалов.
Рекомендуемые материалыВариант 22 - ДЗ №2 - Защита от производственного шума FREE Лекции по БЖД на 49 страниц FREE Вариант 9 - ДЗ №1 - Шум FREE Юдин Е.Я. - Справочник проектировщика - Защита от шума FREE Защита от производственного шума Расчет искусственного освещения, Вариант 19 | Рис. 7.23. Пересып(конструкция Промземпроекта).1,8 - конвейер, 2 - насыпной лоток, 3 - клапан, 4 - рычаг с грузом, 5 - трос, 6 - легкоплавкий замок, 7 - предохранительная коробка, 9 - противопожарная преграда, 10 - пересыпной короб. |
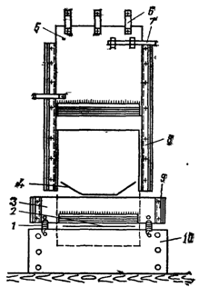
На действующих зерноскладах встречается защита проемов для пропуска конвейеров типа "Гильотина" разработанная Промзернопроектом.
| Конструкция противопожарного заслона зависит от количества транспортерных ветвей. При двух ветвях противопожарный заслон (рис. 7.24.) состоит из двух металлических полотен, заканчивающихся ножами. Верхний заслон 5 при работе транспортера находится в приподнятом состоянии над верхней транспортерной лентой 4 и удерживается тремя легкоплавкими предохранителями 6, выполненными из сплава Ньютона (олово - 26 %, висмут - 53 %, кадмий - 21 %), температура плавления которого 103 0С. Нижний заслон 3 приподнят над нижней транспортерной лентой 2 с помощью пружины 1, прикрепленной болтами к неподвижному 10 и нижнему 3 заслонам. |
Рис. 7.24. Противопожарный заслон "Гильотина". |
Верхний и нижний заслоны могут свободно перемещаться между направляющими планками 8 и 9. В избежании несчастного случая при осмотре или ремонте технологического оборудования противопожарный заслон имеет засов 7, который при ремонте выдвигается и предохраняет заслон от падения.
При возникновении пожара сплав Ньютона расплавляется, верхний заслон падает, перерубает ножом верхнюю конвейерную ленту. При этом пружина сжимается, и нижний заслон упирается в полотно неподвижного заслона. В результате проем оказывается перекрытым.
Чтобы одновременно с падением заслона произошла остановка двигателя конвейера, к полотну верхнего заслона прикрепляют специальную планку, которая при падении заслона ударяет по кнопке выключателя тока.
Следует отметить, что надежность такого противопожарного заслона невелика из-за его малого предела огнестойкости (0,25 ч) и из-за того, что при срабатывании "Гильотины" перерезание нижней ленты конвейера не происходит, и технологический проем перекрывает не плотно.
В случае, если по транспортеру перемещаются штучные материалы, для защиты проемов в противопожарных преградах может быть применена конструкция клапана для зажима лент транспортера, предложенные Промзернопроектом и Гипроторгом (рис. 7.25.).
При нормальной работе транспортера огнезадерживающий клапан 2 с помощью рычага 4 и троса 5 удерживается в горизонтальном положении между лентами. При освобождении удерживающего устройства рычаг с противовесом поворачивает полотнище клапана вокруг оси 3 в вертикальное положение. При этом клапан прижимает верхнюю ленту транспортера 6 к верхнему бруску рамы 1, а нижнюю 7 к нижнему, что создает плотность перекрытия проема.

Рис. 7.25. Зажимной клапан (конструкция Промзернопроекта)
1- рама клапана, 2 - клапан, 3 - ось клапана, 4 - противовес, 5 - трос,
6 - верхняя лента транспортера, 8 - легкоплавкий замок.
| При невозможности защиты в противопожарных стенах и перегородках проемов, необходимых для сообщения между смежными помещениями категорий В, Г и Д, предусматривают открытые тамбуры. Открытый тамбур представляет собой тоннель (без дверей или ворот) длиной не менее 4 м, оборудованный | Вам также может быть полезна лекция "1 Ядерное оружие". Рис. 7.26. Открытый тамбур с водяной завесой. |
установкой автоматического пожаротушения с расходом воды не менее 1 л/(м2с) пола тамбура (рис. 7.26.). Ограждающие конструкции тамбура выполняют противопожарными с пределом огнестойкости не менее 0,75 ч.
Для проемов в ограждающих конструкциях помещений с категориями А и Б, защита которых по условиям технологического процесса не может осуществляться тамбурами-шлюзами, предусматривают комплекс мероприятий по предотвращению распространения пожара и проникновению газо-, паро- и пылевоздушных смесей в смежные этажи и помещения. Эффективность этих мероприятий должна быть обоснована в технологической части проекта.
Во всех рассмотренных случаях минимальный предел огнестойкости клапанов и заслонов соответствует типу и виду противопожарной преграды, в которой предусматривают защиту технологического проема.


























