Системы технического водоснабжения промышленных объектов
I. СИСТЕМЫ ТЕХНИЧЕСКОГО ВОДОСНАБЖЕНИЯ ПРОМЫШЛЕННЫХ ОБЪЕКТОВ
I.I. Применение вода в промышленности
В подавляющем большинстве отраслей промышленности вода используется в технологических процессах производства. Требования к количеству и качеству подаваемой воды определяются характером технологического процесса. Выполнение этих требований системой водоснабжения обеспечивает нормальную работу предприятия и надлежающие качество выпускаемой продукции. Неудовлетворительное выполнение системой водоснабжения поставленных задач может привести не только к ухудшению качества продукции или удорожанию производства, но и в ряде случаев к порче оборудования и даже к опасным авариям.
Кроме воды для технологических нужд на каждом предприятии требуется вода для хозяйственно-питьевых нужд рабочих и служащих, а также для целей пожаротушения.
Основное назначение воды в производстве сводится к следующему. Вода может быть использована в качестве:
-теплоносителей при охлаждении продукта через стенку или при защите конструкций агрегата от разрушения (прогара). В обоих случаях вода в процессе ее использования лишь нагревается и практически не загрязняется (при исправных теплообменных аппаратах);
-среды, поглощающей и транспортирующей механические или растворенные примеси (при мойке, обогащении и очистке сырья или продукта). В процессе использования эта вода загрязняется механическими и растворенными примесями;
-растворителя реагентов, используемых при приготовлении сред для флотационного обогащения угля, руда, нерудных ископаемых; для приготовления растворов кислот, щелочей, солей и др.
Рекомендуемые материалы
-сырья или реагента в химических реакциях гидролиза присоединения и т.п.;
-рабочего тела для выработки пара и передачи тепловой энергии.
Наконец, вода может использоваться комплексно - быть средой, поглощающей и транспортирующей механические и растворенные примеси и одновременно служить теплоносителем (охладителем продукта), например, при мокрой очистке газов и т.п.
Система водоснабжения представляет собой комплекс сооружений для определенной группы потребителей воды в требуемых количествах и требуемого качества.
Система водоснабжения (населенного пункта или промышленного предприятия) должна обеспечивать получение воды из природных источников, ее очистку, если это вызывается требованиями предприятий и подачу к местам потребления. Для выполнения этих задач служат следующие сооружения, входящие обычно в состав системы водоснабжения:
- водоприемные сооружения, при помощи которых осуществляется прием воды из природных источников;
- водоподъемные сооружения, т.е. насосные станции, подающие воду к местам ее очистки, хранения или потребления;
- сооружения для охлаждения нагретых вод;
- сооружения для очистки воды;
- водоводы и водопроводные сети для транспортирования и подачи воды к местам ее потребления;
- башни и резервуары, играющие роль регулирующих и запасных емкостей в системе водоснабжения.
Системы водоснабжения могут быть классифицированы по ряду основных признаков.
По назначению различают системы водоснабжения населенных мест (городов, поселков); системы производственного водоснабжения, которые в свою очередь, различают по отраслям промышленности (тепловые станции, металлургические заводы, химические предприятия и т.д.); системы сельскохозяйственного водоснабжения.
По характеру используемых природных источников различают системы водоснабжения, получающие воду из поверхностных источников (речные, озерные и т.д.); системы, основанные на подземных водах (артезианские, родниковые и т.п.); системы смешанного питания - при использовании источников различных видов.
По способу подачи воды различают системы водоснабжения самотечные (гравитационные),системы с механической подачей воды (с помощью насосов), а также зонные системы водоснабжения, в которых вода подается в отдельные районы различными насосными станциями.
1.2. Схемы производственного водоснабжения
По характеру использования вода системы производственного водоснабжения подразделяют на системы с прямоточным, последовательным, оборотным и смешанным использованием воды. Последние включают прямоточное и последовательное или оборотное использование воды [1].
При прямоточном водоснабжении (рис.1.1,а; вся забираемая из водоема вода Qист после участия в технологическом процессе возвращается в водоем, за исключением того количества, которое безвозвратно расходуется в производстве Qпот. Количество отводимых в водоем сточных вод Qсбр составляет при этом

Сточные вода в зависимости от вида загрязнений, и других условий перед сбросом в водоем должны проходить через очистные сооружения. В этом случае количество сточных вод, сбрасываемых в водоем, уменьшается, поскольку часть воды отводится со шлаком, на величину Qшл.
При последовательном водоснабжении (рис.1.1,6) вода, отработавшая в одном каком-либо производственном процессе или агрегате, передается для повторного использования в других производственных процессах и агрегатах без промежуточной обработки или охлаждения. После второго производства или агрегата отработавшая вода либо удаляется в водоем, либо передается для дальнейшего использования. Количество сбрасываемых сточных вод уменьшается в соответствии с потерями на всех производствах и на очистных сооружениях, т.е.

Повторное использование сточных вод после соответствующей их очистки получило в настоящее время широкое распространение. В ряде отраслей промышленности (черной металлургии, нефтеперерабатывающей) 90-95% сточных вод используются в системах оборотного водоснабжения и лишь 5-10% сбрасывается в водоем.
Если в системе оборотного водоснабжения промышленного предприятия вода является теплоносителем и в процессе использования только нагревается, то перед повторным применением ее предварительно охлаждают в пруду, брызгальном бассейне, градирне (рис.1.2,а); если вода служит средой, поглощающей и транспортирующей механические и растворимые примеси, и в процессе использования загрязняется ими, то перед повторным применением сточная вода проходит обработку на очистных сооружениях (рис.1.2,б); при комплексном использовании сточные воды перед повторным применением подвергаются очистке и охлаждению (рис.1.2,в).

Рис.1.1. Схемы водообеспечения промышленных предприятий
I - вода свежая, чистая, ненагретая; 2 - сточная вода, нагретая; 3-то же .нагретая и загрязненная; 4 - то же, очищенная; ПП, ПП-1 и ПП-2 - промышленные предприятия; ОС - очистные сооружения; Qист -вода, подаваемая из источника на производственные нужды; Qпот1 и Qпот2 - вода безвозвратно потребляемая на промпредприятиях; Qшл – вода, удаляемая со шламом; Qсбр - вода, сбрасываемая в водоем.

Рис.1.2 Схемы оборотного водоснабжения промышленных предприятий
а - с охлаждением сточных вод; б - с очисткой сточных вод; в - с очисткой и охлаждением сточных вод; I - вода свежая, чистая, ненагретая; 2 - сточная вода, нагретая; 3 -то же, ненагретая и загрязненная; 4 - то же, очищенная; 5 - сточная вода, загрязненная; 6 - оборотная вода; ОУ - охладительные установки; Q - вода, подаваемая на производственные нужды; Qоб - оборотная вода; Qун - вода, теряемая на испарение и унос из охладительных установок. Остальные обозначения те же, что и на рис.1.1.
При таких системах оборотного водоснабжения для компенсации безвозвратных потерь воды в производстве на охладительных установках (испарение с поверхности, унос ветром, разбрызгивание), на очистных сооружениях, а также потерь воды, сбрасываемой в канализацию, осуществляется подпитка из водоемов и других источников водоснабжения. Количество подпиточной воды определяется по формуле

Подпитка систем оборотного водоснабжения может осуществляться постоянно и периодически. Общее количество добавляемой воды составляет 5—10% общего количества воды, циркулирующей в системе.
Следует отметить, что приведенные выше схемы прямоточного и оборотного водоснабжения промышленных предприятий (см. рис. I.I и 1.2) носят общий характер. В практике часто встречаются комбинированные системы водоснабжения и водоотведения с различными схемами в зависимости от специфики производства, местных условий, напряженности водного баланса и др.
1.3. Баланс воды в системе оборотного водоснабжения
Количество воды в системе оборотного водоснабжения поддерживается постоянным. Убыль воды из системы возмещается подпиточной водой. Статьи прихода и расхода воды в системе оборотного водоснабжения в общем виде приведены в табл.1.1 (применительно к схемам на рис.1.2) [2].
Безвозвратное потребление и потери воды в производстве в местах ее использования равны количеству воды, уносимой с продуктами и с отходами, определяемыми технологическими расчетами.
То же, на полив полов, проездов и насаждений (по СНиП 2.04.03-85).

Потери воды на испарение при ее охлаждении, Qисп.охл. когда вода в системе используется в качестве теплоносителя, могут быть определены из теплового расчета охладителя, а при отсутствии расчета - с достаточным приближением по формуле

где С1 - коэффициент потери воды на испарение;
t - разность температур отработавшей воды, поступающей на охладитель (пруд, брызгальный бассейн или градирню) и воды охлажденной, подаваемой потребителю, °С; Qохл- количество воды, отводимой от производства на охлаждение, в м3/ч (при охлаждении в закрытых теплообменных аппаратах можно считать (Qохл = Qисп).
Для градирен и брызгальннх бассейнов значения коэффициента C1 принимают в зависимости от температуры воздуха:

Для прудов-охладителей, прудов-осветлителей оборотной воды и естественных водоемов в зависимости от естественной температуры воды в водоеме:

Для открытых рекуперативных теплообменных аппаратов оросительного типа потери воды на испарение увеличиваются вдвое и формула (1.4) принимает вид

Потери воды в пруде-охладителе или пруде-осветлителе оборотной воды, а также в естественном водоеме, принимающем нагретую воду, могут быть вычислены по формуле (1.5) с коэффициентом С1 , который принимается в зависимости от естественной температуры воды в этом водоеме.
Потери воды на унос ее из системы ветром в виде капель (если вода в системе используется в качестве теплоносителя). Эти потери зависят от типа,конструкции и размеров охладителя, а для открытых охладителей - и от скорости ветра и др.
Величина потерь на унос Qун из охладителя оборотной воды может быть определена по формуле

где С2 - коэффициент потерь воды на унос, равный для брызгальных бассейнов 0,015-0,002; для брызгальных градирен и открытых градирен с простыми жалюзями - 0,01-0,015; для открытых капельных градирен с решетками и для башенных градирен без водоуловителей -0,005-0,01 и с водоуловителями - 0,003-0,005; для вентиляторных градирен с однорядными водоуловителями 0,003-0,005 и с двухрядными водоуловителями - 0,0015-0,003 (меньшее значение - для охладителей большей производительности).
При наличии в производстве открытых рекуперативных теплообменных аппаратов оросительного типа (оросительных холодильников) добавляются потери на унос воды ветром с этих теплообменных аппаратов. Величина потерь на унос вода из оросительных холодильников может быть вычислена как

где С3 - коэффициент потерь воды на унос из оросительных холодильников, может быть принят равным 0,005-0,01; Qоб - количество оборотной воды, м3/ч.
Потери воды на естественное испарение с водной поверхности пруда-осветлителя и охладителя воды Qисп.ест , а также на поглощение воды из него растительностью Qпогл следует определять по инструкции [3].
Дополнительные потери воды на фильтрацию Qф имеют место в таких сооружениях, как пруд-охладитель или пруд-осветлитель, применяемых при охлаждении оборотной воды или при использовании вода на нужды обогащения ископаемых и т.п. Эти потери определяют расчетом и замером, они могут быть незначительны при водонепроницаемых основаниях и слабофильтрущих ограждениях (дамбах) и наоборот.
Потери воды на водоочистных сооружениях (если вода используется как среда, поглощающая и транспортирующая механические примеси) с удаляемым осадком Qшл определяется замером объема удаляемого осадка за время
с учетом его влажности. Эти потери невелики и в большинстве случаев ими можно пренебречь.
Указанные выше безвозвратное потребление и потери воды из системы оборотного водоснабжения могут быть названы производственными Qпр.пот.
Для соблюдения водного баланса
Qпоступл =
Qубыль в системе оборотного водоснабжения указанные потери покрываются таким же количеством воды, добавляемой в систему

Часть воды из данной системы оборотного водоснабжения может намеренно сбрасываться в количестве Qcбp , м3/ч, с заменой ее свежей водой из источника в том же количестве Qист = Qсбр с целью освежения оборотной воды. Тогда количество воды, добавляемой в систему из источника,

1.4. Требования к качеству и свойствам воды в системах оборотного водоснабжения
Требования к качеству и свойствам воды, подаваемой для производственных целей, устанавливают в каждом конкретном случае в зависимости от применяемых в технологии оборудования, сырья и материалов. Общими являются следующие требования к технической воде [4].
I. В открытых системах вода должна быть безвредной для здоровья обслуживающего персонала и не обладать отрицательными органолептическими свойствами. Поэтому содержание в I л воды кишечных палочек не должно превышать 1000.
2. Техническая вода может использоваться только для охлаждения машин и агрегатов или продукта через стенку по схеме, приведенной на рис.1.2,а. Температура воды не должна быть выше допустимой; так, для среднеевропейской полосы она должна быть ниже 28-30°С. Поэтому оборотную воду охлаждают в градирнях или других сооружениях.
3. Содержание взвешенных веществ крупностью до 0,05 мм в воде не должно превышать допустимых значений, зависящих от скорости воды в охлаждаемом оборудовании, приведенных в табл.1.2.

4. Оборотная вода, используемая для охлаждения, должна быть термостабильной, т.е. из нее не должно выделяться более 0,2 г/ (м ч) карбоната кальция СаСО2, других солей и механических примесей (слой отложений не более 0,08 мм в месяц). В противном случае вода должна предварительно обрабатываться.
5. Вода не должна вызывать точечной и язвенной коррозии, а также равномерной коррозии металла со скоростью, превышающей 0,09 г/(м2 ч) (слой до 0,1 мм в год) и разрушения бетона; допустима равномерная скорость коррозии углеродистой стали, не превышающая 0,45 г/(м2 ч), (слой до 0,5 мм в год) при отсутствии признаков точечной и язвенной коррозии. Следует выбирать стойкие материалы для оборудования, трубопроводов и сооружений, предусматривать их защиту покрытиями или производить соответствующую обработку воды.
6. Вода не должна способствовать развитию биологических обрастаний теплообменных аппаратов и охладителей оборотной воды со скоростью, большей 0,07 г /(м2 ч), (слой до 0,05 в месяц) по сухому весу в воздухе. При необходимости воду периодически обрабатывают хлором, а охладители воды - раствором медного купороса.
Вода, используемая для охлаждения оборудования и продукта в теплообменных аппаратах, относится к воде I категории . Вода II категории используется в качестве среды, поглощающей и транспортирующей примеси по схеме рис. 1.2,б при непосредственном контакте с продуктом (обогащение полезных ископаемых, гидрозолоудаление и др.). Она может содержать взвешенные вещества в концентрайии не более допустимой и крупностью не выше установленного предела во избежании осаждения их по пути движения воды. Норма допустимой концентрации взвешенных веществ в воде, подаваемой потребителям, устанавливается отдельно для каждого производства. Перед каждым циклом использования воды в системе оборотного водоснабжения эта вода должна быть очищена и, при необходимости, охлаждена. Вода III категории используется как среда, поглощающая и транспортирующая механические примеси и одновременно служащая охладителем продукта по схеме рис.1.2, в. В ней могут иметь место процессы растворения (выщелачивания) солей, органических веществ и газов. Количество и технологические свойства воды в таком случае должны отвечать требованиям, указанным выше для воды I и II категории.
Следует отметить, что качество и технологические свойства (термостабильность и коррозионность) воды, используемой для охлаждения или обогащения продукта при непосредственном контакте с ним, формируется в основном этим продуктом, а также условиями использования вода на качества и свойства природной воды практически не зависят.
Особо чистая вода используется для приготовления технологических производственных растворов. Она не должна содержать осаждающихся взвешенных и других веществ, вредных для производства или образующих с растворяемыми веществами вредные примеси.
Примерные общие требования к качеству пресных вод, используемых для охлаждения продукта и оборудования, очистки газов и обогащения полезных ископаемых, приведены в табл.1.3.
1.5. Критерии рациональности использования воды
Эффективность использования воды на промышленных предприятиях оценивается тремя показателями.
I. Техническое совершенство системы водоснабжения оценивается количеством использованной оборотной воды, %

где Qоб, Qист и Qс - количество воды, используемой соответственно в обороте, забираемой из источника и поступающей в систему с сырьем.
2. Рациональность использования воды, забираемой из источника, оценивается коэффициентом использования

3. Потери воды и безвозвратное потребление в системе оборотного водоснабжения, %, определяются по формуле

где Qпосл - количество воды, используемой в производстве последовательно.
1.6. Очистка и обработка воды систем оборотного водоснабжения
Необходимость очистки и обработки воды в системах оборотного водоснабжения определяется:
- требованиями, предъявляемыми потребителями к качеству и свойствам вода;
- данными лабораторных анализов природной и оборотной вода,'[ предназначенной к использованию;
- результатами исследования технологических свойств воды (термостабильность, биогенность и коррозионность), на модели или в производственных условиях;
- опытом эксплуатации аналогичных систем, использующих воду данного (или аналогичного) источника водоснабжения.
Чтобы правильно выбрать способ обработки загрязненной оборотной воды, необходимо знать стабильный состав воды по каждому загрязнители (или по сумме загрязнителей).
В общем случае такой состав можно установить на основании мгновенного материального баланса загрязнителей (обычно тех или иных солей при условии, что они не разлагаются и не кристаллизуются):

где dG - прирост количества соли или другого лимитирующего загрязнителя, или их суммы в течение бесконечно малого времени работы оборотной системы; с0 - концентрация соли в воде, добавляемой в систему; с - текущая (мгновенная) в каждый данный момент времени средняя концентрация соли в системе; Qисп - потери воды в единицу времени в оборотной системе на испарение (при этом концентрация соли в системе возрастает); Qун - потери в результате уноса и разбрызгивания; Qпрод - потери воды от продувки (сброса части воды из системы);
-количество воды, добавляемой в систему.
Таблица 1.3
Требования к качеству пресных вод, используемых для охлаждения очистки газов и обогащения полезных ископаемых

Определение концентрации с0 иногда затрудняется тем, что в систему часто добавляют (рис.1.3) не только воду из естественного источника Qист, но и сточные воды Qcт, часть продувочных и другие воды, содержащие тот же принятый для расчета загрязнитель

Рис.1.3
ПП - производство; ОУ - охладительные установки; ОС - очистные сооружения; НС - насосная станция; I - основной цикл водооборота с расходом воды d; 2 - встречающийся в практике вариант сброса загрязненных сточных вод Qст в оборотную систему; 3 - возможный цикл очистки и возврата воды продувки основного цикла
. Уравнение (I.I3) представляет собой баланс не только основного цикла I (рис.1.3 показан сплошными линиями) без возврата воды продувки этого цикла, причем
. В этом случае
и 
Количество соли в оборотной системе в любой момент времени составляет

где V- объем воды оборотной системы;
; Q – расход воды в оборотной системе; а - продолжительность так называемого полного оборота воды.
С учетом этих параметров уравнение (I.I3) можно привести к виду

откуда

Абсолютные величины потерь воды можно заменить относительными величинами (в долях)

Тогда

Для решения уравнения (I.I4) константу интегрирования определяют, исходя из граничного условия: с = с0 при
= 0. При замыкании системы водопользования изменение концентрации солей описывается уравнением

откуда при 

Таким образом, при известном значении спр (в соответствии с требованиями к качеству воды) и заданном значении с0 можно найти Р3 (а значит и Qпрод), если рассчитать величали Р1 и Р2. Основная задача заключается в том, чтобы довести до нулевого значения величину продувки Р3, правильно выбрав способ обработки (очистки) воды или ее части в оборотной системе.
Анализ уравнения (I.I5) показывает существенную зависимость времени достижения близкого к предельному значению, величины с от показателя а , т.е. от объема воды V, поэтому оборотные системы большого объема дозволяют позже, считая от момента замыкания цикла, начинать очистку добавляемой в систему воды. Так называемое среднее время пребывания солей в системе V/Qпрод при этом возрастает.
В соответствии с необходимостью повторного или многократного использования воды важное значение имеет умение оценить возможность применения продувочных вод данной оборотной системы в других производствах, для которых требования к качеству воды понижены. Иногда воду открытого (незамкнутого) использования после соответствующей обработки применяют в замкнутых системах промышленного водопотребления. В частности, очищенные и обезвреженные городские стоки широко применяют в таких системах. Создание замкнутого водоиспользования энономически целесообразно, поскольку вместо двух блоков очистки вода (в системах сточных вод и подготовки природных вод) можно использовать один.
I 7 Очистка оборотной воды от механический примесей
Механическая очистка применяется для выделения из оборотной воды нерастворимых минеральных и органических примесей.
Назначение механической очистки заключается в подготовке производственных сточных вод при необходимости к биологическому-физико-химическому и другому методу более глубокой очистки. Механическая очистка на современных очистных станциях состоит из процеживания через решетки, пескоулавливания, отстаивания и фильтрования. Типы и размеры этих сооружений зависят в основном от состава, свойств и расхода производственных сточных вод, а также методов их дальнейшей обработки.
Как правило, механическая очистка является предварительным, реже окончательным этапом для очистки производственных сточных вод. Она обеспечивает выделение взвешенных веществ из этих вод до 90-95% и снижение органических загрязнений (по показателю БПКполн) до 20-25%.
Повышение технологической эффективности сооружений механической очистки очень важно при создании замкнутых систем водоснабжения промышленных предприятий. Этому требованию удовлетворяют различные новые конструкции многополочных отстойников, сетчатых фильтров, фильтров с новыми видами зернистых и синтетических загрузок, гидроциклонов (напорных, безнапорных, многоярусных).
С целью обеспечения надежной работы сооружений механической очистки сточных вод, рекомендуется применять не менее двух рабочих единиц основного технологического назначения - решеток, песколовок, усреднителей, отстойников или фильтров.
В ряде случаев механическая очистка является единственным и доступным способом для извлечения из производственных сточных вод нерастворимых веществ и подготовки их к повторному использованию в системах оборотного водоснабжения.
Решетки. Барабанные сетки и микрофильтры
Решетки применяют для улавливания из сточных вод крупных, нерастворенных, плавающих загрязнений. Попадания таких отходов в последующие очистные сооружения может привести к засорению труб и каналов, поломке движущихся частей оборудования, т.е. к нарушению нормальной работы. Решетки изготовляют из круглых и прямоугольных стержней. Зазоры между ними равны 16-19 мм.
Решетки, подразделяют на подвижные и неподвижные; с механической или ручной очисткой; устанавливаемые вертикально или наклонно (как при самотечном, так и при напорном поступлении сточных вод).
Решетки, требующие ручной очистки, устанавливают в случае, если количество загрязнений не превышает 0,1 м3/рут. При большем количестве загрязнений устанавливают решетки с механическими граблями. Уловленные на решетках загрязнения измельчают в специальных дробилках и возвращают в поток воды перед решетками. Решетки размещают в отдельных помещениях, снабженных грузоподъемными приспособлениями.
Исходными данными для расчета решеток служат максимальный расход сточных вод (Qмах) и скорость движения воды в зазорах решеток, которую принимают равной v= 0,8-1,0 м/с. Исходя из этих же данных определяют суммарную площадь живого сечения решеток Fc, и, задаваясь числом решеток, - площадь одной решетки

Потери напора в решетках составляют

где
- коэффициент, равный 242 - для прямоугольных и 1,72 - для круглых стержней; S - толщина стержней решетки, мм; b - ширина зазоров решетки, мм;
- угол наклона решетки к горизонту;g - ускорение силы тяжести, м/с ; p- коэффициент, учитывающий увеличение потерь напора, вследствие засорения решетки; принимают p = 3.
Для задержания и измельчения загрязнений непосредственно в потоке сточной воды без извлечения их на поверхность применяют решетки - дробилки.
Барабанные сетки и микрофильтры используют для задержания грубодисперсных примесей в процессах процеживания сточных вод, содержащих не более 300 мг/л взвешенных частиц.
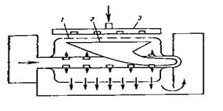
Основной частью этих сооружении является вращающийся барабан, обтянутый сеткой. Размеры ячеек барабанных сеток 0,3-0,8 мм, а микрофильтров 40-70 мкм. Барабан погружен в воду на глубину 0,6 – 0,85 от диаметра и вращается в камере со скоростью 0,1-0,5 м/с. Сточная вода поступает внутрь барабана (рис.1.4) и процеживается через сетчатую поверхность со скоростью 40-50 м3/(м2 ч).

Рис.1 ,.4.Схема микрофильтра
I - вращающийся барабан; 2 - лоток для сбора промывных вод; 3 - устройство для промывки
Задерживаемые сеткой примеси смываются с нее промывной водой под давлением 0,15-0,2 МПа и удаляются вместе с ней. Расход промывной воды составляет 1-2% от количества очищенной воды. Эффективность очистки воды на барабанных сетках 40-45 , а на микрофильтрах 40-60$.
Рабочую площадь сеток находят по формуле

при этом

где Q - расход сточной вода, м3/cут; К - коэффициент неравномерности подачи воды; vc - скорость движения вода в сетке; для плоских сеток vs= 0,2-0,4 м/с и для вращающихся vc=0,4-1,0 м/с; b - размер ячеек в свету, равный 0,5-5 мм;
- диаметр проволоке сетки, равный 0,3-2,0 мм; F1 - часть площади, занимаемой рамами и шарнирами; K2 - коэффициент загрязнения сетки, равный 1,2-1,8. Площадь фильтрующей поверхности микрофильтров равна

где
- время работы микрофильтра в течение суток, ч; vф - скорость фильтрования, принимают в пределах 20-29 м/ч;К1, К2 - коэффициенты; К1= 1,03; К2= 0,63.
Потери напора на чистой сетке рассчитывают по формуле

Технические характеристики микрофильтров и барабанных сеток даны в табл.1.4.
Таблица 1.4
Технические характеристики микрофильтров (Ш>М) и барабанных сеток (БС)

Очистка оборотной воды в отстойниках
Взвешенные примеси из оборотных вод выделяют обычно отстаиванием воды в бассейнах-отстойниках или прудах.
Пруд-осветлитель оборотной воды представляет собой водоем с большой площадью поверхности. Вода в нем протекает от места впуска к месту выпуска с очень малой скоростью, при которой воду можно принять за неподвижную.
Для очистки I м3/ч оборотной воды требуется активная площадь поверхности воды в пруде-осветлителе около 7-10 м с глубиной не менее I м до уровня осадка, исключая толщину льда в зимний период. При ограниченной площади пруд-осветлитель рассчитывается как горизонтальный отстойник.
Отстойники являются основными сооружениями механической очистки вод, используются для удаления грубодисперсных взвешенных веществ, при этом используют аппараты периодического или непрерывного действия. Отстойники периодического действия целесообразны при небольших объемах вод или при их периодическом поступлении. Обычно они представляют собой металлические или железобетонные резервуары с коническим днищем, из которых вода отбирается через сифон или специальные желоба. Осадок из таких отстойников удаляют чаще всего вручную. Размеры отстойников периодического действия определяются расходом сточной воды и гидродинамическими свойствами осаждаемой взвеси.
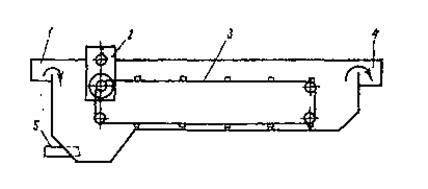
Горизонтальный прямоугольный отстойник представляет собой . бассейн, в котором очищаемая вода подводится к одной из его стенок, проходит вдоль отстойника до противоположной торцевой стенки и там отводится.
Горизонтальные отстойники применяют при расходах сточных вод более 15000 м3/сут. Глубина отстойников достигает 1,5-4 м, отношение длины к глубине составляет 8-12 (до 20). Ширина отстойника зависит от способа удаления осадка и обычно находится в пределах 6-9 м. По ширине отстойник делится на несколько коридоров. Отстойники оборудуют скребковыми механизмами тележечного или ленточного типа (рис.1.5), сдвигающими выпавший осадок в приямок. Объем приямка равен двухсуточному (не более) количеству выпавшего осадка. Из приямка осадки удаляют насосами, гидроэлеваторами или под гидростатическим давлением. Угол наклона стенок приямка принимают 50-60°
Поскольку осадок неравномерно распределялся по дну отстойника и скапливается в первой половине, ее размеры больше, чем второй половины. Это обеспечивается уклоном дна отстойника в сторону, противоположную направлению движения воды. Уклон днища отстойника к приямку составляет не менее 0,05%. Для равномерного распределения и отбора воды используют обычно дырчатые перегородки и дырчатые желоба слива осветленной воды, а для уменьшения зоны повышенной турбулентности, образующейся за дырчатой перегородкой в начале отстойника, экранируют выход из отверстий перегородки сферическим или коническим успокоителем.

Рис.1.5. Горизонталышй отстойник
I - водоподводящий лоток; 2 - привод скребкового механизма; 3- скребковый механизм; 4 - водоотводящий лоток; 5 - отвод осадка.
При расчете отстойников условно принимают, что вода движется с одинаковой скоростью во всех токах его поперечного сечения и что скорость осаждения частиц постоянна во все время их выпадения. Расчетная длина горизонтального отстойника L может быть определена по формуле

где v- скорость протекания воды в отстойнике м/с; uо- скорость осаждения взвешенных веществ, м/с (по данным опытов); H - глубина проточной части отстойника, м;
- поправочный коэффициент, учитывающий процессы, задерживающие осаждения взвешенных частиц, который принимают равным 1,2-1,5. Величина его зависит от отношения L/H и тем меньше, чем больше это отношение обычно принимают L равной не менее 10 Н.
Для очистки оборотной вода с высокой мутностью от мелкодисперсных взвешенных веществ в отстойниках предусматривают коагулирование воды.
Для очистки сточных оборотных вод применяемые горизонтальные отстойники можно разделить по двум основным признакам;
- по загрязненности и характеру механических примесей (легкие или тыжелые);
- по времени накапливания осадка, а также с непрерывным или периодическим его удалением.
Основные технические характеристики типовых горизонтальных отстойников со скребковым механизмом приведены в табл.1.5 [I].
Радиальный отстойник представляет собой круглый бассейн, в котором очищаемая от механических примесей вода движется от центра к периферии с постоянно уменьшающейся скоростью, но скорость осаждения взвешенных веществ, остается постоянной во все время их выпадения.
Радиальные отстойники применяют при расходах сточных вод более 20000 м3/сут. Эти отстойники по сравнению с горизонтальными имеют некоторые преимущества: простота и надежность эксплуатации, экономичность, возможность строительства сооружений большой производительности. Недостаток - наличие подвижной формы со скребками.
Применяют радиальные отстойники трех конструктивных модификаций - с центральным впуском, с периферийным впуском и с вращающимися сборно-распределительными устройствами. Наибольшее распространение получили отстойники с центральным впуском воды (рис.1.6).
Таблица 1.5
Технические характеристики типовых первичных горизонтальных отстойников


Рис.1.6. Радиальный отстойник
I - труба для подачи воды; 2 - скребки; 3 - распределительная чаша; 4 - водослив; 5 - отвод осадка
Вода поступает в центральную часть отстойника по трубе I, уложенной на неподвижной ферме, пройдя распределительное устройство 3, вода проходит по отстойнику в радиальном направлении и, осветленная, поступает в круговой лоток 4 и далее по трубопроводу к насосной станции оборотной воды. Распределительное устройство в радиальном отстойнике располагается в центре и выполняется в виде цилиндрической дырчатой трубы с окнами и решетками, с вертикальными прозорами для равномерного распределения воды всей площади и глубине отстойника. Выпавший на дно отстойник осадок сдвигается к центру скребками 2, прикрепленными к подвижной ферме. Ферма вращается вокруг центра по круговому рельсу, уложенному на борту отстойника. Осадок по шламовым всасывающим трубам 5, поступает к насосам, расположенным в здании шламовой насосной станции, которые перекачивают его по трубопровод в шламонакопитель. В подводящей трубе I установлена решетка. При работе радиального отстойника важно обеспечить равномерный отвод воды из отстойника, т.е. равномерный перелив ее в круговой лоток 4. Для этого устанавливают доску толщиной 20-25 мм, которую прикрепляют к первичному ребру лотка; кромка ее выравнивается в строго горизонтальном положении.
Площадь радиального отстойника F0 в плане определяется по формуле

где Q - расчетный расход сточных вод, м3 /ч; q - гидравлическая нагрузка, приходящейся на единицу площади зеркала воды в отстойнике, м3/ м2 .
Диаметр отстойника, м

Гидравлическая нагрузка не зависит от диаметра отстойника и для каждого вида и состава загрязнения оборотной воды не будет одинаковой; значение q зависит от гидравлической крупности взвешенных веществ и степени осветления воды, которая устанавливается на основании технологических анализов осветляемой воды. Гидравлическая нагрузка принимается обычно в пределах 1-3 м3/ч м2.
Площадь радиального отстойника можно также определить по наименьшей скорости осаждения взвешенных частиц u0

Диаметр отстойника в этом случае вычисляется из соотношения

Скорость u0 определяется по данным технологического анализа или эксплуатации радиальных отстойников, работающих в аналогичных условиях, и обычно u0= 0,4-1,5 мм/с. И, наконец, радиальные отстойники можно рассчитать по методу [5], в соответствии с которым радиус отстойника

где rв.з - радиус центральной вихревой зоны, в которой взвешенные частицы не осаждаются; rв.з зависит от конструкции водораспределительного устройства и принимается в пределах 3-5 м.
Радиальные отстойники изготовляют диаметром 5-60 м и более. Глубину отстойника Нст у стенки обычно принимают в пределах 1,5-2,5 м. Тогда глубина центральной части Н = Нст + iR , где i -уклон днища отстойника равный 0,02-0;04%.
Как показывает опыт эксплуатации радиальных отстойников в системах оборотного водоснабжения, их работа оценивается гидравлической нагрузкой q, м3/ч, приходящейся на 1 м площади зеркала воды в отстойнике, которая не зависит от его диаметра. Гидравлическая нагрузка для каждого вида и состава загрязнения оборотной воды не будет одинаковой. Значение q зависит от гидравлической крупности взвешенных веществ и степени осветления воды, которое устанавливается на основании технологических анализов осветляемой воды и принимается обычно в пределах 1-3 м3/ч с 1 м .
Основные размеры типовых радиальных отстойников указаны в табл. 1.6 [5]
Таблица 1.6
Технические характеристики типовых первичных радиальных отстойников с центральным впуском воды

Вертикальные отстойники применяют при очистке оборотных точных вод расходом до 20,000 м3/сут. Отстойник представляет собой круглый (иногда квадратный) в плане бассейн диаметром 4-9 м с коническим днищем. Наиболее распространены отстойники с впуском воды через центральную трубу с раструбом (рис.1.7). В этих отстойниках осветляемая вода движется вертикально - снизу вверх. Скорость движения воды в трубе I принимают равной до 30 мм/с. Расстояние между отражательным щитом 4 и раструбом выбирают таким, чтобы скорость поступления воды в отстойную зону 3 была не более 20 мм/с. Диаметр раструба трубы и его высоту рекомендуется принимать равными 1,35 диаметра центральной трубы, а диаметр отражательного щита -1,3 диаметра раструба. Осветленная вода отводится через сборный желоб 2; осадок скапливается в нижней конической части отстойника, откуда он периодически удаляется по трубе 5.

Рис.1.7. Вертикальный отстойник
I - центральная труба; 2 - водослив; 3 - отояэйная часть; 4 - отражательный щит; 5 - илопровод
Рис.1.8. Вертикальный отстойник с нисходяще-восходящим потоком
I- труба для подвода вода; 2 - приемная камера; 3 - воронка для удаления плавающих веществ; 4 - зубчатый водослив; 5 - распределительный лоток; 6 - лоток для сбора очищенной воды; 7 - кольцевая перегородка; 8 - отвод ила
Осаждение взвеси происходит во время восходящего движения воды в отстойнике. Характер движения частиц взвеси зависит от скорости движения воды
и скорости осаждения частиц u0 (в неподвижной воде). В вертикальных отстойниках обе скорости направлены вертикально, но в противоположные стороны. Задерживаться отстойникш будут частицы, имеющие скорость u0 >
. Теоретически предельной скоростью осаждения частиц, улавливаемых отстойником, будет скорость u0 =
.
Отстойники рассчитывают по заданному расходу сточных вод Q и времени отстаивания
, которое определяют на основании результатов опытов по отстаиванию данной или аналогичной сточной воды

где Vp- необходимый объем рабочей части отстойника, м3.
Высоту рабочей части отстойника Н, м, определяют из формулы

где
- скорость движения сточной воды в отстойнике, которую принимают в пределах 0,2-0,3 мм/с.
Площадь живого сечения

а диаметр отстойника

где
- площадь живого сечения центральной трубы;

у.тр- скорость движения воды в центральной трубе, принимаемой обычно не менее 30 мм/с.
Определив D0 и H подбирают соответствующий типовой отстойник (табл.1.7) [§].
Таблица 1.7
Размеры и производительность типовых вертикальных отстойников

Осветление оборотной воды в фильтрах
Наиболее полное освобождение воды от тонкодисперсных взвешенных веществ достигается фильтрованием ее через пористую среду (обычно песок), загруженную в резервуары фильтра. Фильтры могут применяться как вторая ступень очистки вода от взвешенных веществ (после отстойников или осветлителей со взвешенным осадком) или как самостоятельное вооружение в зависимости от мутности исходной воды и требований, предъявляемых потребителями. Для очистки сточных и оборотных вод, используемых на производственные цели, применяются только однолоточные фильтры с направлением движения вода сверху вниз или снизу вверх.
Работа фильтра характеризуется скоростью фильтрования, представляющая собой количество очищаемой вода за единицу времени на площадь поверхности фильтрующего слоя, скорость фильтрования выражается в м/ч (м3/ч на I м2).
Основным преимуществом фильтрования для очистки вода является его надежность и высокая эффективность по сравнению с другими процессами механической очистки. К основным недостаткам этого процесса следует отнести следующие: необходимость периодической регенерации фильтрующего слоя, в результате которой образуются относительно большие объемы загрязненной вода, также требующей очистки; сложность конструкции фильтров; повышенные по сравнению с другими методами разделения, потери давления.
При использовании зернистых фильтров одним из основных требований, предъявляемых к материалу загрузки является механическая устойчивость к истиранию и измельчению. Другое требование -эффективная адгезия к загрязнениям, находящимся в конкретной сточной воде.
В качестве фильтрующего материала кроме песка применяют дробленый кварц, антрацитовую крошку, битое стекло и другие материалы. При этом чем меньше поры фильтрующего слоя (чем меньше зерна загрузки), тем быстрее засоряется фильтрующий материал. Фильтрующий материал может быть однородным (только из песка или битого стекла) или двухслойным (из паска и антрацитовой крошки); его укладывают на поддерживающие слои из более крупного песка и гравия.
В системах очистки оборотных воя применяют скоростные (скорость фильтрования 2-15 мА) и сверхскоростные (скорость фильтрования более 25 м/ч) фильтры. Скоростные фильтры могут быть открытыми и напорными. Сверхскоростные фильтры выполняют напорными.
В открытый скоростной фильтр (рис.1.9) исходная вода поступает из распределительного канала 5 через сборные желоба 4. Распределившись по всей площади фильтра, вода попадает на фильтрующий слой загрузки 3. В схемах очистки оборотных сточных вод крупность зерен фильтрующего слоя принимают в пределах 0,8-2 мм.

Рис.1.9. Схема открытого скоростного фильтра
I - дренажная система; 2 - поддерживающие слои; 3 - фильтрующий слой; 4 -сборный желоб; 5 - распределительный канал; 6 - отвод промывной воды; 7 - трубопровод воды на промывку; 8 - трубопровод профильтрованной воды
Пройдя фильтрующий слой, а затем поддерживающие слои 2, профильтрованная вода собирается дренажной системой I в трубопровод чистой воды 8, по которому подается на последующие сооружения или в систему оборотного водоснабжения.
При регенерации фильтрующего слоя закрывают задвижки на трубопроводах исходной и осветленной воды и открывают на трубопроводах промывной воды. Промывные вода подают в фильтр через дренажную систему. Поддерживающие слои способствуют более равномерному распределению промывной воды по сечению фильтрующего слоя.
При значительной интенсивности подачи воды на промывку фильтрующий слой загрузки расширяется и начинает "кипеть", что способствует возникновению между частицами загрузки и налипшими загрязнениями срезывающих напряжений сдвига, под действием которых загрязнения отрываются от частиц загрузки и выносятся с промывной водой в сборные желоба 4 и отвадятся из фильтра.
Для ускорения регенерации фильтра перед подачей промывной вода фильтрующий слой продувают сжатым воздухом.
В процессе фильтрования происходит накопление загрязнений в слое загрузки. В какой-то момент времени наблюдается вынос частиц в осветляемую воду с ухудшением ее качества. Продолжительность работы фильтра до "проскока" частиц в фильтрат называют временем защитного действия загрузки
3. По мере загрязнения фильтрующего слоя уменьшается его порозность и увеличивается сопротивление при прохождении через него сточной воды, т.е. растут потери напора. Время работы фильтра до достижения потерянного напора предельной величины обозначают
н. Оптимальным условием работы фильтра является
3 =
н значения
3 и
н находят по формулам [6]

где К и x0- константы, зависят от эффекта осветления, определяются по справочникам; х - толщина слоя загрузки; b, а - константы скорости прилипания и отрыва частиц; Н0 - потеря напора в чистой загрузке, Нп- потеря напора в момент проскока; F(А) - параметр, зависящий от величины предельной насыщенности пор загрузки отложениями А .
Площадь скоростных фильтров,м2 находят как

где
- продолжительность работы фильтра, ч; Q - расход сточных вод, м3/ч; uр - расчетная скорость фильтрования, м/ч; n - число промывок фильтра в сутки; w - интенсивность промывки, л/(м с);
1 - продолжительность промывки, ч;
2 - продолжительность простоя фильтра в связи с промывкой, ч;
2 = 0,33 ч.
Параметры для расчета скоростного двухслойного фильтра приведены в табл.1.8
Напорные фильтры представляют собой стальные вертикальные или горизонтальные резервуары, загруженные кварцевым песком слоем I м и работающие под давлением 0,6 МПа.
Принцип действия напорного скоростного фильтра (рис.I.10) практически аналогичен принципу действия открытого фильтра. Отличие состоит в основном в наличии герметичного корпуса, что позволяет использовать его при больших скоростях фильтрации и
значительных потерях напора. Кроме того, напорные фильтры не требуют строительства дополнительных насосных станций, так как очищенная вода может подаваться к потребителю сразу после фильтра под необходимым давлением.
Таблица 1.8 Параметры скорых двухслойных фильтров

Часто при фильтровании в направлении сверху вниз тонкодисперсные коллоидные, нефтяные и масляные загрязнения образуют на поверхности зернистой загрузки пленку, что приводит к резкому увеличению потерь давления и, как следствие, к сокращению продолжительности фильтроцикла, а также к увеличению количества воды на промывку. Чтобы предупредить образование пленки и увеличить грязеемкость фильтра, фильтрование ведут в направлении убывающей крупности загрузки. Для этого фильтрование осуществляют снизу вверх или с использованием двухслойных фильтров, когда верхний слой рабочей загрузки составляет крупные фракции материала, имеющего меньшую объемную массу, чем материал нижних слоев.
Фильтрование снизу вверх для очистки сточных вод менее предпочтительно, чем сверху вниз. Что обусловлено возможностью засорения распределительной системы и более сложной промывкой поддерживающих слоев. Другим неприятным моментом при работе фильтра является перемещение слоев загрузки в результате неравномерного распределения в ее толще вода, подаваемой на промывку. Это объясняется неравномерннм распределением загрязнений в толще фильтрующей загрузки и неравномерным сопротивлением по длине трубопроводов распределительной система.

Рис.I.10. Схема вертикального напорного фильтра I - дренажная система; 2 - трубопровод исходной воды; 3 - трубопровод промывной воды; 4 - сборные дырчатые трубы; 5 - корпус; 6 - фильтрующий слой; 7 - поддерживающие слои; 8 - трубопровод профильтрованной воды; 9 - трубопровод для подвода воды на промывку
Основные параметры напорных фильтров даны в табл.1.9.
Таблица 1.9 Основные параметры напорных фильтров

Перечисленные выше недостатки напорных фильтров отсутствуют в конструкции каркасно-засыпного фильтра (КЗФ), представляющего собой разновидность многослойных фильтров с подачей воды сверху вниз.
Особенность конструкции каркасно-засыпного фильтра (рис.I.II) заключается в том, что над поддерживающими слоями 2 расположен слой гравия 4 крупностью 40-60 мм высотой равной высоте расширенного слоя песка при его промывке. Гравий придавливает поддерживающие слои и препятствует их перемещению при промывке. Кроме того^он создает каркас, способствующий более равномерному распределению воды по живому сечению фильтра. Верхний слой гравия, располагаемый над песчаной загрузкой 3, препятствует образованию пленки и играет роль предварительно грубого фильтра.

Рис. I. II. Каркасно-засыпной фильтр
I - воздухопровод; 2 - поддерживающие слои; 3 - песчаная загрузка; 4 - гравийный каркас; 5 - сборные желоба; 6 - распределительный канал; 7 - отвод промывной вода; 8 - трубопровод для подачи вода на промывку; 9 - отвод фильтрата
Промывка КЭФ может быть как водяной, так и водовоздушной. При промывке песчаная загрузка расширяется и заполняет все поры гравийного каркаса. При этом с поверхности зерен песка и гравия оттираются все загрязнения. КЭФ имеют повышенную, по сравнению с другими фильтрами грязеемкость, меньше потери напора и хорошую регенерируемость загрузки.
Одним из основных рабочих узлов фильтров является дренажная система. От эффективности ее работы зависит надежность и эффективность работы фильтра, поэтому к конструкции и монтажу дренажной системы предъявляют повышенные требования. Для распределения и сбора воды применяют дренажные системы малого и большого сопротивления. Дренажи малого сопротивления представляют собой дырчатые трубы, расположенные через 250-350 мм. Отверстия диаметром 10-12 мм расположены по обе стороны трубы в шахматном порядке и направлены вниз под углом 45° к оси трубы. Число отверстий рассчитывают из условия, что их суммарная площадь должна составлять 8-10% от сечения фильтра. Дренаж малого сопротивления применяют при наличии поддерживающих гравийных слоев.
Наиболее широко применяют дренажную систему большого сопротивления, когда сбор осветленной и распределение промывной воды осуществляется через щелевые колпачки или через щелевые трубы. Число колпачков принимают из расчета 35-50 шт на I м2 рабочей поверхности фильтра.
Щелевые дренажные трубы располагают одна от одной на расстоянии 150-200 мм. Ширина щели должна быть на 0,1 мм меньше минимальной крупности зерна загрузки. Общая площадь щелей составляет 1,5-2% площади фильтра. Скорость воды в дренажной трубе принимают не более I м/с.
Очистка сточных вод оборотного водоснабжения в гидроциклонах
Интенсификацию процессов осаждения взвешенных частиц из сточных вод осуществляют воздействием на них центробежных сил в низконапорных (открытых) и напорных гидроциклонах, Вращательное движение жидкости в гидроциклоне, приводящее к сепарации частиц, обеспечивается тангенциальным подводом воды к цилиндрическому корпусу.
К основным преимуществам гидроциклонов следует отнести: I) высокую удельную производительность по обрабатываемой сточной воде; 2) сранительно низкие расходы на строительство и эксплуатацию установок; 3) отсутствие вращающихся механизмов для создания центробежной силы; 4) возможность создания компактных автоматизированных установок.
Открытые гидроциклоны применяют для выделения из сточных вод тяжелых примесей, характеризуемых гидравлической крупностью 20 мм/с и более. Часто их используют в качестве первой ступени в комплексе с другими аппаратами для механической очистки сточных вод. Значительным преимуществом открытых гидроциклонов является большая и удельная производительность /2-20 м3/(м2 ч)/ при небольших потерях напора (не более 0,5 м). Число впускных патрубков в гидроциклоне для более равномерного распределения потока должно быть не менее двух. Скорость впуска равна 0,1-0,5м/с.
Разработаны следующие конструкции открытых гидроциклонов (рис.1.II):
- без внутренних устройств для выделения из сточных вод крупных и мелкодисперсных взвешенных веществ (рис.1.12,а);
- с конической диафрагмой для выделения крупных и мелкодисперсных взвешенных веществ (рис.1.12,6);
- с конической диафрагмой и с внутренним цилиндром для выделения оседающих и всплывающих мелкодисперсных взвешенных веществ (рис.1.12,в).

Рис.1.12. Открытый гидроциклон
а - без внутренних устройств; б - с конической диафрагмой; в - с конической диафрагмой и цилиндрической перегородкой; I - коническая часть; 2 - цилиндрическая часть; 3 - полупогруженная кольцевая перегородка; 4 - кольцевой лоток; 5 - шюмовый насадок; 6 - коническая диафрагма; 7 - внутренний цилиндр
Кроме перечисленных выше открытых гидроциклонов для улавливания крупно- и мелкодисперсных взвешенных веществ применяются многоярусные открытые гидроциклоны с наклонным выпуском осветленной воды и гидроциклон с периферийным отбором осветленной воды.
В конструкции многоярусного гидроциклона совмещены принципы работы открытого гидроциклона и тонкослойного отстойника, что позволяет получить высокую эффективность очистки при удельных гидравлических нагрузках в 8-10 раз и более, превышающих нагрузки на обычные отстойники. Очищаемая вода в этих гидроциклонах подается тангенциально через три щели.
Выбор типа открытого гидроциклона в каждом конкретном случае следует определять технико-экономическим сравнением вариантов.
Таблица I.10 Проектировочные данные дам открытых гидроциклонов

Основной расчетной величиной открытых гидроциклонов всех у конструкций является удельная гидравлическая нагрузка q, м3/(м ч), которая вычисляется по формуле

где u0 - гидравлическая крупность частиц, которые, необходимо выделить для обеспечения требуемого эффекта, определяется по кривым кинетики осаждения, получаемым в лабораторных условиях при отстаивании исходной сточной воды в состоянии покоя в слое Н= 200 мм; К - коэффициент пропорциональности, зависящий от типа гидроциклона: для гидроциклона без внутренних устройств 0,61; для гидроциклона с диафрагмой 1,98; с диафрагмой и внутренним цилиндром 1,98.
После определения удельной гидравлической нагрузки на аппарат назначают его диаметр D, исходя из конструктивных данных, определяют производительность одного гидроциклона

а затем, исходя из общего расхода сточных вод Q рассчитывают число рабочих гидроциклонов

Осадок из открытых гидроциклонов всех типов удаляют через коническую часть, используя для этого насосы, гидроэлеваторы или гидростатическое давление.
Напорные гидроциклоны представляют собой аппараты, состоящие из цилиндрической и конической частей (рис.1.13).
Сточная вода под давлением поступает через прямоугольный патрубок 6 тангенциально в верхнюю часть цилиндра 4 и приобретает вращательное движение. Возникающие центробежные силы перемещают частицы взвесей к стенкам аппарата по спиральной траектории вниз к выходному насадку I. Очищенная вода удаляется через сливной патрубок 3. Напорные гидроциклоны могут иметь диаметры от 15 до 1000 мм. Для удлинения срока службы внутреннюю поверхность аппаратов футеруют каменным литьем или резиной.
Напорные гидроциклоны могут быть единичными и батарейными (мультигидроциклоны). Конструктивные размеры напорных гидроциклонов подбирают в зависимости от количества сточных вод, концентрации и свойств примесей. Для сточных вод, содержащих 0,2-4 г/л взвешенных веществ, конструктивные и технологические параметры напорных гидроциклонов ориентировочно принимают по данным табл.1.II.

Рис. I. 13. Напорный гидроциклон;
I - насадок; 2 - коническая часть; 3 - сливной патрубок; 4 - цилиндрическая часть; 5 - сливная камера; 6 - подающий патрубок
Таблица I.II. Параметры напорных циклонов

Эффективность гидроциклонов рассчитывают, исходя из заданной гидравлической крупности частиц и граничной крупности разделения (в мкм), под которой понимают максимальный размер частиц, попадающей в слив гидроциклона. Эти параметры должны обеспечить заданный эффект очистки.
Гидравлическую крупность находят по упрощенной формуле [6]

где Qпит - производительность гидроциклона, м3/с; К - коэффициент, учитывающий влияние концентрации примесей и турбулентность потока; для сточных вод с небольшой концентрацией К = 0,04; а - коэффициент, учитывающий затухание тангенциальной скорости, равен 0,45.
Максимальный размер частиц (граничная крупность) определяют

где dпит; dсл, dшл - диаметры патрубков для подачи воды, слива осветленной воды и удаления шлама, мм;
- коэффициент динамической вязкости, воды, Па-с; Ну, Нк - высота цилиндрической и конической частей гидроциклона, м;
т,
св - плотность твердой и жидкой фаз, кг/м3.
Производительность гидроциклона, л/мин, рассчитывается по формуле

где К - коэффициент, равный 5; g - ускорение силы тяжести, м/с ;
р - перепад давления в гидроциклоне, Па.
При окончательно выбранных геометрических размерах гидроциклона его производительность Qпит, м3/ч, вычисляется в виде

где
- угол конусной части гидроциклона, град.; D, dпит; dсл, dшл, Ну даны в см, Рпит - давление на входе в гидроциклон МПа.
Расход шлама, м3/ч,

Число гидроциклонов равно

Количество воды, проходящей через сливной и шламовый патрубки

где Q - общий расход сточных вод, м3 /ч
При выборе конструкций напорных гидроциклонов необходимо учитывать следующие основные данные: I) требуемую эффективность очистки сточных вод; 2) абразивные свойства взвешенных веществ; 3) химическую агрессивность сточной воды; 4) предельное давление перед аппаратом и требуемое давление в сливном трубопроводе; 5) состав и плотность частиц твердой фазы; 6) механическую плотность частиц твердой фазы сточной воды; 7) производительность установки.
1.8. Обработка воды систем оборотного водоснабжения
Предотвращение образования карбонатных отложений.
Природная или очищенная сточная вода, имеющая определенную карбонатную жесткость (мг-экв/л) при использовании в системах оборотного водоснабжения в качестве охлаждающего агента оборудования или технологических продуктов (без соприкосновения с ними) в теплобменных аппаратах, может выделять на поверхности теплообмена и в сооружениях карбонатные отложения (СаСО3 , МgС03 и др.). Чтобы предотвратить образование карбонатных отложений, применяют обработку воды (оборотной или добавочной) непосредственно в системе оборотного водоснабжения.
В составе карбонатных отложений преобладает карбонат кальция СаСО3, он тоже может служить вяжущим для других примесей.
Карбонатные отложения могут быть плотными или рыхлыми, а, иногда, и крупнозернистыми, обломочными или в виде песка.
Плотные отложения имеют ярко выраженную кристаллическую структуру с зернами правильной формы и практически не содержат органических включений (при высыхании не распадаются). Они характерны для охлаждаемых водой теплообменных аппаратов с температурой продукта свыше 80-I00°C.
Отложения, имеющие рыхлую структуру, содержат большое количество примесей минерального или органического происхождения (железо, кремнезем и др.). При высыхании они склонны к распаду. Такие структуры характерны для охлаждения водой теплообменных аппаратов при температурах ниже 80-100°С. Во всех указанных случаях процессы отложения сочетаются с процессами биологических обрастаний или коррозии металла.
Обломочные крупнозернистые отложения в виде кусочков чешуек или песка образуются из плотных отложений в теплообменных аппаратах, работающих с переменным теплонапряжением.
Таким образом, для каждого типа теплообменного аппарата, для воды разных составов и режимов ее использования характерны соответствующие по структуре карбонатные отложения.
Окраска отложений в большинстве случаев серая или серо-бурая, в присутствии железа - от светло- до темно-коричневой, при наличии биологических обрастаний - серо-зеленая.
Карбонатные отложения могут образовываться также и при непосредственном контакте вода с продуктом, когда вода выполняет комплексную роль охладителя и среды, поглощающей механические примеси и растворимые в воде соединения. В этом случае химический состав оборотной воды и ее технологические свойства формируются под воздействием среды - химического состава продукта, с которым она соприкасается, температуры и давления и не зависит от качества добавляемой воды.
Борьбу с отложениями карбоната кальция в теплообменных аппаратах и трубопроводах систем оборотного водоснабжения можно вести следующими основными способами:
1) непрерывным добавлением в систему оборотного водоснабжения воды с меньшей карбонатной жесткостью при сбросе части отработавшей (оборотной) воды из системы (продувкой);
2) подкислением;
3) добавлением в оборотную воду веществ, тормозящих процесс кристаллизации карбоната кальция (фосфатирование);
4) совместной обработкой воды подкислением и фосфатированием;
5) возмещением потерь равновесной углекислоты в системе оборотного водоснабжения путем добавки в воду углекислоты дымовых газов (рекарбонизация);
в) умягчение добавочной воды известью с осветлением, натрий-катионированием или водород-катионированием.
Кроме того, применяют и другие дополнительные способы (см. ниже).
Выбор того или иного способа обработки воды определяется, главным образом, качеством вода и условиями ее использования.
Разбавление и осветление оборотной воды
Из системы водоснабжения убывает некоторое количество вода, следствие естественных потерь. Восполнение этой убыли добавкой свежей воды или с меньшим содержанием растворенных солей вызывает определенное разбавление и освещение циркуляционной вода. Однако могут быть случаи, когда такого разбавления и освещения вода в системе недостаточно и приходится некоторое количество оборотной вода сбросить,взамен ее добавить такое же количество свежей вода, например для снижения карбонатной жесткости (щелочности) во избежание отложений накипи в охлаждаемой аппаратуре или для снижения общего содержания солей в оборотной воде.
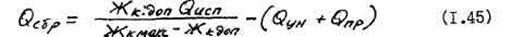
Количество оборотной вода, которое необходимо сбросить для поддержания предельно допустимой (максимальной) величины карбонатной жесткости оборотной вода определяют, по формуле, в м3/ч,

и количество воды, которое необходимо при этом добавлять в систему, но формуле, м3/ч.

Здесь Жк.доп - карбонатная жесткость вода, добавляемой в систему, г-экв/л; Qисп, Qун, Qпр - потери оборотной вода на испарение, унос и в производстве, м3/ч.
По формулам (1.45) и (I.4S) производится расчет освещения оборотной вода. Но для этого,, прежде всего, должна быть определена допустимая карбонатная жесткость (щелочность) оборотной вода опытами на модели лабораторной установки, при которой не будет происходить карбонатных отложений или скорость их образования допустима.
Разбавление и освещение оборотной вода путем сбросе части ее из системы и замены свежей водой можно применять при использовании этой сбросной вода другими потребителями, не предьявляющими строгих требований к ней по величине карбонатной жесткости и солесодержанию. Можно уменьшить сброс оборотной воды, если обработать ее, например кислотой для снижения карбонатной жесткости.
Подкисление воды
Подкисление воды считается универсальным методом предотвращения образования карбонатных отложений в охлаждающих системах оборотного водоснабжения. При добавлении к воде сильной кислоты снижается ее щелочность, при этом необходимо лишь часть карбонатной жесткости перевести в эквивалентное количество некарбонатной, для предотвращения возможности образования и выпадения (отложения) карбоната кальция (СаСО3), наконец, за счет реакции кислоты с бикарбонатами выделяется свободная углекислота, которая может возмещать отчасти потерю "равновесной" углекислоты при нагревании и разбрызгивании воды.
Обычно производится подкисление вода, добавляемой в систему оборотного водоснабжения. Для подкисления применяется серная кислота как более дешевая, однако может использоваться и соляная, Применяют крепкую или разбавленную отработанную кислоту.
Дозу технической кислоты (Дк) можно определить по следующей формуле (мг/л)

где е - эквивалентный вес кислоты в мг/мг-экв (для H2SO4 - 19, для НСL - 36,5); Жк.доб.исх - карбонатная жесткость добавочной исходной (не обработанной кислоты), мг-экв/л; Ск - содержание Н2S04 или НСL в технической кислоте, %.
В формуле (1.47)

представляют остаточную карбонатную жесткость добавочной воды после обработки ее кислоты, а

- величину карбонатной жесткости добавочной воды, снимаемую подкислением. Поэтому, если отсутствует аналог или опытные (лабораторные) данные, в формуле (1.47) значение величины карбонатной жесткости снижаемой кислотой, можно вычислить по формуле^ (мг-экв/л),

приняв для очищенных сточных вод Жк.доб.исх = 2-2,5 мг-экв/л.
Кислоту можно вводить в добавочную или оборотную воду перед подачей ее потребителям (а не в градирню). Начинать подкисление следует с рабочей дозы, с тем, чтобы сначала остановить процесс выделения отложений и не задаваться целью растворения образовавшегося СаСО3. Иначе можно вызвать интенсивное отслоение прежних отложений и развитие коррозии металла в местах, их не имеющих.
Расход кислоты (Gк ) для обработки воды в количестве Qдоб,м3/ч может быть определен по формуле, (кг/ч).

Для замера и дозирования расходуемой кислоты устанавливают ires мерных бака емкостью каждый, м3

где Т - число часов работы бака по заготовке;
- плотность.
Кислоту в обрабатываемую воду предпочтительнее подавать не разбавленную водой. Расход кислоты из бака должен составлять, л/мин.

При малых расходах кислоты дозирование ее в обрабатываемую воду целесообразно в виде раствора 5-10% концентрации
Фосфатирование оборотной воды
Наиболее простым способом предотвращения образования карбонатных отложений в системах оборотного водоснабжения считается фосфатирование вода. При добавлении в воду, например, раствора гексаметафосфората натрия на поверхности зародышей кристаллов карбоната кальция образуются следующие адсорбционно-химические соединения:

которые препятствуют дальнейшему росту кристаллов карбоната кальция и выпадению из воды. Находясь в массе воды в виде взвешенного вещества, они выносятся из системы при ее освещении.
В оборотной воде достаточно поддерживать содержание фосфатов 1|5-2 мг/л в пересчете на P-Ar.
На практике применяют для обработки воды гексаметафосфат, триполифосфат натрия
, тринатрийфосфат
и суперфосфат 
Установлено, что при фосфатировании имеется какой-то предел насыщения раствора, выше которого, несмотря на присутствие фосфата, начинается интенсивный рост, коагуляция, а затем и выпадение кристаллов преимущественно неправильной формы. При этом, как показывают наблюдения, отложения в аппаратах, трубопроводах и на сооружениях при фосфатировании воды имеют другой характер: они могут быть более рыхлыми или мягкими и удаляются с поверхности струей воды при промывке или волосяным ершом, могут быть в виде отдельных кристаллов, напоминающих крупный песок.
Следует иметь в виду, что при фосфатировании охлаждающей вода для предотвращения образования отложений карбонатов всегда надо предусматривать периодическое хлорирование оборотной воды и обработку градирен раствором медного купороса для борьбы с развитием биологических обрастаний, т.к. замечено, что при фосфатировании воды развитие биологических обрастаний усиливается, загрязнение оборотной воды повышается.
Фосфаты в виде раствора дозируются в добавочную воду, требуемое количество фосфата по товарному продукту определяется по формуле

где Кф- концентрация фосфатов, которую необходимо поддерживать в оборотной воде, мг/л (в зависимости от качества оборотной воды значение Кф принимается от I до 5 мг/л); W - общая емкость оборотной системы, м3; Qдоб - расход добавочной воды, м3/ч; Сф - -содержание Р2О5 в товарном продукте, % (для тринатрийфосфата и суперфосфата 16-18%, для гексаметафосфата и триполифосфата 50-52%).
С увеличением мутной воды и концентрации в ней нефтепродуктов расход фосфатов возрастает. Это связано с тем, что фосфаты коагулируют взвешенные частицы, адсорбируются ими и увлекаются в осадок.
Совместная обработка вода подкислением и фосфатированием
Эта обработка воды дороже, чем обработка одним из указанных методов. Однако этот метод целесообразно применять в том случае, когда карбонатная жесткость воды достаточно высока и одно фосфатирование воды не обеспечивает необходимого эффекта предотвращения образования карбонатных отложений, а глубокое подкисление воды может вызвать коррозию металла. Совместная обработка может оказаться необходимой и при изменяющейся в течение года карбонатной жесткости воды в источнике.
При комбинированной обработке вода кислотой и фосфатным реагентом дозу кислоты можно определять по формулам (1.47) и (1,48), принимая ориетировочную карбонатную жесткость воды, добавляемой в систему оборотного водоснабжения, после обработки ее кислотой больше на I мг-экв/л, чем указано выше. Дозу фосфатов можно определить при этом по формуле (1.52) и освежение (продувку) рассчитывать по формуле (1.45), принимая сброс воды из системы не более 1-1,5% от расхода оборотной воды.
Комбинированная обработка воды включает подкисление и фосфатирование добавочной воды, а также освежение подкисленной водой оборотной воды. Главной задачей является отыскание наилучшего коэффициента использования воды с наименьшим сбросом ее из системы и при минимальных затратах на расходуемые реагенты.
Рекарбонизация оборотной воды
Эффективным методом предотвращения образования карбонатных отложений в системах оборотного водоснабжения путем поддержания углекислотного равновесия является рекарбонизация этой воды дымовыми газами (образующимися в котельных при сжигании твердого или жидкого топлива, а также газами доменных печей после сжигания их в котлах или в воздухоподогревателя, содержащим углекислоту.
Насыщение оборотной вода углекислотой дымовых газов предотвращает выпадение карбонатных отложений путем предупреждения распада бикарбонатов, при этом соблюдается равновесие

Количество требуемой для создания этого равновесия углекиоло, ты приближенно может быть определено по формуле

где Qдоб- количество добавочной вода, м3/ч; Qисп - потери воды на испарение при ее охлаждении, м3/ч;Qоб- расход оборотной воды в системе, м3/ч; Щдоб - щелочность (карбонатная жесткость) добавочной вода, мг-зкв/л, по данным химического анализа; СО2охл - концентрация свободной СО2 в охлажденной оборотной воде (после градирен), мг/л, по данным анализа ; СО2доб - концентрация свободной Cо2 в добавочной воде, мг/л, по данным химического анализа; К - коэффициент, зависящий от температуры нагрева оборотной воды в системе; его значения даны ниже:

В условиях эксплуатации дозу углекислоты для рекарбонизации вода корректируют по данным контроля за скоростью образования отложений на индикаторных пластинках или скоростью коррозии этих пластинвк.
Рекарбонизацию оборотной вода дымовыми газами проводят на специальных установках.
Количество дымовых газов Qдг при нормальных условиях, которое следует подавать в обрабатываемую воду, можно записать как

где ССО2 - содержание СО2 в дымовых газах, $ (объем), определяемое по данным анализа дымовых газов. Приближенно можно считать, что это содержание равным в дымовых газах от сжигания твердого топлива в котлах 5-8%, от сжигания нефти и мазута 8-12%; от сжигания доменного газа 15-22%;
- степень использования углекислоты, содержащейся в дымовых газах, %, ориентировочно принимаемая при введении углекислоты в воду, водоструйными эжекторами от 50 до 80$, газодувками и барботажными трубами 30%.
Количество - оборотной вода q , которое необходимо пропустить через водоструйные эжекторы для насыщения углекислотой дамовых газов определяется по формуле

где m - растворимость углекислоты в воде, мг/л при данной температура и парциальном давлении I кгс/см . Значение растворимости т приведены ниже:

1.9. Умягчение воды, добавляемой в систему водоснабжения
При высокой карбонатной жесткости пресной воды поверхностных источников, когда имеется необходимость в осветлении добавочной воды и для этой цели используют соответствующие сооружения (отстойники, осветлители, фильтры и др.), целесообразно применять известкование для умягчения добавочной вода с целью удаления из нее Са2+ и частично Мg2+. В отдельных случаях, когда предъявляются высокие требования к охлаждающей воде при нагреве ее выше чем на 15°С или наличии местного кипения ее у поверхности теплообмена, следует применять умягчение добавочной воды на ионообменных фильтрах (натрий или водород-катионирование).
Целесообразность применения того или иного метода умягчения воды в каждом конкретном случае определяется технико-экономическими расчетами.
Сущность умягчения добавочной воды известью заключается в снижении кальциевой карбонатной жесткости воды (т.е. части карбонатной жесткости, связанной с присутствием в воде иона кальция) путем обработки известью. При известковании остаточная жесткость умягченной воды может быть доведена до некарбонатной жесткости плюс 0,4-0,8 мг-экв/л и щелочности 0,8-1,2 мг-экв/л.
При использовании в системе оборотного водоснабжения воды, Умягченной известью, биологические обрастания развиваются несколько менее интенсивно, но не исключается вследствие наличия загрязнения воды (через воздух на градирнях), тепла, фотосинтеза и наличия питательных веществ для микроорганизмов.
Умягчение добавочной воды катионированием в два раза дороже, чем умягчения воды известью и применяется лишь в отдельных случаях.
Умягчение воды катионированием производят фильтрованием предварительно осветленной вода через сдой зернистого материала -
катионита, частицы которого содержат на своей поверхности катионы натрия/Va+ или водорода ЕГ1", способные к обмену на катионы кальция Са и магния Мд2+ солей жесткости, растворенных в воде. В соответствии с этим и различают натрий- и водород-катиониро-вание.
Жесткость воды катионированием может быть снижена до 0,03-0,05 мг-экв/л.
Для предотвращения образования карбонатных отложений в системе оборотного водоснабжения предпочтительнее добавочную воду подвергать водород-катионному умягчению, при котором происходит замена катионов Са Zi~ и Ма на катион водорода. В результате такой обработки воды в фильтрате не образуются сильные минеральные кислоты, а лишь появляется углекислота, снижающая щелочность (карбонатную жесткость) фильтрата. При этом снижение жесткости фильтрата (обработанной в фильтре воды) происходит до величины в среднем 0,5-0,3 мг-экв/л в зависимости от жесткости исходной вода и кислых стоков от регенерации катионита не образуется.
1.10. Другие методы обработки воды
В настоящее время все шире стали использоваться методы для обработки воды оборотного водоснабжения магнитным полем, высокочастотным электрическим полем и ультразвуком.
В основе метода обработки воды магнитным полем лежит эффект действия электромагнитного поля на электронные оболочки основ Са и СОд воды, протекающей между гильзой и стенкой трубы. Механизм этого взаимодействия еще изучается. Полагают, что под влиянием магнитного поля деформируются электронные оболочки ионов Са и С03 . Вследствие этого силы взаимодействия между этими ионами ослабевают и карбонат кальция в виде шлама выводится с водой из трубок, тегогаобменного аппарата или легко снимается с омываемой водой поверхности механически. Считается, что необходима обработка лишь добавочной воды. При такой обработке охлаждающей воды магнитным полем, кроме изменения структуры накипи, значительно уменьшается также ее количество.
При обработке охлаждающей оборотной воды высокочастотным электрическим полем воду пропускают через конденсатор с двумя слоями изоляции. Одним слоем служит стекло или пластмасса, а другим - обрабатываемая вода. Когда вода проходит через высоко-
частотное электрическое поле, последнее создает определенный момент, воздействующий на молекулы вода и растворенные в ней ионы. При этом изменяются физические и химические свойства воды как растворителя, кроме того, наблюдаются татавв значительные изменения в процессах кристаллизации растворенных в воде солей. Вода, обработанная высокочастотным электрическим полем, образует нетвердую рыхлую или таамообразную накипь, которая легко удаляется при механическом воздействии ерш или струи вода.
Обработка воды ультразвуком. Вода подвергается воздействию ультразвуковых колебаний, которые получают на основе магнитол стрикционного или пьезоэлектрического эффекта. При этом ультразвуковые колебания передаются непосредственно к воде или на патрубки теплообменяого аппарата. В обоих случаях они предотвращают отложение солей накипи на омываемую водой поверхность нагрева, причем ранее отложившаяся накипь отслаивается.
При электровибрационной обработке оборотной воды она подвергается комбинированному воздействию колебаний:ультразвуковых, электрических и электромагнитных. В результате предотвращается отложение в тешгообменных аппаратах солей жесткости в виде твердой накипи.
I.II. Методы защиты металла от коррозии
Коррозией называют самопроизвольное разрушение металлов, вследствие физико-химического взаимодействия их с окружающей средой. В практике водоснабжения под материалами подразумеваются простые металлы, а такжд оборудование и изделия, которые изготовлены из этих металлов, средой, в которой происходит коррозия, является вода. Следовательно, процессы коррозии связаны о характерными особенностями воды и металла. Однако коррозию следует отличать от эррозии - поверхностного механического разрушения металла.
Коррозия металла может быть химической и электрохимической. В практике водоснабжения распространена электрохимическая коррозия, происходящая в присутствии электрохимически проводящей среды, при которой ионизация атомов металла и восстановление окислительного компонента коррозионной среды протекают не в одном акте, а их скорости зависят от электродного потенциала металла.
При водоснабяении наблвдается и электрокоррозия или коррозия под действием так называемых блуждающих токов.
По условиям протекания коррозия в системах водоснабжения представляет в основном электрохимический окислительно-восстановительный процесс, интенсивность которого определяется изменением свободной энергии системы. Анодный процесс связан с переходом ионов металла в раствор, при катодном процессе происходит ассимиляция электронов, содержащемся в растворе деполяризатором (растворенный кислород - кислородная деполяризация, ионы водорода - водородная поляризация). На одном и том же участке металлической поверхности могут происходить одновременно анодный и катодный процессы.
Нередко в системах оборотного водоснабжения появляется биологическая коррозия при участии продуктов, выделяемых микроорганизмами биологических обрастаний.
По характеру коррозионного разрушения различают следующие вида коррозии:
1) сплошная или общая коррозия, охватывающая всю поверхность металла, находящуюся под воздействием воды. Оплошная коррозия бывает равномерной и неравномерной. Равномерная доррозия протекает примерно с одинаковой скоростью по всей поверхности металла, неравномерная - с неодинакова! скоростью на различных участках поверхности металла (чаще наблюдается при использовании для водоснабжения морской вода);
2) местная коррозия охввжывае» лишь некоторые участки в виде отдельных пятен и язв или отдельных- точек диаметром 0,1-0,2 мм. Местная коррозия может быть также сквозной и подверх-ностной.
Существует ряд факторов, ускоряющих или замедляющих коррозию металлических труб и аппаратов.
Влияние активной реакции среда (рН) общеизвестно; считается, что с увеличением рН среда, при прочих равных условиях, коррозия уменьшается и наоборот - с понижением рН она увеличивается. Значения рН минимальной коррозии будут характерной величиной для
каждого металла,

В зоне нейтральных значений рН (от 4 до 9) коррозия стали почти не зависит от ее величины, так как растворимость и скорость диффузии кислорода существенно не изменяются с изменением ве-
чины рН. Снижение скорости коррозии стали при дальнейшем
чении pjj (от 10 до 14) объясняется,главным образом,уменьшением растворимо Лти продуктов коррозии в щелочах (образование
гидратов).
На практике считается, что коррозия происходит и при рН = 7_7 2 с рыхлыми отложениями. При рН "& 7,5продукты коррозии становятся прочными, защищающими металл от разрушения.
Влияние температуры на скорость коррозии стали неодинаковое. В закрытой системе оборотного водоснабжения с увеличением температуры вода коррозия увеличивается. Это объясняется торможением свободного выделения кислорода из воды.
В открытой системе оборотного водоснабжения при температуре воды выше 70-80°С происходит снижение коррозии вследствие сильного уменьшения растворимости кислорода с повышением температуры. Растворимость кислорода в воде изменяется в зависимости от ее температуры для одного и того же парциального давления. Кислород в отношении коррозии играет двоякую роль: может быть усилителем и замедлителем. Коррозия увеличивается почти пропорционально изменению содержания кислорода. При этом реакции протекают, например, по уравнениям

Кислород необходим для образования защитных пленок. Он в состоянии разрушать водородную пленку на катоде и образует в воде ионы ОН". Эти ионы являются положительным электродом, который влечет к себе положительные заряды из металла. Указанная выше реакция называется процессом с кислородной деполяризацией.
Углекислота не вызывает сильной коррозии при щелочных и нейтральных водах: при концентрации в воде СО2 в пределах до 30 мг/л скорость коррозии углеродистой стали остается такой же, что и в воде не содержащей углекислоты. Отрицательное влияние свободной углекислоты заключается в том, что она удерживает в растворе йоли кальция и этим препятствует обраяеваяге защитной пленки.
Хлорида являйся ускорителями коррозии по двум причинам: во-первых, вследствие увеличения кислотности вода, во-вторых, вследствие разрушающего действия, окаанваемого хлорид-ионом на ''«яштную щенку.
Сульфаты влияют на коррозию металла при карбонатной жесткости более 2 мг-экв/л незначительно, но оказывают агрессивное воздействие на бетон.
Нитраты уже при небольших концентрациях вызывают окисление металла, что способствует образованию на железе защитной пленки. С точки зрения коррозии содержание нитратов до 20 мг/л не опасно.
Кислоты ускоряют процесс коррозии, так как являются деполяризаторами.
Сероводород усиливает коррозию. Он вызывает коррозию даже в отсутствие кислорода, образуя элементарную серу и сульфид железа, которые будут катодом в отношении основного металла.
Увеличение скорости движения оборотной воды ускоряет коррозию поверхности омываемого металла, так как при этом в реакцию вовлекаются новые слои воды, увеличивается приток кислорода и коррозия усиливается.
Осадки независимо от их природы способствуют быстрому развитию локальной коррозии. Образовавшиеся из механических примесей, карбонатных или других,отложения вызывают местный перегрев металла и быстрое его разрушение.
Биологические обрастания всегда связаны с осаждением механических примесей, поэтому они также вызывают локальные, коррозионные элементы и стимулируют развитие точечной коррозии. В отдельных случаях могут развиваться сульфат-восстанавливающие бактерии, вырабатывающие H2.S, которыми вызывается также точечная коррозия. Иногда развиваются железобактерии (при содержании в воде железа не менее 0,2 мг/л), которые переводят закисное железо Fe{w)z в окисное Fe(0H)A
При проектировании систем оборотного водоснабжения с вынужденным применением агрессивной (по отношению к металлу и бетону) воды следует прежде всего выбирать стойкие материалы для оборудования, трубопроводов и сооружений, предусматривать их защиту покрытиями или соответствующую обработку вода.
Защита металла от коррозии может быть осуществлена многими способами. Выбор того или иного в каждом отдельном случае должен основываться,прежде всего, на знании причин возникновения коррозии, ее формы и т.д. При этом необходимо согласовать следующие требования: I) эффективность защиты; 2) сохранение металлом всех требуемых от него механических свойств; 3) защита должна быть возможно более дешевой.
Основными методами защиты металлов от электрохимической оррозии в системах оборотного водоснабжения являются следующие: •
1. Обработка коррозионной среды, представляющая собой в :' основном нейтрализацию кислых сточных вод;к этому методу может быть отнесено также обескислороживание вода, но оно в системах оборотного водоснабжения не применяется.
2. Обработка воды замедлителями коррозии с образованием защитных окисных и других неметаллических пленок неорганическими и органическими:
а) к неорганическим замедлителям коррозии относятся нитрат натрия А/& Л/О^} хромат калия КгСч 0^ и биохромат калияKiCx,2O7,) силикат натрия A/a.zSiO$? фосфаты (гексаметафосфат натрия, три-полифосфат натрия, динатрийфосфат) и др.;
б) к органическим замедлителям коррозии относятся глюкозаты хрома, сульфоглюкоза натрия и др.
3. Защитные покрытия металла лаками, красками, смолами и эмалями.
4. Электрохимическая протекторная защита металла. Применение того или иного метода должно основываться на исследованиях скорости коррозии металла без применения его защиты, так и эффективность защиты.
Создание защитной карбонатной пленки на металле
Наиболее известно! и дешевой защитной пленкой является самостоятельно образовавшаяся так называемая карбонатная пленка, которая состоит преимущественно из окислов железа (50-70$) и карбоната кальция (10-20!?), остальное, главным образом,кремниевая кислота. Такая пленка плотно прилегающая к поверхности металла, надежно его защищает от коррозии. Однако толщина этой пленки не должна быть больше 0,5 мм во избежание уменьшения процессов теплопередачи.
Карбонатную пленку регулируемой толщины создают путем выбора соответствующего размера освещения оборотной воды (продувки системы) или обработки добавочной воды известью,или известью и содой.
Выделение карбонатной пленки на чистую поверхность теплообмена и стенки трубопроводов может происходить при карбонатной жесткости оборотной воды не менее 1,5-2 мг-экв/л, наличии в воде Са 0 содержанием С& не более 50 мг/л, при отсутствии или весьма малом сбросе воды из системы оборотного водоснабжения.
Самообразование защитной пленки объясняется тем, что в результате коррозии водопроводящих, металлических трубопроводов в нейтральной или слабощелочной среде вначале образуется гидроокись двухвалентного железа Fe(oH)z)K.Qwgaa при превышении предела растворимости выпадает в осадок и в присутствии достаточного количества кислорода окисляется далее до гидроокиси трехвалентного железа FefOHh'
При низкой карбонатной жесткости воды защитную пленку ОаОО на теплообменной поверхности и стенки можно создать обработкой воды.
Обработка вода замедлителями коррозии
Замедлители коррозии, называемые также ингибиторами, по своей природе бывают ионными или молекулярными соединениями. Они адсорбируются на поверхности корродирующего металла электрохимически или химически; возможна также адсорбация их вследствие одновременного действия разных сил. Адсорбируясь на поверхности корродирующего металла;, замедлители тормозят протекание анодного и катодного процессов электрохимической коррозии или, образуя экранирующую пленку, изолируют металл от электролита,или имеют смешанный характер замедляющего действия.
К анодным замедлителям электрохимической коррозии металлов относятся кислород, нитриты, хроматы и др., которые,пассивируя металл,затрудняют протекание анодного процесса, т.е. замедляют коррозию.
К катодным замедлителям электрохимической коррозии относятся вещества, превышающие перенапряжение катодного процесса при их адсорбции на катодных участках поверхности корродирующего металла, соли или окислы мышьяка и висмута, желантина и другие органические вещества. При недостаточной концентрации в воде они не вызывают усиления коррозии.
К экранирующим замедлителям электрохимической коррозии метал-лое относятся вещества, адсорбирующиеся на металле и образующие хемосорбционный слой или чаще защитную пленку нерастворимых продуктов, взаимодействуя с первичными анодными продуктами коррозии.
Эффект действия замедлителей коррозии металлов принято характеризовать величиной защитного действия t °/о

qC и СкзГ скорость коррозии металла без замедлителя и с замедлителем, г/м ч.
гИряботка воды силикатом натрия. Защитную пленку на поверхности металла образует двуокись кремния вместе с окислами железа, при этом вода должна иметь рН > 6.
Силикатную нленку регулируемой толщины следует создавать на предварительно окисленной поверхности теплообмена и стенок трубопроводов обработкой воды раствором жидкого стекла или двуокиси-кремния при рН более 6, но меньше 8,5 и карбонатной жесткости не свыше 5,5 мг-экв/л.
Ддя ускоренного образования защитной пленки в течение 1,5-2 месяцев дозу двуокиси кремния и силиката натрия следует увеличить в два раза.
Обработка воды хроматомя
При обработке может быть использован хромат калия KzCz Oq и б ахромат калия КгС72О?. 3 процессе обработки воды происходит совместное осаждение гидроокисей железа и хрома в порах окис-ной пленки на поверхности металла. Эти гидроокиси блокируют норн металла и приостанавливают процесс коррозии. В зависимости от содержания в воде хлорида концентрации вводимых при обработке воды хроматов колеблется от 200 до 500 мг/л; при этом рекомендуется поддерживать рН воды 7,5-9,5. Рекомендуется для ускоренного образования защитной пленки в течение 1-3 месяцев поддерживать концентрацию хроматов в воде 500-1000 мг/л, а затем постепенно снижать в 2-2,5 раза.
Хроматы - наиболее эффективные ингибиторы коррозии, сводящие к минимуму потери металла. Кроме того, они выполняют роль стерилизаторов в борьбе с биологическими обрастаниями и, таким образом, отпадает необходимость в дополнительных мерах для борьбы с ними. Применению этого ингибитора в каждом конкретном случае Должны предшествовать лабораторные и производственные опыты.
Борьба с биологическими обрастаниями теплообменных аппаратов и водоохлаждающих сооружений
Повышение температуры оборотной воды создает благоприятные условия для развития микроорганизмов, осложняющих работу тепло-обменной аппаратуры и всего технологического оборудования. Микроорганизмы в систему оборотного водоснабжения заносятся из источника, поселяются а развиваются в ней, вследствие благоприятных условий их размножения: повышение температуры до 40°0, присутствие в воде питательных веществ и растворенного кислорода.
Борьбу с биологическими обрастяними ведут созданием неблагоприятных для жизни микроорганизмов условий. Наиболее доступны ядовитые вещества, вводимые в воду и безвредные для оборудования, сооружений и обслуживающего персонала.
В качестве ядов для борьбы с биологическим обрастанием в системах оборотного водоснабжения обычно применяют хлор и медный купорос. Губительно на микроорганизмы действует свободная углекислота, вводимая в воду в дозах 30-50 мг/л при рекарбонизации ее с целью предотвращения карбонатных отложений.
Охлаждающую воду периодически хлорируют. Режим хлорирования в каждом отдельном случае подбирается опытным путем в зависимости от степени загрязненности вода органическими веществами и микроорганизмами. Дозу хлора выбирают таким образом, чтобы в воде концентрация активного хлора в течение 30-40 мин была бы около I мг/л.
Необходимый расход хлора, кг в сутки, может быть определен по формуле
Люди также интересуются этой лекцией: 7. Факторы личного порядка.

/ где & - расход охлаждающей вода, м3Д; i^ - дозы хлора, г/м3;
t - продолжительность каждого периода введения хлора (ориентировочно t = 40-60 мин); п - число периодов введения хлора в сутки.
Вводить хлор в обрабатываемую воду следует с помощью хлоратов.
Обработка вода медным купоросом направлена, главным образом, на борьбу о водорослями, развивающимися на градирнях, а также в брнзгалышх бассейнах и прудах-охладителях оборотной вода.
ШгЯ устранения развития водорослей в градирнях и брызгалышх бассейнах применяют периодическую обработку вода медным купоросом 1-2 мг/л. Периодичность обработки зависит от интенсивности развития водорослей, она может колебаться от недели (летом) до месяца (в прохладное время года).






















