Четырехпроводная схема смены направлений
Четырехпроводная схема смены направлений.
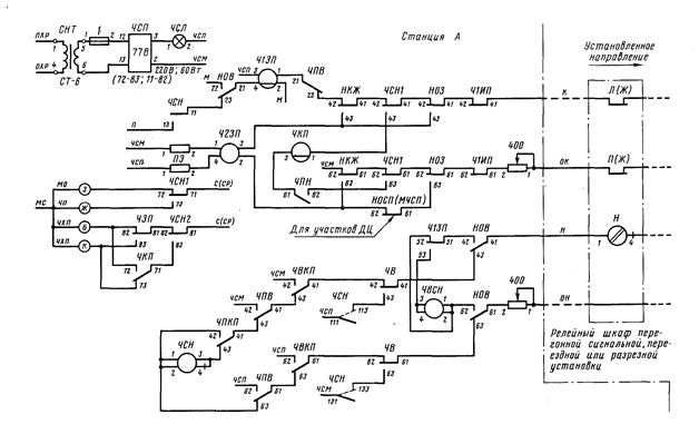
Схема смены направления (рис. 56) имеет две линейные цепи — контроля перегона (К,—ОК.} и цепь реле направления (Н—ОН). В цепь контроля перегона на каждой перегонной установке включены контакты повторителей путевых реле (повторителей реле Ж — при числовой кодовой автоблокировке), контролирующих состояние блок-участков. Питание цепи контроля перегона поступает со станции отправления (на рис. 56 не показана), а на станции приема А подключено реле контроля перегона Д77, нормально находящееся под током. После открытия выходного сигнала на станции отправления, а затем при проследовании поезда по стрелочным участкам и по перегону реле А77 будет обесточено, возможность произвести смену направления движения на станции приема исключена.
Для защиты от кратковременной потери шунта под поездом, реле А77 имеет повторитель Л/С/7 с замедлением на притяжение. Защиту от периодической кратковременной потери шунта осуществляет реле ВК.П, в цепи возбуждения которого проверяется замыкание контакта остывшего термоэлемента.
На станции отправления в цепь К—ОК включены два реле занятия перегона — низкоомное 13П, контролирующее свободность перегона при отсутствии заданного маршрута отправления и нормальном положении контактов замка ключа-жезла, и высокоомное 23 П, проверяющее свободность перегона при заданном маршруте отправления или изъятом ключе-жезле.
При включении цепи контроля перегона через высокоомное реле 23П ток в линии уменьшается, и реле КГ1 на станции приема отпускает якорь. Полярность тока в линии при этом меняется.
Занятость перегона на станции отправления контролирует реле ЗП, являющееся повторителем реле 13П и 23П.
На станции приема реле ЗП постоянно находится под током через тыловой контакт реле СН — повторителя поляризованного контакта станционного реле направления. Замедление реле ЗП за счет емкости конденсатора, подключенного параллельно его обмотке, обеспечивает удержание якоря этого реле при перелете контактов 03, КЖ и при смене направления.
В цепь смены направления (Н—ОН} питание подается со станции приема. Все перегонные реле смены направления обтекаются током. На станции отправления реле СН также включено в эту цепь и находится под током. Нейтральный контакт реле СН введен в цепь реле ЗП и контролирует исправность цепи реле направления.
Смена направления движения производится нажатием кнопки или возбуждением управляющего реле на станции приема. При этом срабатывает реле В, в цепи возбуждения которого контактом реле ПКП проверяется свободность перегона, а контактом реле КП — замкнутое положение фронтовых контактов всех путевых реле на перегоне в момент начала смены направления. При срабатывании реле В контакт реле КП шунтируется.
Рекомендуемые материалы
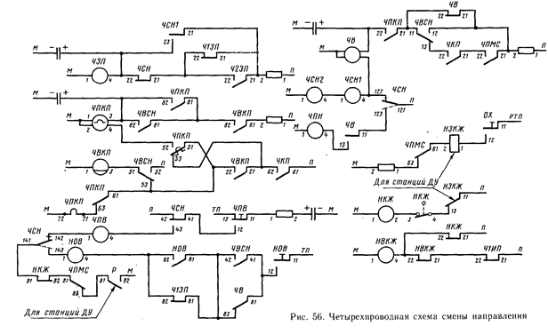
С возбуждением реле В меняется полярность тока в цепи Н—ОН, и реле направления на перегонных точках и на станции, стоявшей на отправлении, переключают поляризованные якоря. При этом цепь контроля перегона размыкается контактами реле СН/ станции отправления. На станции, стоявшей на приеме, обесточивается реле КП и выключает свой повторитель ВКП.
Длительность посылки прямого импульса смены направления определяется замедлением на отпускание якоря реле ВКП независимо от момента обрыва цепи контроля перегона. Станция, находившаяся на отправлении, устанавливается на прием, так как станционное реле направления перебросило поляризованный якорь; реле б обесточивается, и через его тыловые контакты посылается обратный импульс тока в линейную цепь.
После обесточивания реле ВКП на станции, производящей смену направления, с некоторым замедлением обесточивается реле ПКП и подключает станционное реле направления, которое перебрасывает поляризованный якорь, чем устанавливает станцию на отправление. Контакт ПКП в цепи реле СН защищает станционное реле направления от переключения поляризованного якоря за счет энергии, накопленной линией, при попытке смены направления в момент сообщения проводов Н—ОН. После переключения контактов поляризованного якоря реле СН реле В получает питание по второй обмотке, срабатывает реле СН1 и через фронтовые контакты подает питание в цепь перегона. На этом цикл смены направления заканчивается.
ВСПОМОГАТЕЛЬНЫЙ РЕЖИМ СМЕНЫ НАПРАВЛЕНИЯ.
Для смены направления движения при повреждении ' одной или нескольких перегонных рельсовых цепей используется вспомогательный режим, который осуществляется одновременным нажатием запломбированных кнопок дежурными по станциям, ограничивающим перегон: на станции, устанавливаемой на отправление, нажатием кнопки 0В; на станции, устанавливаемой на прием,— кнопки ПВ.
Этим кнопкам соответствуют реле 0В и ПВ. Контактами реле 0В к линии подключается реле вспомогательной смены направления ВСН, которое получает питание с соседней станции, устанавливаемой на прием, после возбуждения на ней реле ПВ. Для исключения срабатывания реле за счет энергии, накопленной обмотками перегонных реле направления, что привело бы к смене направления без необходимой проверки нажатия кнопки ПВ на соседней станции, реле ВСН подключается к линии через контакт реле 13П, которое по высокоомной обмотке выполняет дополнительные функции медленнодействующего обратного повторителя реле 0В.
Проверка нормальной работы реле 13П 'в качестве обратного повторителя 0В достигается включением фронтового контакта 13П в цепи возбуждения реле 0В.
Реле ПВ на станции, стоящей на отправление, кратковременно возбуждается за счет разряда конденсатора после обесточивания реле СН, чем фиксируется нажатие кнопки 0В на станции, стоящей на приеме. После срабатывания реле ВСН замыкаются цепи возбуждения реле ВК.П, ПКП и В, подготавливая смену направления.
Информация в лекции "Возвышение Московского княжества" поможет Вам.
С обесточиванием реле ПВ отпускают якоря реле ВСН и 0В. Цепь реле направления восстанавливается, а затем происходит обычный цикл смены направления.
Для использования вспомогательного режима при замкнутых проводах К, ОК в цепь контроля перегона включен тыловой контакт реле ПВ, отключающий блок питания от этой цепи.
ЧЕТЫРЕХПРОВОДНАЯ СХЕМА СМЕНЫ НАПРАВЛЕНИЙ


(рис.56 взят из учебного пособия Автоблокировка и Автоматическая локомотивная сигнализация.)






















