Для студентов МГТУ им. Н.Э.Баумана по предмету Учебно-технологическая практика (УТП)Контактная стыковая сваркаКонтактная стыковая сварка
5,0053
2022-09-152024-08-31СтудИзба
Лабораторная работа 4: Контактная стыковая сварка
Бестселлер
-52%
Описание
Контрольные вопросы
- Почему контактное сопротивление является в сварочном контуре максимальным и от каких факторов оно зависит?
- Укажите последовательность технологических операций при стыковой сварке методом сопротивления.
- Укажите последовательность технологических операций при стыковой сварке методом оплавления.
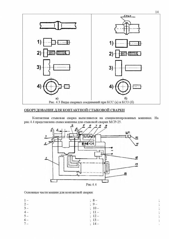
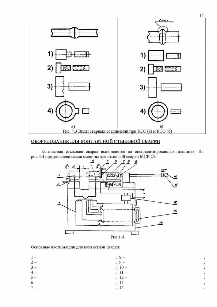
- Из каких основных частей состоит машина для контактной стыковой сварки?
Файлы условия, демо
Характеристики лабораторной работы
Учебное заведение
Семестр
Номер задания
Программы
Просмотров
52
Качество
Идеальное компьютерное
Размер
1,17 Mb
Список файлов
Контактная стыковая сварка - Э, СМ, РК.pdf

Вам все понравилось? Получите кэшбэк - 40 рублей на Ваш счёт при покупке. Поставьте оценку и напишите положительный комментарий к купленному файлу. После Вы получите деньги на ваш счет.