Для студентов по предмету Термодинамика и тепломассообменДля идеального термодинамического цикла теплового двигателя определить параметры состояния рабочего тела в характерных точках, удельную работу расширеДля идеального термодинамического цикла теплового двигателя определить параметры состояния рабочего тела в характерных точках, удельную работу расшире
5,00518003
2023-12-272023-12-27СтудИзба
Для идеального термодинамического цикла теплового двигателя определить параметры состояния рабочего тела в характерных точках, удельную работу расширения каждого процесса (для 1 кг рабочего тела), изменение внутренней энергии и энтальпии каждого проц
Описание
Для идеального термодинамического цикла теплового двигателя определить параметры состояния рабочего тела в характерных точках, удельную работу расширения каждого процесса (для 1 кг рабочего тела), изменение внутренней энергии и энтальпии каждого процесса, термический КПД цикла, среднее давление цикла, удельную теоретическую литровую (для 1 л рабочего объема) мощность двигателя.
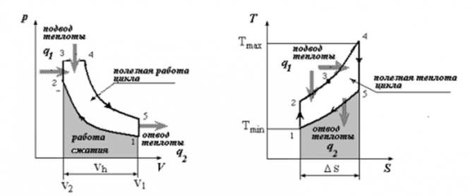
Рабочее тело - идеальный газ со свойствами воздуха (R=287 Дж/(кг∙К), k=1,4). Известны параметры в начальной точке: абсолютное давление p1 кПа и температура t1=30°С, а также степень сжатия ε=16, количество подводимой теплоты на изохорном участке цикла qv=0, количество подводимой теплоты на изобарном участке qр=1,4 МДж/кг, частота вращения коленчатого вала n=1500 мин-1. Изобразить цикл в координатных системах «p-v» и «T-∆s» с учетом масштаба.
Рисунок 2 – Схема идеального цикла Тринклера
Исходные данные: ε=14; qv=0.7 МДж/кг; qр=0.8МДж/кг; n=2000мин-1; к=1.4; t1=10 °С=283К; р1=99кПа; R=287Дж/кг∙К.
Найти: Т1-5, Р1-5, V1-5, q1-5, l1-5, ΔU1-5, ΔS1-5, ΔH1-5, Pt, Ht, Nt
Характеристики решённой задачи
Номер задания
Программы
Просмотров
2
Качество
Идеальное компьютерное
Размер
144,9 Kb
Список файлов
Задача.docx
