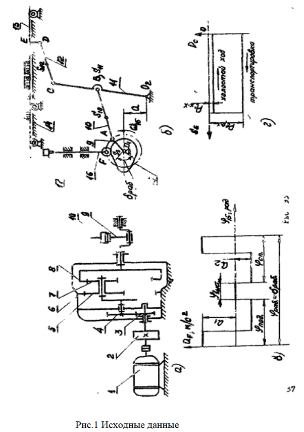
Для студентов МГТУ им. Н.Э.Баумана по предмету Теория механизмов и машин (ТММ)Проектирование и исследование механизмов пальцевого транспортераПроектирование и исследование механизмов пальцевого транспортера
5,0052
2020-11-032024-10-11СтудИзба
Другое 93: Проектирование и исследование механизмов пальцевого транспортера вариант Г
Описание





Характеристики учебной работы
Тип
Учебное заведение
Семестр
Номер задания
Вариант
Просмотров
74
Размер
2,73 Mb
Список файлов
Проектирование и исследование механизмов пальцевого транспортера (вариант №93Г).pdf

НОВИНКА: отчеты по практикам! Поиск - по названию предприятия в тэге. База учебных материалов МГТУ им. Н.Э. Баумана в формате pdf, оригиналы файлов отсутствуют (если иное не оговорено в описании). Вопросы задавайте ДО покупки в комментариях под файлами.