Курсовая работа 93: Проектирование и исследование механизмов пальцевого транспортера вариант Д
Описание
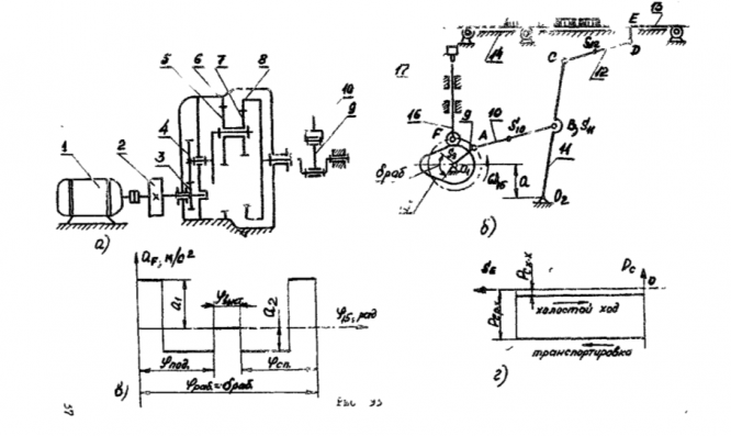
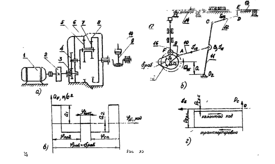
Проектирование и исследование механизмов пальцевого транспортера

№ п/п | Наименование параметра | Обозначение | Размерность | Числовое значение | ||
1. | Частота вращения вала двигателя | nд | об/с | 16.17 | ||
2. | Средняя скорость транспортировки | Vср | м/с | 0.6 | ||
3. | Коэффициент изменения средней скорости ползуна | KV | — | 1.15 | ||
4. | Ход ползуна 5 | H5 | м | 1.55 | ||
5. | Размеры звеньев: | коромысла 3 | lO3C | м | 1.55 | |
положение точки B | lO3B | м | 0.68 | |||
шатуна 4 | lCD | м | 0.8 | |||
положение точки E | lDE | м | 0.2 | |||
расстояние | a | м | 0.15 | |||
6. | Массы звеньев | Ползуна-линейки | m5 | кг | 11.25 | |
Шатунов | m2,4 | кг | 3.9 | |||
Коромысла | m3 | кг | 7.0 | |||
Кривошипа | m1 | кг | 1.85 | |||
7. | Масса одного ящика | mя | кг | 23.5 | ||
8. | Количество перемещаемых ящиков | Kя | — | 6 | ||
9. | Коэффициент неравномерности вращения вала 1 | δ | — | 0.12 | ||
10. | Момент инерции: | звена 1, деталей редуктора, приведённых к валу 1 | Jпр | кг·м2 | 0.5 | |
ротора двигателя | Jр | кг·м2 | - | |||
11. | Угловая координата силового расчёта | j1 | ˚ | 270 | ||
12. | Приведённый коэффициент трения: | ящиков по лотку | fя | — | 0.11 | |
линейки по роликам | fл | — | 0.07 | |||
13. | Числа зубьев колёс | z1/z2 | — | 10/20 | ||
14. | Модуль зубчатых колёс | m1,2 | мм | 5.0 | ||
15. | Ход толкателя | h8 | мм | 35 | ||
16. | Отношение ускорений толкателя | a1/a2 | — | 3.0 |

Характеристики курсовой работы
Список файлов
