Для студентов МГТУ им. Н.Э.Баумана по предмету Теория механизмов и машин (ТММ)Проектирование и исследование механизмов мотороллераПроектирование и исследование механизмов мотороллера
5,0055
2025-04-07СтудИзба

Курсовая работа 79: Проектирование и исследование механизмов мотороллера вариант Д

-50%

Описание

Проектирование и исследование механизмов мотороллера

Реферат

Расчетно-пояснительная записка к курсовому проекту “Проектирование и исследование механизмов мотороллера” содержит 51 страницы машинописного текста, 13 таблиц.
В расчетно-пояснительной записке проведено проектирование основного механизма одноцилиндрового двухтактного двигателя внутреннего сгорания, исследовано его движение, проведен кинематический и силовой расчёт основного механизма ДВС, спроектирован кулачковый механизм с роликовым толкателем, спроектирована цилиндрическая эвольвентная зубчатая передача, спроектирован планетарный редуктор с заданным передаточным отношением.

Содержание

  • Реферат………………………………………………………………………...…..1
  • Техническое задание, исходные данные…………………………………….…..4
  • 1.Определение закона движения механизма мотороллера…………………………………………………………….7
  • 1.1 Определение размеров центрального кривошипно-ползунного механизма……………………………………………7
  • 1.2. Построение диаграмм движущих сил, действующих на поршень.…..…...8
  • 1.3. Определение суммарного приведенного момента внешних сил, приложенных к звеньям механизма. ………………………...…..……………9
  • 1.4. Определение приведенного момента от сил, действующих на механизм..…..……………………………………………………………………10
  • 1.5. Определение суммарного приведенного момента инерции механизма....11
  • 1.6. Определение работы суммарного приведенного момента сил …………13
  • 1.7. Определение угловой скорости начального звена кривошипно-ползунного механизма. ………………………….………………………………………… 15
  • 1.8 Определение углового ускорения начального звена кривошипно-ползунного механизма……………………………………………………………………….16
  • 1.9 Определение времени движения кривошипно-ползунного механизма. …17
  • 2.Силовой расчет механизма………………………….………………..…19
  • 2.1.Исходные данные …………………………………………………….……19
  • 2.2. Определение скоростей центров масс звеньев механизма и угловой скорости шатуна ……………………..………...19
  • 2.3. Определение ускорение центров масс звеньев механизма и углового ускорение шатуна …………………………….....20
  • 2.4. Определение значений и направлений главных векторов и главных моментов сил инерции для заданного положения механизма…………….22
  • 2.5. Силовой расчет ..……....…………………………………………………...22
  • 3.Проектирование зубчатой передачи и планетарного механизма…………………………………………………………….25
  • 3.1.Качественные показатели зубчатых передач ………………………...…25
  • 3.2. Выбор коэффициентов смещения с учётом качественных показателей .2
  • 3.3. Геометрический расчёт зубчатой передачи …………...………………..26
  • 3.4. Построение профиля зуба, изготовляемого реечным инструментом….29
  • 3.5. Построение проектируемой зубчатой передачи………………………...31
  • 3.6. Проектирование планетарного редуктора с цилиндрическими колёсами…………………………………………………………………………32
  • 3.7. Графическая проверка……………………………………………………..36
  • 4.Проектирование кулачкового механизма………………………...37
  • 4.1. Построение кинематических диаграмм методом графического интегрирования.…………..…………..………..…………………………….....37
  • 4.2. Определение основных размеров кулачкового механизма …………....39
  • 4.3 Построение профиля кулачка...……………………………….………......40
  • 4.4. Построение графика изменения угла давления …..…………………….41
  • Заключение…………………………………………………………………...42
  • Приложение1..………………………………………………………………….44
  • Приложение 2…………………………………………………………………..47
  • Список использованной литературы………..………………………………...49

Техническое задание

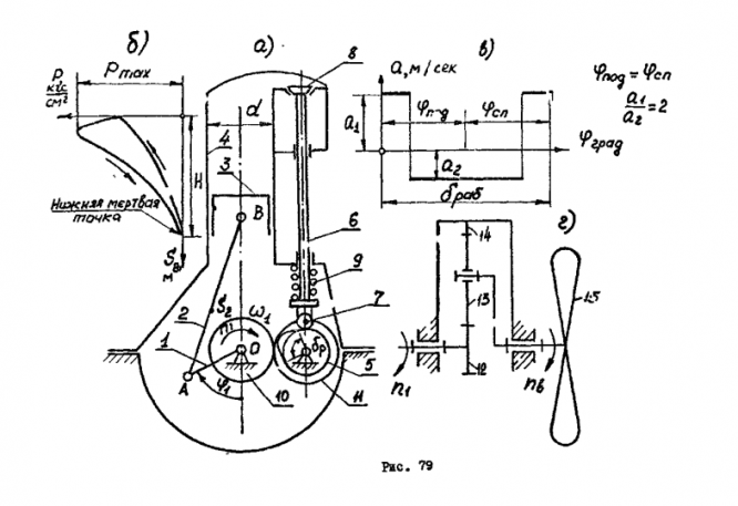
Механизмы движения мотороллера объединяют одноцилиндровый двухтактный двигатель внутреннего сгорания и вспомогательные устройства: механизм газораспределения и механизм привода вентилятора (рис.79).
Основным механизмом двигателя является кривошипно-ползунный (рис.79а), который состоит из кривошипа 1,шатуна 2 и поршня 3.Диаграмма изменения давления в цилиндре 4 двигателя (рис.79б) строится по данным табл. 79-2.Рабочий цикл двухтактного двигателя осуществляется за один оборот кривошипа.
Управление газораспределением д.в.с. осуществляется кулачковым механизмом, состоящим из кулачка 5 и толкателя 6 с роликом 7,воздействующим на выпускной клапан 8.Для прижима ролика к кулачку используется цилиндрическая пружина 9.Движение распределительного вала обеспечивается парой зубчатых колес 10 и 11,передаточное отношение которой
I10-11=1.Закон изменения ускорения толкателя в пределах рабочего угла поворота dраб. кулачка показан на рис. 79в.
Для привода вентилятора 15 охлаждения д.в.с. использован планетарный редуктор 12-13-14 (рис.79г) с числом сателлитов k=3.
Запуск двигателя начинается с нижней мертвой точки j1=0, с начала участка сжатия при начальной угловой скорости вращения w1нач=0 и производится вручную моментом запуска Мз. Можно считать, что необходимый для запуска крутящий момент Мз не зависит от угла поворота кривошипа и равен максимальному значению приведенного момента силы давления сжатия.

Исходные данные


по
пор.
Наименование
параметра
Обозначе-
ние
РазмерностьЗначение
12345
1Средняя скорость поршняVв срм/с12
2Число оборотов коленчатого вала на номинальном режиме
n1 ном

об/с

71,7
3Диаметр цилиндра d м0,080
4 Отношение длины шатуна к длине кривошипаlAB/lOA-3,6
5Отношение расстояния от точки А до центра тяжести шатуна к общей длине
lAS2/lAB

-

0,33
6Сила тяжести шатунаG2Н4,02
7Сила тяжести поршняG3Н4,51
8Момент инерции шатуна относительно центра тяжести
IS2

кг·м2

0,0025
9Момент инерции коленчатого вала с маховиком
I10

кг·м2

0,118
10Угловая координата кривошипа для силового расчета (от нижней мертвой точки такта сжатия)

φ1


рад


3,67
11Максимальное дав-ление в цилиндреpнам
max
Па2,55*106
12Число зубьев колеса 10 z10-18
13Межцентровое рас-стояниеА м0,073
14Модуль зубчатых колес 10 и 11mмм4
15Передаточное отноше-ние планетарного ре-дуктора

i-7,5
12345
16Ход толкателя кулачкового механизмаhм0,008
17Угол рабочего профиля кулачкаδррад1,137
18Максимально допустимый угол давления кулачка
αдоп

рад

0,612
Таблица «Давление в цилиндре двигателя (в долях максимального давления) в зависимости от положения поршня.
Путь поршня
(в долях хода Н)

Sb/H

0

0,025

0,05

0,1

0,2

0,3

0,4

0,5

0,6

0,7

0,8

0,9

1,0
Сжатиеp/pнам
max
0,290,230,200,160,10,060,040,030,01500,00800,00700,00600,005
Расши-рениеp/pнам
max
0,291,00,90,710,50,360,290,240,190,16500,13500,11500,005

Чертежи

Лист 1 - Определение закона движения

Лист 2 - Силовой расчет

Лист 3 - Проектирование зубчатой передачи

Лист 4 - Проектирование кулачкового механизма

Характеристики курсовой работы

Учебное заведение
Семестр
Номер задания
Вариант
Просмотров
771
Качество
Идеальное компьютерное
Размер
611,79 Kb

Список файлов

Проектирование и исследование механизмов мотороллера
РПЗ.doc
Чертежи.dwg
Чертежи.frw
Картинка-подпись
Если вам всё понравилось, поставьте оценку и напишите пару слов о работе - так вы поможете другим покупателям. В благодарность мы вернём вам 40 рублей на счёт.❤️

Комментарии

Нет комментариев
Стань первым, кто что-нибудь напишет!
Поделитесь ссылкой:
Цена: 5 000 2 490 руб.
Расширенная гарантия +3 недели гарантии, +10% цены
Рейтинг покупателей
5 из 5
Поделитесь ссылкой:
Сопутствующие материалы

Подобрали для Вас услуги

-57%
Вы можете использовать курсовую работу для примера, а также можете ссылаться на неё в своей работе. Авторство принадлежит автору работы, поэтому запрещено копировать текст из этой работы для любой публикации, в том числе в свою курсовую работу в учебном заведении, без правильно оформленной ссылки. Читайте как правильно публиковать ссылки в своей работе.
Свежие статьи
Популярно сейчас
Почему делать на заказ в разы дороже, чем купить готовую учебную работу на СтудИзбе? Наши учебные работы продаются каждый год, тогда как большинство заказов выполняются с нуля. Найдите подходящий учебный материал на СтудИзбе!
Ответы на популярные вопросы
Да! Наши авторы собирают и выкладывают те работы, которые сдаются в Вашем учебном заведении ежегодно и уже проверены преподавателями.
Да! У нас любой человек может выложить любую учебную работу и зарабатывать на её продажах! Но каждый учебный материал публикуется только после тщательной проверки администрацией.
Вернём деньги! А если быть более точными, то автору даётся немного времени на исправление, а если не исправит или выйдет время, то вернём деньги в полном объёме!
Да! На равне с готовыми студенческими работами у нас продаются услуги. Цены на услуги видны сразу, то есть Вам нужно только указать параметры и сразу можно оплачивать.
Отзывы студентов
Ставлю 10/10
Все нравится, очень удобный сайт, помогает в учебе. Кроме этого, можно заработать самому, выставляя готовые учебные материалы на продажу здесь. Рейтинги и отзывы на преподавателей очень помогают сориентироваться в начале нового семестра. Спасибо за такую функцию. Ставлю максимальную оценку.
Лучшая платформа для успешной сдачи сессии
Познакомился со СтудИзбой благодаря своему другу, очень нравится интерфейс, количество доступных файлов, цена, в общем, все прекрасно. Даже сам продаю какие-то свои работы.
Студизба ван лав ❤
Очень офигенный сайт для студентов. Много полезных учебных материалов. Пользуюсь студизбой с октября 2021 года. Серьёзных нареканий нет. Хотелось бы, что бы ввели подписочную модель и сделали материалы дешевле 300 рублей в рамках подписки бесплатными.
Отличный сайт
Лично меня всё устраивает - и покупка, и продажа; и цены, и возможность предпросмотра куска файла, и обилие бесплатных файлов (в подборках по авторам, читай, ВУЗам и факультетам). Есть определённые баги, но всё решаемо, да и администраторы реагируют в течение суток.
Маленький отзыв о большом помощнике!
Студизба спасает в те моменты, когда сроки горят, а работ накопилось достаточно. Довольно удобный сайт с простой навигацией и огромным количеством материалов.
Студ. Изба как крупнейший сборник работ для студентов
Тут дофига бывает всего полезного. Печально, что бывают предметы по которым даже одного бесплатного решения нет, но это скорее вопрос к студентам. В остальном всё здорово.
Спасательный островок
Если уже не успеваешь разобраться или застрял на каком-то задание поможет тебе быстро и недорого решить твою проблему.
Всё и так отлично
Всё очень удобно. Особенно круто, что есть система бонусов и можно выводить остатки денег. Очень много качественных бесплатных файлов.
Отзыв о системе "Студизба"
Отличная платформа для распространения работ, востребованных студентами. Хорошо налаженная и качественная работа сайта, огромная база заданий и аудитория.
Отличный помощник
Отличный сайт с кучей полезных файлов, позволяющий найти много методичек / учебников / отзывов о вузах и преподователях.
Отлично помогает студентам в любой момент для решения трудных и незамедлительных задач
Хотелось бы больше конкретной информации о преподавателях. А так в принципе хороший сайт, всегда им пользуюсь и ни разу не было желания прекратить. Хороший сайт для помощи студентам, удобный и приятный интерфейс. Из недостатков можно выделить только отсутствия небольшого количества файлов.
Спасибо за шикарный сайт
Великолепный сайт на котором студент за не большие деньги может найти помощь с дз, проектами курсовыми, лабораторными, а также узнать отзывы на преподавателей и бесплатно скачать пособия.
Популярные преподаватели
Добавляйте материалы
и зарабатывайте!
Продажи идут автоматически
6970
Авторов
на СтудИзбе
263
Средний доход
с одного платного файла
Обучение Подробнее
{user_main_secret_data}