Курсовая работа 136: Проектирование и исследование механизмов двухступенчатого компрессора двойного действия вариант Д
Описание
Идеальная работа с исходниками в автокаде. Также есть все файлы в пдф, которые вы можете перевести в любую другую среду проектирования. По всем вопросам можете писать, найдя меня в вк.
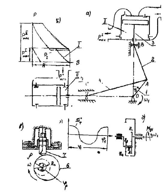
Угловой двухступенчатый компрессор двойного действия (рис. 1) предназначен для сжатия воздуха и выполнен на базе сдвоенного кривошипно-ползунного механизма, состоящего из коленчатого вала 1 с шатунами 2, 4 и ползунов 3 и 5 (жестко связанных между собой поршней, штоков и крейцкопфов). Механизмы компрессора приводятся (рис.1 а) в движение асинхронным электродвигателем (на рисунке не показан), связанным с коленчатым валом 1 редуктором. Смазка коренных и шатунных подшипников основного механизма компрессора осуществляется от шестеренного насоса, который приводится в движение от коленчатого вала. Смазку цилиндров осуществляют поршнями, представляющими собой многопоршневые насосы с кулачковым механизмом 6, 7. Насос имеет отдельный привод с планетарным редуктором. (рис. 1 в, д)
Косинусоидальный закон изменения аналогов ускорения поршня представлен на рис. 1 г. Изменение давления в цилиндрах компрессора по перемещению поршней характеризуется индикаторными диаграммами I и II ступеней (рис. 1 б), данные для построения которой приведены в таблице 2.

МГТУ им. Н.Э.Баумана


















