Для студентов МГТУ им. Н.Э.Баумана по предмету Теория механизмов и машин (ТММ)Проектирование и исследование механизмов мотороллераПроектирование и исследование механизмов мотороллера
5,0054
2021-09-172025-04-07СтудИзба
Курсовая работа 79: Проектирование и исследование механизмов мотороллера вариант Г
Описание
Тема: Проектирование и исследование механизмов мотороллера
Содержит РПЗ и все листы в пдф и Inventor
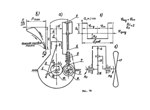
Механизмы движения мотороллера объединяют одноцилиндровый двухтактный двигатель внутреннего сгорания и вспомогательные устройства: механизм газораспределения и механизм привода вентилятора (рис.79).
Основным механизмом двигателя является кривошипно-ползунный (рис.79а), который состоит из кривошипа 1, шатуна 2 и поршня 3. Диаграмма изменения давления в цилиндре 4 двигателя (рис.79б) строится по данным табл. 79-2.Рабочий цикл двухтактного двигателя осуществляется за один оборот кривошипа.
Управление газораспределением д.в.с. осуществляется кулачковым механизмом, состоящим из кулачка 5 и толкателя 6 с роликом 7, воздействующим на выпускной клапан 8. Для прижима ролика к кулачку используется цилиндрическая пружина 9. Движение распределительного вала обеспечивается парой зубчатых колес 10 и 11, передаточное отношение которой i10-11=1.Закон изменения ускорения толкателя в пределах рабочего угла поворота fраб кулачка показан на рис. 79в.
Для привода вентилятора 15 охлаждения д.в.с. использован планетарный редуктор 12-13-14 (рис.79г) с числом сателлитов k=3.
Запуск двигателя начинается с нижней мертвой точки j1=0, с начала участка сжатия при начальной угловой скорости вращения ω1нач=0 и производится вручную моментом запуска . Можно считать, что необходимый для запуска крутящий момент не зависит от угла поворота кривошипа и равен максимальному значению приведенного момента силы давления сжатия.
Оглавление
Техническое задание
Исходные данные.
1. Определение закона движения основного механизма.
1.1 Определение недостающих размеров кривошипно-ползунного механизма.
1.2 Построение индикаторной диаграммы и диаграммы движущей силы, действующей на поршень.
1.3 Определение передаточных функций.
1.4 Определение приведенного момента сил, действующих на механизм.
1.5 Определение приведенного момента инерции второй группы звеньев.
1.6 Определение работы суммарного приведенного момента сил.
1.7 Определение угловой скорости звена приведения.
1.8 Определение углового ускорения начального звена кривошипно-ползунного механизма.
1.9 Определение времени движения кривошипно-ползунного механизма.
2. Cиловой расчет.
2.1 Исходные данные для силового расчета.
2.2 Определение скоростей центров масс звеньев механизма и угловой скорости шатуна.
2.3 Определение ускорение центров масс звеньев механизма и углового ускорения шатуна.
2.4 Определение значений и направлений главных векторов и главных моментов сил инерции для заданного положения механизма.
2.5 Силовой расчет.
3. Проектирование цилиндрической зубчатой передачи.
3.1. Качественные показатели зубчатых передач.
3.2. Выбор коэффициентов смещения с учетом качественных показателей.
3.3 Геометрический расчет зубчатой передачи.
3.4 Построение профиля зуба, изготовляемого реечным инструментом.
3.5 Построение проектируемой зубчатой передачи.
3.6 Проектирование планетарного редуктора с цилиндрическими колесами.
3.7 Графическая проверка.
4. Проектирование кулачкового механизма.
4.1. Построение диаграмм передаточных функций.
4.2 Определение основных размеров кулачкового механизма.
4.3 Построение профиля кулачка.
4.4. Построение графика угла давления.
Заключение.
Приложение 1
Приложение 2
Список литературы
Содержит РПЗ и все листы в пдф и Inventor
Механизмы движения мотороллера объединяют одноцилиндровый двухтактный двигатель внутреннего сгорания и вспомогательные устройства: механизм газораспределения и механизм привода вентилятора (рис.79).
Основным механизмом двигателя является кривошипно-ползунный (рис.79а), который состоит из кривошипа 1, шатуна 2 и поршня 3. Диаграмма изменения давления в цилиндре 4 двигателя (рис.79б) строится по данным табл. 79-2.Рабочий цикл двухтактного двигателя осуществляется за один оборот кривошипа.
Управление газораспределением д.в.с. осуществляется кулачковым механизмом, состоящим из кулачка 5 и толкателя 6 с роликом 7, воздействующим на выпускной клапан 8. Для прижима ролика к кулачку используется цилиндрическая пружина 9. Движение распределительного вала обеспечивается парой зубчатых колес 10 и 11, передаточное отношение которой i10-11=1.Закон изменения ускорения толкателя в пределах рабочего угла поворота fраб кулачка показан на рис. 79в.
Для привода вентилятора 15 охлаждения д.в.с. использован планетарный редуктор 12-13-14 (рис.79г) с числом сателлитов k=3.
Запуск двигателя начинается с нижней мертвой точки j1=0, с начала участка сжатия при начальной угловой скорости вращения ω1нач=0 и производится вручную моментом запуска . Можно считать, что необходимый для запуска крутящий момент не зависит от угла поворота кривошипа и равен максимальному значению приведенного момента силы давления сжатия.
Оглавление
Техническое задание
Исходные данные.
1. Определение закона движения основного механизма.
1.1 Определение недостающих размеров кривошипно-ползунного механизма.
1.2 Построение индикаторной диаграммы и диаграммы движущей силы, действующей на поршень.
1.3 Определение передаточных функций.
1.4 Определение приведенного момента сил, действующих на механизм.
1.5 Определение приведенного момента инерции второй группы звеньев.
1.6 Определение работы суммарного приведенного момента сил.
1.7 Определение угловой скорости звена приведения.
1.8 Определение углового ускорения начального звена кривошипно-ползунного механизма.
1.9 Определение времени движения кривошипно-ползунного механизма.
2. Cиловой расчет.
2.1 Исходные данные для силового расчета.
2.2 Определение скоростей центров масс звеньев механизма и угловой скорости шатуна.
2.3 Определение ускорение центров масс звеньев механизма и углового ускорения шатуна.
2.4 Определение значений и направлений главных векторов и главных моментов сил инерции для заданного положения механизма.
2.5 Силовой расчет.
3. Проектирование цилиндрической зубчатой передачи.
3.1. Качественные показатели зубчатых передач.
3.2. Выбор коэффициентов смещения с учетом качественных показателей.
3.3 Геометрический расчет зубчатой передачи.
3.4 Построение профиля зуба, изготовляемого реечным инструментом.
3.5 Построение проектируемой зубчатой передачи.
3.6 Проектирование планетарного редуктора с цилиндрическими колесами.
3.7 Графическая проверка.
4. Проектирование кулачкового механизма.
4.1. Построение диаграмм передаточных функций.
4.2 Определение основных размеров кулачкового механизма.
4.3 Построение профиля кулачка.
4.4. Построение графика угла давления.
Заключение.
Приложение 1
Приложение 2
Список литературы
Характеристики курсовой работы
Учебное заведение
Семестр
Номер задания
Вариант
Просмотров
129
Размер
6,61 Mb
Список файлов
Курсовая работа
1 лист.idw
2 лист.idw
3 лист.idw
4 лист.idw
~$яснительная записка.docx
Пояснительная записка.docx
Пояснительная записка.pdf
1 лист.pdf
2 лист.pdf
3 лист.pdf
4 лист.pdf
Комментарии
Нет комментариев
Стань первым, кто что-нибудь напишет!
МГТУ им. Н.Э.Баумана


















