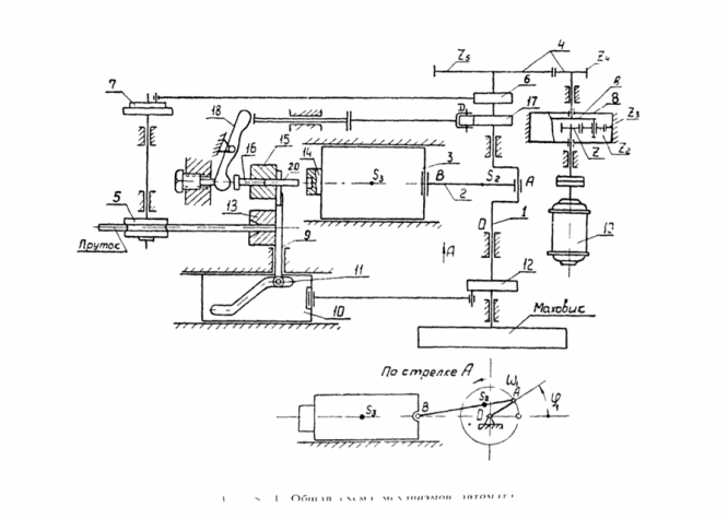
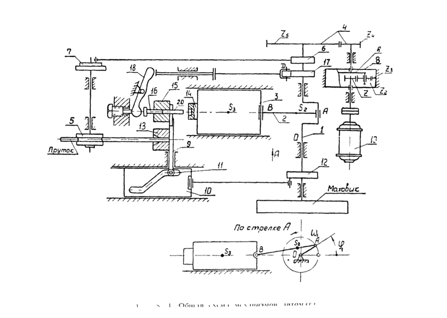
Для студентов МГТУ им. Н.Э.Баумана по предмету Теория механизмов и машин (ТММ)Проектирование и исследование механизмов одноударного холодновысадочного автомата с цельной матрицейПроектирование и исследование механизмов одноударного холодновысадочного автомата с цельной матрицей
5,0056
2021-01-232021-01-23СтудИзба
Курсовая работа 8: Проектирование и исследование механизмов одноударного холодновысадочного автомата с цельной матрицей вариант Б
Описание
Характеристики курсовой работы
Учебное заведение
Семестр
Номер задания
Вариант
Просмотров
116
Размер
9,98 Mb
Список файлов
Эксель расчеты
3list.xls
Зубчатая передача.xlsx
Кулачок.xlsx
Лист 2 синтез.xlsx
Приведенные моменты инерций.xlsx
Приведенные моменты.xlsx
Энергии.xlsx
1 лист.cdw
1 лист.cdw.bak
01.pdf
2 лист.cdw
2 лист.cdw.bak
3 лист.cdw
3 лист.cdw.bak
4 лист.cdw
4 лист.cdw.bak
8Б().xmcd
kp.xmcd
Курсач.xmcd
РПЗ.docx
МГТУ им. Н.Э.Баумана



















