Для студентов МГТУ им. Н.Э.Баумана по предмету Теория механизмов и машин (ТММ)Проектирование и исследование механизмов дизель-воздуходувной установкиПроектирование и исследование механизмов дизель-воздуходувной установки
5,0055
2020-12-182020-12-18СтудИзба
Курсовая работа 13: Проектирование и исследование механизмов дизель-воздуходувной установки вариант В
Описание
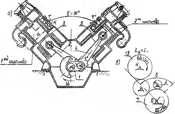
препод поменял угол между ползунами с 90 на 120 градусов
дизель воздуходувная установка

Характеристики курсовой работы
Учебное заведение
Семестр
Номер задания
Вариант
Просмотров
104
Размер
3,64 Mb
Список файлов
list1.dwg
list1.pdf
list2.dwg
list2.pdf
list3.dwg
list3.pdf
list4.dwg
list4.pdf
Рпз.docx
Комментарии
Нет комментариев
Стань первым, кто что-нибудь напишет!
МГТУ им. Н.Э.Баумана


















