Главная » Учебные материалы » Теория механизмов и машин (ТММ) » Курсовые работы » МГТУ им. Н.Э.Баумана » 5 семестр » Номер 19 » Вариант А » Проектирование и исследование механизмов движения автомобиля
Для студентов МГТУ им. Н.Э.Баумана по предмету Теория механизмов и машин (ТММ)Проектирование и исследование механизмов движения автомобиляПроектирование и исследование механизмов движения автомобиля
5,00512
2025-04-07СтудИзба

Курсовая работа 19: Проектирование и исследование механизмов движения автомобиля вариант А

-50%

Описание

Проектирование и исследование механизмов движения автомобиля

Содержание

  • КРАТКОЕ ОПИСАНИЕ РАБОТЫ МЕХАНИЗМОВ.....…………………………..3
  • 1. Проектирование кривошипно-ползунного механизма………………………....7
  • 2. Силовой расчет…………………………………………………………………..12
  • 3. Проектирование зубчатой передачи и планетарного механизма……………..31
  • 4. Кулачковый механизм…………………………………………………………...41
  • ЗАКЛЮЧЕНИЕ……………………………………………………………………..43
  • СПИСОК ИСПОЛЬЗОВАННЫХ ИСТОЧНИКОВ………………………………44
  • ПРИЛОЖЕНИЕ…………………………………………………………………….45

Краткое описание работы механизмов

Двухосный грузовой автомобиль средней грузоподъемности приводится в движение двигателем внутреннего сгорания мощностью в 60-70 л.с. и может развивать скорость до 120 км/час.
Колесный ход автомобиля (рисунок 1) состоит из силовой установки (двигатель 1 с маховиком) и трансмиссии, включающей муфту сцепления, коробку передач 2, карданный вал 3 с дифференциалом в ведущие колеса 4.
Рисунок 1 – Общий вид установки
Двигатель установки четырехтактный, четырехцилиндровый с вертикальным рядным расположением цилиндров и водяным охлаждением.
Различают два режима работы двигателя: 1) при холостом ходе, когда муфта сцепления выключена, и 2) при движении автомобиля (номинальный режим), когда муфта сцепления соединяет коленчатый вал с остальными механизмами автомобиля. Рабочий цикл в каждом цилиндре двигателя совершается за 2 оборота коленчатого вала и характеризуется индикаторной диаграммой, показывающей изменение давления газов в каждом цилиндре двигателя (Рисунок 2). Сплошной линией очерчена индикаторная диаграмма номинального режима, пунктирно-индикаторная диаграмма холостого хода.
Рисунок 2 – Индикаторная диаграмма двигателя

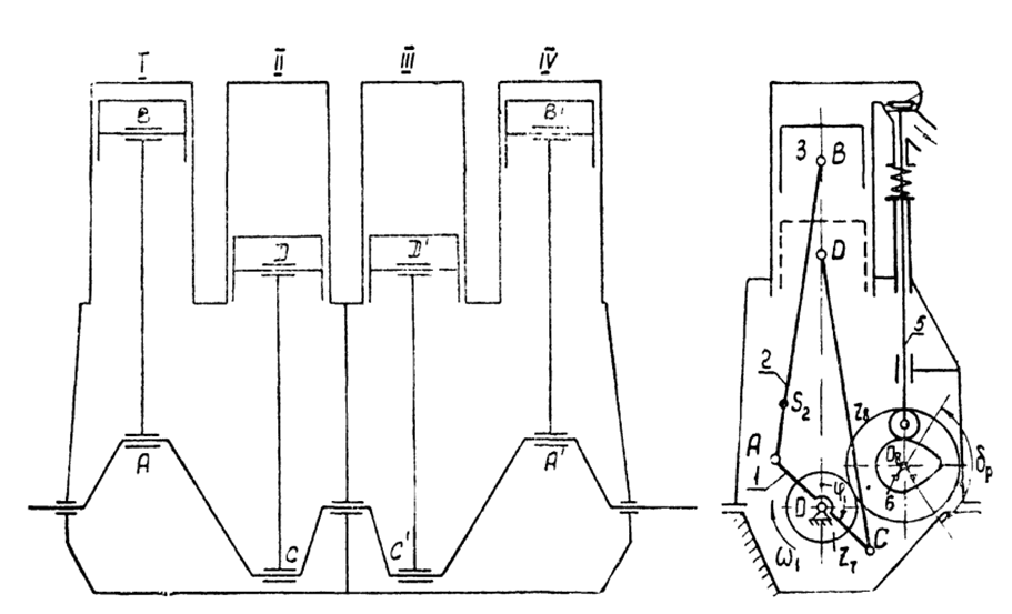
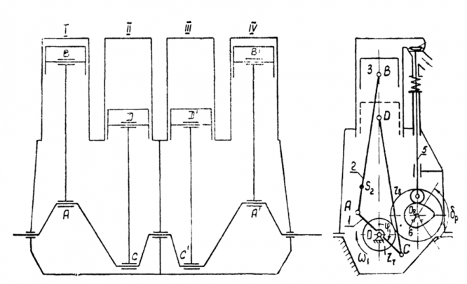
Основной механизм двигателя состоит из четырех одинаковых кривошипно-ползунных механизмов 1,2,3,4 расположенных в параллельных плоскостях 1,2,3,4, кривошипы которых размещены на одном коленчатом валу со сдвигом в 180 град (Рисунок 3).
Рисунок 3 – Схема механизма двигателя и кулачкового привода клапанов
Порядок работы механизмов и чередование процессов в цилиндрах двигателя показаны в Таблице 1.
Таблица 1
Управление газораспределением осуществляется клапанами 4, которые приводятся в движение кулачковыми механизмами (Рисунок 3). Кулачки 6 закреплены на валу , который кинематически связан с коленчатым валом через зубчатую передачу z8, z7. Толкатель 5 двигается поступательно, и ускорение его изменяется по закону, представленному на Рисунке 4. Работа клапанов строго увязана по фазам с вращением коленчатого вала, угловая скорость которого в два раза больше угловой скорости кулачкового вала.
Рисунок 4 – Закон изменения ускорения толкателя кулачкового механизма

Вентилятор охлаждающего устройства приводится в движение от коленчатого вала двигателя через зубчатый механизм (Рисунок 5), состоящий из передачи z1, z2 с неподвижными осями и планетарного редуктора z3, z4, z5 [1].
Рисунок 5 – Схема планетарного механизма

Исходные данные

Чертежи

Лист 1 - Определение закона движения механизма

Лист 2 - Силовой расчет

Лист 3 - Проектирование зубчатой передачи и планетарного редуктора

Лист 4 - Проектирование кулачкового механизма

Характеристики курсовой работы

Учебное заведение
Семестр
Номер задания
Вариант
Просмотров
841
Качество
Идеальное компьютерное
Размер
3,06 Mb

Список файлов

Проектирование и исследование механизмов движения автомобиля
Доп.cdw
Лист 1.cdw
Лист 2.cdw
Лист 3.cdw
Лист 4.cdw
Маткад - Лист 1.xmcd
Маткад - Лист 3.xmcd
Маткад - Лист 4.xmcd
РПЗ.docx
Картинка-подпись
Вам все понравилось? Получите кэшбэк - 40 рублей на Ваш счёт при покупке. Поставьте оценку и напишите положительный комментарий к купленному файлу. После Вы получите деньги на ваш счет.

Комментарии

Нет комментариев
Стань первым, кто что-нибудь напишет!
Поделитесь ссылкой:
Цена: 5 000 2 490 руб.
Расширенная гарантия +3 недели гарантии, +10% цены
Рейтинг покупателей
5 из 5
Поделитесь ссылкой:
Сопутствующие материалы

Подобрали для Вас услуги

-20%
-29%
3d-моделирование
7 000 4 999 руб.
Вы можете использовать курсовую работу для примера, а также можете ссылаться на неё в своей работе. Авторство принадлежит автору работы, поэтому запрещено копировать текст из этой работы для любой публикации, в том числе в свою курсовую работу в учебном заведении, без правильно оформленной ссылки. Читайте как правильно публиковать ссылки в своей работе.
Свежие статьи
Популярно сейчас
Зачем заказывать выполнение своего задания, если оно уже было выполнено много много раз? Его можно просто купить или даже скачать бесплатно на СтудИзбе. Найдите нужный учебный материал у нас!
Ответы на популярные вопросы
Да! Наши авторы собирают и выкладывают те работы, которые сдаются в Вашем учебном заведении ежегодно и уже проверены преподавателями.
Да! У нас любой человек может выложить любую учебную работу и зарабатывать на её продажах! Но каждый учебный материал публикуется только после тщательной проверки администрацией.
Вернём деньги! А если быть более точными, то автору даётся немного времени на исправление, а если не исправит или выйдет время, то вернём деньги в полном объёме!
Да! На равне с готовыми студенческими работами у нас продаются услуги. Цены на услуги видны сразу, то есть Вам нужно только указать параметры и сразу можно оплачивать.
Отзывы студентов
Ставлю 10/10
Все нравится, очень удобный сайт, помогает в учебе. Кроме этого, можно заработать самому, выставляя готовые учебные материалы на продажу здесь. Рейтинги и отзывы на преподавателей очень помогают сориентироваться в начале нового семестра. Спасибо за такую функцию. Ставлю максимальную оценку.
Лучшая платформа для успешной сдачи сессии
Познакомился со СтудИзбой благодаря своему другу, очень нравится интерфейс, количество доступных файлов, цена, в общем, все прекрасно. Даже сам продаю какие-то свои работы.
Студизба ван лав ❤
Очень офигенный сайт для студентов. Много полезных учебных материалов. Пользуюсь студизбой с октября 2021 года. Серьёзных нареканий нет. Хотелось бы, что бы ввели подписочную модель и сделали материалы дешевле 300 рублей в рамках подписки бесплатными.
Отличный сайт
Лично меня всё устраивает - и покупка, и продажа; и цены, и возможность предпросмотра куска файла, и обилие бесплатных файлов (в подборках по авторам, читай, ВУЗам и факультетам). Есть определённые баги, но всё решаемо, да и администраторы реагируют в течение суток.
Маленький отзыв о большом помощнике!
Студизба спасает в те моменты, когда сроки горят, а работ накопилось достаточно. Довольно удобный сайт с простой навигацией и огромным количеством материалов.
Студ. Изба как крупнейший сборник работ для студентов
Тут дофига бывает всего полезного. Печально, что бывают предметы по которым даже одного бесплатного решения нет, но это скорее вопрос к студентам. В остальном всё здорово.
Спасательный островок
Если уже не успеваешь разобраться или застрял на каком-то задание поможет тебе быстро и недорого решить твою проблему.
Всё и так отлично
Всё очень удобно. Особенно круто, что есть система бонусов и можно выводить остатки денег. Очень много качественных бесплатных файлов.
Отзыв о системе "Студизба"
Отличная платформа для распространения работ, востребованных студентами. Хорошо налаженная и качественная работа сайта, огромная база заданий и аудитория.
Отличный помощник
Отличный сайт с кучей полезных файлов, позволяющий найти много методичек / учебников / отзывов о вузах и преподователях.
Отлично помогает студентам в любой момент для решения трудных и незамедлительных задач
Хотелось бы больше конкретной информации о преподавателях. А так в принципе хороший сайт, всегда им пользуюсь и ни разу не было желания прекратить. Хороший сайт для помощи студентам, удобный и приятный интерфейс. Из недостатков можно выделить только отсутствия небольшого количества файлов.
Спасибо за шикарный сайт
Великолепный сайт на котором студент за не большие деньги может найти помощь с дз, проектами курсовыми, лабораторными, а также узнать отзывы на преподавателей и бесплатно скачать пособия.
Популярные преподаватели
Добавляйте материалы
и зарабатывайте!
Продажи идут автоматически
6969
Авторов
на СтудИзбе
263
Средний доход
с одного платного файла
Обучение Подробнее
{user_main_secret_data}