Для студентов МГТУ им. Н.Э.Баумана по предмету Теория механизмов и машин (ТММ)Проектирование и исследование механизмов плунжерного насоса простого действияПроектирование и исследование механизмов плунжерного насоса простого действия
5,005162
2018-01-162025-04-07СтудИзба
Курсовая работа 37: Проектирование и исследование механизмов плунжерного насоса простого действия вариант Г
-50%
Описание
Проектирование и исследование механизмов плунжерного насоса простого действия
Реферат
Данная расчетно-пояснительная записка (РПЗ) содержит 30 страниц машинописного текста 5 рисунков, 5 таблиц.В курсовом проекте выполнено проектирование и исследование механизмов двухступенчатого двухцилиндрового поршневого компрессора.
Проведено:
- Проектирование механизма и определения закона движения;
- Силовой расчет механизма;
- Проектирование зубчатой передачи и планетарного редуктора.
- Проектирование кулачкового механизма с поступательно движущимся толкателем.
Содержание
- ТЕХНИЧЕСКОЕ ЗАДАНИЕ 4
- ИСХОДНЫЕ ДАННЫЕ 5
- 1. Проектирование основного механизма и определение закона движения 8
- 1.1. Длины звеньев механизма 8
- 1.2. Динамическая модель механизма 8
- 1.3. Аналоги скоростей точек и звеньев механизма 8
- 1.4. Приведенный момент сопротивления 10
- 1.5. Приведенный момент движущих сил 11
- 1.6. Приведенный суммарный момент 11
- 1.7. Суммарная работа 11
- 1.8. Приведенные моменты инерции J IIпр звеньев II группы 12
- 1.9. Полной кинетическая энергия Т(φ) всего механизма 13
- 1.10. Кинетическая энергия ТII (φ) II группы звеньев 13
- 1.12. График кинетической энергии первой группы звеньев ТI (φ1*) 13
- 1.13. Угловая скорость звена приведения. 14
- 1.14. Необходимый момент инерции маховых масс JprI 14
- 1.15. Момент инерции дополнительной маховой массы Ошибка! Закладка не определена.
- 1.16. Габаритные размеры и масса маховика 14
- 1.17. График (приближенный) угловой скорости ω1 15
- 2.Силовой расчет механизма 15
- 2.1. Исходные данные для силового расчёта механизма 16
- 2.2. Нахождение скоростей. План скоростей 16
- 2.3. Нахождение ускорений. План ускорений 16
- 2.5. Кинетостатический силовой расчет механизма 17
- 3. Проектирование зубчатых передач планетарного редуктора. 19
- 3.1. Расчет параметров зубчатой передачи. 19
- 3.2. Графический расчет эвольвентной зубчатой передачи. 19
- 3.3. Выбор коэффициентов смещения. 21
- 3.4. Результаты расчеты зубчатой передачи 21
- 3.5. Построение профиля зуба колеса, изготовляемого реечным инструментом 22
- 3.6. Построение проектируемой зубчатой передачи 23
- 3.7. Расчет планетарного редуктора. 23
- 4. Проектирование кулачкового механизма. 25
- 4.1 Построение кинематических диаграмм методом графического интегрирования. 25
- 4.2 Определение основных размеров кулачкового механизма. 25
- 4.3 Построение профиля кулачка. 26
- 4.4. Построение графика угла давления 26
- Заключение 27
- Список использованной литературы: 29
Техническое задание
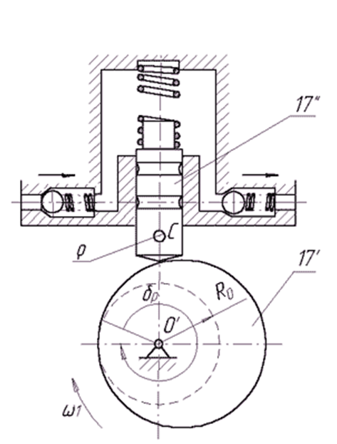
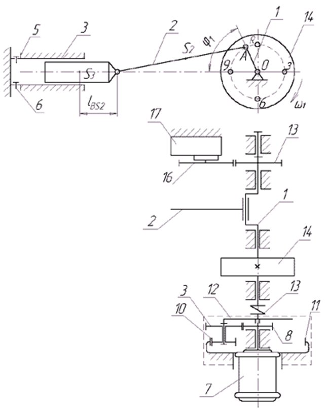
Насос простого действия (рис. 1) состоит из кривошипно-ползунного механизма 1, 2, 3, ползун 3 которого является плунжером насоса, совершающим возвратно поступательное движение в горизонтальном цилиндре 4 с автоматически действующими клапанами 5, 6. Рабочий цикл такой установки совершается за один оборот кривошипа 1. При движении плунжера 3 вправо происходит всасывание жидкости в цилиндр при давлении ниже атмосферного pmin и при движении поршня влево - нагнетание жидкости в трубопровод при давлении pmax (смотрите индикаторную диаграмму рис. 2). Коленчатый вал 1 кривошипно-ползунного механизма приводится во вращательное движение от электродвигателя 7 через планетарный редуктор с колесами 8, 9, 10, 11, водило 12 и муфту 13. Для обеспечения требуемой неравномерности движения коленчатого вала имеется маховик 14. Смазка подвижных соединений механизма установки осуществляется под давлением от масляного насоса 17 кулачкового типа (рис. 3). Закон движения толкателя в пределах рабочего угла поворота кулачка φраб. Вращение кулачка 17 осуществляется от кривошипа 1 через корригированные зубчатые колеса 15 и 16 с неподвижными осями вращения.Исходные данные
Параметр | Обозначение | Размерность | Значение | |
1 | Средняя скорость поршня | (VB)ср | м/с | 0,693 |
2 | Отношение длины шатуна 2 (4) к длине кривошипа 1 | lBC /lAB | - | 4.86 |
3 | Отношение расстояния от точки B(F) до центра масс шатуна к длине шатуна | lBS2 /lBC | - | 0.24 |
4 | Диаметр цилиндров | d | м | 0.1 |
5 | Частота вращения коленчатого вала двигателя | n1 | 1/c | 130 |
6 | Расстояние от точки С(D) до центра масс зв.3(зв.5) | lcs3 | м | 0.17 |
7 | Давление воздуха в цилиндре | Pmax | МПа | 2,157 |
8 | Давление воздуха плунжера | Pmin | МПа | 0,049 |
9 | Масса шатуна | m2 | кг | 8 |
10 | Масса поршня | m3 | кг | 20 |
11 | Момент инерции шатуна относительно оси, проходящей через его центр масс | I2S | кг·м² | 0.157 |
12 | Коэффициент неравномерности вращения вала I | d | - | 1/25 |
13 | Маховой момент муфты 13 | (G )1 | кг | 0,007 |
14 | Момент инерции редуктора, приведенный к валу I | кг | 0,177 | |
15 | Момент инерции коленчатого вала (без маховика) | I01пр | кг.м2 | 0,0299 |
16 | Маховой момент ротора электродвигателя | G | кг | 0,039 |
17 | Угловая координата кривошипа для силового расчета | j1 | град | 300 |
18 | Число зубьев колес | z15 | 14 | |
z16 | 27 | |||
19 | Модуль зубчатых передач | m | мм | 4 |
20 | Передаточное отношение планетарного редуктора | U8-12 | 11,3 | |
21 | Ход плунжера масляного насоса | h | м | 0,01 |
22 | Число сателлитов в планетарном редукторе | k | 3 | |
23 | Радиус скругления плунжера по отношению к | м | 0,009 | |
24 | Угол рабочего профиля кулачка | y =j | град | 330 |
25 | Максимально допустимый угол давления в кулачковом механизме | [u] | град | 28 |
орп



Чертежи
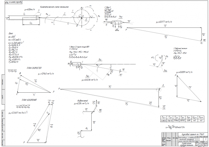
Лист 1 - Определение законов движения механизма ![]()
Лист 2 - Силовой раасчет основного механизма ![]()
Лист 3 - Проектирование зубчатых передач планетарного редуктора ![]()
Лист 4 - Проектирование кулачкового механизма ![]()
Характеристики курсовой работы
Учебное заведение
Семестр
Номер задания
Вариант
Просмотров
1783
Качество
Идеальное компьютерное
Размер
2,01 Mb
Преподаватели
Список файлов
37-Г
Лист 1.cdw
Лист 1.pdf
Лист 2.cdw
Лист 2.pdf
Лист 3.cdw
Лист 3.pdf
Лист 4.cdw
Лист 4.pdf
РПЗ.docx
Расчеты - 1.xmcd
Расчеты - 2.xmcd

Вам все понравилось? Получите кэшбэк - 40 рублей на Ваш счёт при покупке. Поставьте оценку и напишите положительный комментарий к купленному файлу. После Вы получите деньги на ваш счет.
Комментарии

aasdfgvbn: добрый вечер! а такая большая масса маховика является нормальной? :
Здравствуйте! Да, КП был зачтен.

добрый вечер! а такая большая масса маховика является нормальной? :