Для студентов МГТУ им. Н.Э.Баумана по предмету Теория механизмов и машин (ТММ)Проектирование и исследование механизмов одноударного холодновысадочного автомата с цельной матрицейПроектирование и исследование механизмов одноударного холодновысадочного автомата с цельной матрицей
5,00572
2017-12-212025-04-07СтудИзба
Курсовая работа 8: Проектирование и исследование механизмов одноударного холодновысадочного автомата с цельной матрицей вариант В
-50%
Описание
Проектирование и исследование механизмов одноударного холодновысадочного автомата с цельной матрицей
Оглавление
- РЕФЕРАТ 2
- 1.ТЕХНИЧЕСКОЕ ЗАДАНИЕ 3
- 1.2 Исходные данные 4
- 2. ОПРЕДЕЛЕНИЕ ЗАКОНА ДВИЖЕНИЯ 6
- 2.1 Определение размеров механизма 6
- 2.2 Определение координат точек механизма и передаточных функций 7
- 2.2.1 Определение координат точек механизма 7
- 2.2.2 Определение кинематических передаточных функций скорости и ускорения 7
- 2.2.3 Определение средней скорости начального звена 8
- 2.2.4 Построение графиков изменения аналогов скорости 8
- 2.3 Формирование динамической модели 9
- 2.3.1 Приведение сил 10
- 2.3.2 Приведение масс 11
- 2.3.3 Расчет работ и кинетической энергии 12
- 2.3.4 Определение угловой скорости по методу Н.И. Мерцалова 14
- 2.3.5 Определение приведенного момента инерции маховика 15
- 3. СИЛОВОЙ РАСЧЕТ МЕХАНИЗМА 15
- 3.1 Построение плана скоростей 15
- 3.2 Построение плана ускорений 16
- 3.3 Определение главных векторов и главных моментов сил инерции 17
- 3.4 Графоаналитический способ решения силового расчета 17
- 4. ПРОЕКТИРОВАНИЕ ЦИЛИНДРИЧЕСКОЙ ЭВОЛЬВЕНТНОЙ ЗУБЧАТОЙ ПЕРЕДАЧИ И ПЛАНЕТАРНОГО РЕДУКТОРА 19
- 4.1 Расчет зубчатой передачи 19
- 4.1.1. Исходные данные для проектирования 19
- 4.1.5 Построение проектируемой зубчатой передачи 26
- 4.2 Проектирование планетарного редуктора 27
- 4.2.1 Исходные данные для проектирования 27
- 4.2.2 Расчет планетарного редуктора 27
- 5 ПРОЕКТИРОВАНИЕ КУЛАЧКОВОГО МЕХАНИЗМА 29
- 5.1 Исходные данные для проектирования 29
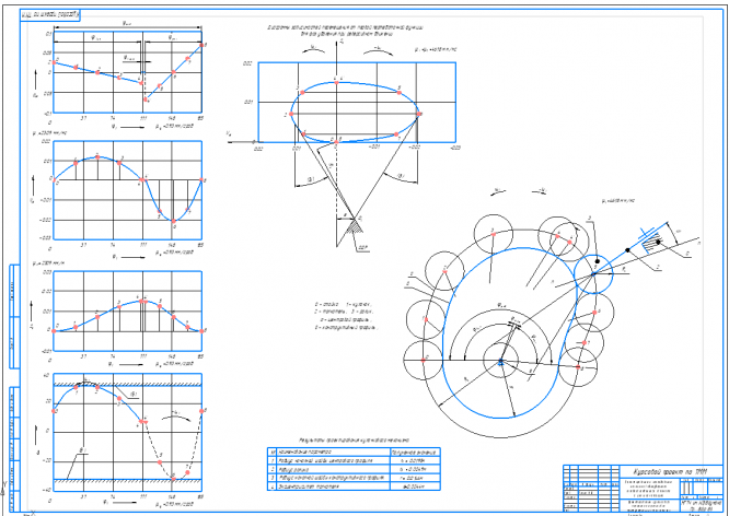
- 5.2 Построение кинематических диаграмм 29
- 5.3 Получение начального радиуса кулачка и межосевого расстояния 31
- 5.4 Построение центрового и конструктивного профиля кулачка 31
- 5.4 Построение диаграммы углов давления 32
- ЗАКЛЮЧЕНИЕ 33
- ЛИТЕРАТУРА 34
Реферат
Расчетно-пояснительная записка к курсовому проекту «Проектирование и исследование механизмов одноударного холодновысадочного автомата с цельной матрицей» содержит 34 страниц машинописного текста, 16 рисунков, 6 таблиц, 3 приложения.Расчетно-пояснительная записка содержит динамический расчет механической системы холодновысадочного автомата с учетом заданного коэффициента неравномерности вращения кривошипа d. Расчет включает определение закона движения основного механизма, силовой расчет основного механизма, расчет и проектирование зубчатой передачи и планетарного редуктора, проектирование кулачкового механизма.
1. Техническое задание
1.1. Описание работы механизма
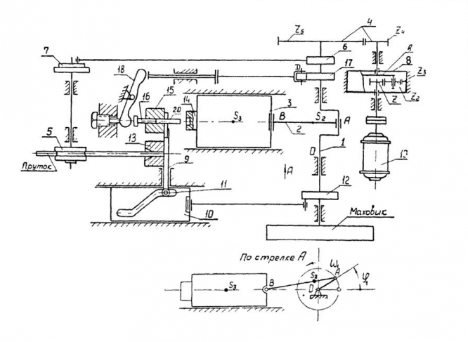
Холодновысадочные автоматы предназначаются для высадки из прутка заклепок, болтов, шурупов и других подобных изделий. На одноударных автоматах возможна высадка только тех изделий, у которых длина высаживаемой части составляет не более 2,5 диаметров прутка.Движение всех механизмов осуществляется от вала 1(рис 1), приводимого во вращение электродвигателем 1 посредством планетарного редуктора 8 и зубчатой передачи 4. Желобчатые ролики 5 механизма подачи материала приводятся во вращение от эксцентрика 6. Прерывистое одностороннее вращение роликов осуществляется посредством храповика 7. Высадочный ползун 3 получает возвратно-поступательное движение от кривошипного вала 1 через шатун 2. Ножевой шток 9 получает движение от ползуна 10, имеющего кулачный паз, в который входит ролик II. Привод ползуна 10 осуществляется от кривошипного вала через регулируемый эксцентрик 12. Кулачковый механизм 17 служит приводом механизма выталкивателя 18.
Процесс высадки изделия: пруток подается прерывисто-вращающимися желобчатыми роликами через отверстие отрезной матрицы 13 до упора (на схеме не показан). При движении ножа вперед от прутка заготовка отрезается и, поддерживаемая специальным крючком, переносится на линию высадки. При движении пуансона 14 к матрице 15 заготовка 20 вталкивается в отверстие матрицы до упора. При дальнейшем движении пуансона происходит высадка головки изделия. При отходе пунсона назад изделие выталкивается стержнем 16 из матрицы.
Кинематический и рабочий цикл механизма высадки совершается в течение одного оборота вала кривошипа.

1.2. Исходные данные
Наименование параметра | Обозначение | Величина | Размерность |
1. Число оборотов электродвигателя | nном | 970 | об/мин |
2. Число двойных ходов высадочного ползуна | Kx | 170 | |
3. Ход ползуна при высадке | Нв | 0,035 | м |
4. Угол поворота кривошипа за время высадки | jв | 100 | град |
5. Максимальное усилие высадки | Рмах | 3500 | кГ |
6. Начальное усилие высадки | Рнач | 0,1 Рмах | кГ |
7. Отношение длины шатуна к длине кривошипа | lAB/lOA | 4,5 | |
8. Отношение расстояния от точки В до центра тяжести шатуна к длине шатуна | lAS2/lAB | 0,32 | |
9. Координата центра тяжести ползуна | lBS3 | 0,009 | м |
10. Вес ползуна | G3 | 6,0 | кГ |
11. Вес шатуна | G2 | 2,0 | кГ |
12. Момент инерции шатуна относительно оси, проходящей через его центр тяжести | I2S | 0.0005 | кГмсек2 |
13.Коэффициент неравномерности вращения кривошипа | d | 1/15 | |
14. Маховой момент ротора электродвигателя | GD2д | 0,25 | кГм 2 |
15. Маховой момент планетарного редуктора и колеса 4, приведенный к валу кривошипа | GD2 | 9 | кГм 2 |
16. Угловая координата кривошипа для силового расчета | j1 | 165 | град |
17. Ход толкателя кулачкового механизма выталкивателя | h | 0,015 | м |
18. Максимально допустимый угол давления в кулачковом механизме | aдоп | 32 | град |
19. Соотношения между ускорениями толкателя | ν=а4/а1 | 2,7 | |
20. Угол рабочего профиля кулачка dраб=jраб=jвыт+jвыст+jотх | jвыт jвыст jотх | 110 5 70 | град град град |
21. Числа зубьев колес | z4 z5 | 15 19 | |
22. Модуль зубьев колес Z4 , Z5 | m | 6 | мм |
23. Число сателлитов в редукторе | К | 3 | |
24. Параметры исходного реечного инструмента | a0 χи χс | 20 1 0,25 | град |
Чертежи
Лист 1 - Определение закона движения ![]()
Лист 2 - Силовой расчет ![]()
Лист 3 - Проектирование зубчатой передачи ![]()
Лист 4 - Проектирование кулачкового механизма ![]()
Характеристики курсовой работы
Учебное заведение
Семестр
Номер задания
Вариант
Программы
Просмотров
1298
Качество
Идеальное компьютерное
Размер
1,9 Mb
Список файлов
Проектирование и исследование механизмов одноударного холодновысадочного автомата с цельной матрицей
~$ебное пособие по теории механизмов и механике машин Л.А.Черная.doc
Лист 1.cdw
Лист 2.cdw
Лист 3.cdw
Лист 4.cdw
Маткад - Лист 4.xmcd
Приложение 1.rtf
Приложение 2.docx
Приложение 3.rtf
РПЗ.docx
РПЗ.xmcd
Расчет зубчатой передачи.JPG
Расчет зубчатой передачи.txt

Вам все понравилось? Получите кэшбэк - 40 рублей на Ваш счёт при покупке. Поставьте оценку и напишите положительный комментарий к купленному файлу. После Вы получите деньги на ваш счет.
Комментарии

kryzhovnik_bezalkogolniy: А зачем на 2 листе годографы сил?
Здравствуйте! Требования преподавателя такие были

А зачем на 2 листе годографы сил?