Для студентов МГТУ им. Н.Э.Баумана по предмету Теория механизмов и машин (ТММ)Проектирование и исследование механизмов брикетировочного автоматаПроектирование и исследование механизмов брикетировочного автомата
5,0059
2016-04-182025-04-07СтудИзба
Курсовая работа 32: Проектирование и исследование механизмов брикетировочного автомата вариант Г
-50%
Описание
Проектирование и исследование механизмов брикетировочного автомата
Техническое задание на проектирование
1.1 Краткое описание работы механизмов установки
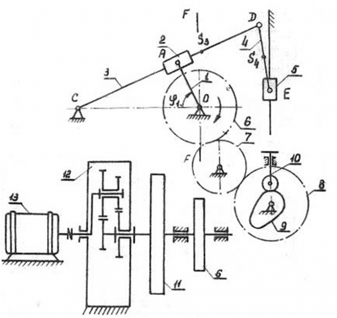
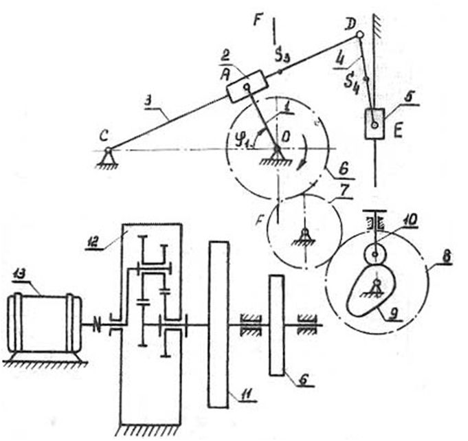
Брикетировочный автомат предназначен для прессования брикетов из различных материалов. Основный механизмом автомата является кулисный механизм (рис.1-‐1). Движение от электродвигателя 13 через планетарный редуктор 12 передается кривошипу 1. Камень 2, шарнирно связанный с кривошипом 1, скользит вдоль кулисы 3, заставляя кулису совершать возвратно-‐вращательное движение вокруг опоры С. Через шатун 4 движение передается ползуну 5, производящему прессование (брикетирование) материала. Диаграмма сил сопротивления, действующих на ползун 5 при прессовании представлена на рис. 1-‐2. Данные для построения указанной диаграммы приведены в табл.1-‐1. 

Маховик 11 установлен на выходной вал у редуктора 12.

1.2. Исходные данные
Таблица 1-2№ п/п | Наименование параметров | Обозначение | Размерность | Числовое значение |
1 | Максимальная длина хода ползуна | H | м | 0,40 |
2 | Число оборотов кривошипа | n1 | об/мин | 220 |
3 | Число оборотов электродвигателя | nд | об/мин | 2200 |
4 | Максимальное усилие прессования | Pcmax | кг | 3300 |
5 | Межосевое расстояние между опорами кривошипа и кулисы | Loc | м | 0,19 |
6 | Коэффициент изменения скорости ползуна | Kv | - | 1.7 |
7 | Отношение длины шатуна к длине кулисы | DE/CD | - | |
8 | Отношение расстояния от точки С до центра тяжести кулисы к длине кулисы | CS3/CD | - | 0,5 |
9 | Отношение расстояния от точки D до центра тяжести шатуна к длине шатуна | DS4/DE | - | 0,5 |
10 | Вес ползуна 5 | G5 | кг | 65 |
11 | Вес кулисы | G3 | кг | 45 |
12 | Момент инерции кулисы относительно оси, проходящей через её центр тяжести | I3S | кг*м*с^2 | 0.046 |
13 | Коэффициент неравномерности вращения кривошипа | δ | - | |
14 | Маховой момент ротора электродвигателя | GDд^2 | кг*м^2 | 0.30 |
15 | Маховой момент зубчатых механизмов, приведенных к валу электродвигателя | GD^2 | кг*м^2 | 0.45 |
16 | Угловая координата для силового расчета | φ1 | град | 240 |
17 | Максимальный подъем толкателя | h | м | 0,042 |
18 | Максимально допустимый угол давления толкателя | αдоп | град | 26 |
19 | Угол рабочего профиля кулачка | δраб | град | 210 |
20 | Угол поворота кулачка, соответствующий дальнему стоянию толкателя | φвыст | град | 10 |
21 | Отношение величин ускорений толкателя | v=a1/a2 | - | 2 |
22 | Число зубьев колеса 6 | z6 | - | 20 |
23 | Число зубьев колеса 7 | z7 | - | 14 |
24 | Число зубьев колеса 8 | z8 | - | 0 |
25 | Модуль зубчатых колес 6,7,8 | m | мм | 6 |
26 | Число сателлитов в планетарном редукторе | k | - | 3 |
Чертежи
Лист 1 - Определение закона движения
Лист 2 - Силовой расчет
Лист 3 - Проектирование зубчатой передачи и планетарного редуктора
Лист 4 - Проектирование кулачкового механизма ![]()
Характеристики курсовой работы
Учебное заведение
Семестр
Номер задания
Вариант
Программы
Просмотров
1388
Качество
Идеальное компьютерное
Размер
4,21 Mb
Список файлов
РПЗ - 1-2.docx
РПЗ - 3.docx
1 Лист.xmcd
4 Лист.xmcd
Маткад.pdf
Маткад.xmcd
Чертежи.dwg

Вам все понравилось? Получите кэшбэк - 40 рублей на Ваш счёт при покупке. Поставьте оценку и напишите положительный комментарий к купленному файлу. После Вы получите деньги на ваш счет.