Для студентов МГТУ им. Н.Э.Баумана по предмету Теория механизмов и машин (ТММ)Проектирование и исследование механизмов питателя с двойной качающейся кулисой и электроприводомПроектирование и исследование механизмов питателя с двойной качающейся кулисой и электроприводом
5,0054
2015-11-182025-04-07СтудИзба
Курсовая работа 137: Проектирование и исследование механизмов питателя с двойной качающейся кулисой и электроприводом вариант А
-50%
Описание
Проектирование и исследование механизмов питателя с двойной качающейся кулисой и электроприводом
Содержание курсового проекта
- 1. Техническое задание
- 1.1 Краткое описание работы механизмов
- 1.2 Исходные данные
- 1.3 Содержание курсового проекта
- 2. Проектирование основного рычажного механизма и определение закона движения его начального звена.
- 2.1 Проектирование кинематической схемы рычажного механизма (определение геометрических параметров рычажного механизма)
- 2.2 Выбор динамической модели и вывод формул приведения
- 2.3 Определение требуемых кинематических передаточных функций скоростей (аналогов скоростей) графическим и аналитическим методами
- 2.4 Приведение масс и построение графика JIIпр(φ1)
- 2.5 Анализ и расчет активных сил, действующих на звенья механизма
- 2.6 Приведение сил и построение графиков приведенных моментов сил и приведенной механической характеристики электродвигателя
- 2.7 Построение графика МΣпр(φ1)
- 2.8 Построение графика суммарной работы АΣ(φ1)
- 2.9 Построение графика Т(φ1*)
- 2.10 Построение графика ТII(φ1)
- 2.11 Построение графика Т1(φ1*)
- 2.12 Определение приведенного момента инерции звеньев I группы
- 2.13 Определение момента инерции маховика
- 2.14 Построение графика изменения угловой скорости начального звена ω1(φ1**)
- 2.15 Построение приведенной характеристики электродвигателя
- 2.16 Уточнение графиков Мδпр(φ1) и МΣпр(φ1)
- 3. Силовой расчет рычажного механизма
- 3.1 Исходные данные
- 3.2 Определение ускорений центров масс и угловых ускорений звеньев
- 3.3 Определение главных векторов сил инерции и главных моментов сил инерции
- 3.4 Определение усилий в кинематических парах
- 3.5 Определение неизвестной внешней силы
- 3.6 Построение годографов сил
- 4. Проектирование зубчатой передачи
- 4.1 Исходные данные
- 4.2 Последовательность расчета зубчатой передачи
- 4.3 Выбор коэффициента смещения х1 с учетом качественных показателей работы зубчатой передачи
- 4.4 Результаты расчета зубчатой передачи
- 5. Проектирование планетарного редуктора
- 5.1 Исходные данные
- 5.2 Условия, которым должны удовлетворять числа зубьев колес редуктора
- 5.3 Подбор чисел зубьев методом сомножителей
- 5.4 Графическая проверка передаточного отношения редуктора
- 6. Проектирование кулачкового механизма
- 6.1 Исходные данные
- 6.2 Построение кинематических диаграмм и расчет масштабов построения
- 6.3 Построение диаграммы νqB(SB)
- 6.4 Построение области допустимого расположения центра вращения кулачка
- 6.5 Выбор положения центра вращения кулачка и определение основных размеров кулачкового механизма
- 6.6 Построение центрового и конструктивного профилей кулачка и кинематической схемы кулачкового механизма
- 6.7 Построение графиков изменения углов давления
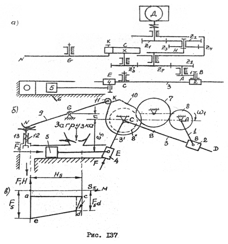
1.1 Краткое описание работы механизмов
Питатель предназначен для транспортирования дозированных порций сыпучих материалов. Исполнительное звено 5 совершает возвратно-поступательное движение. В начале рабочего хода гранулы насыпной массы из бункера попадают в лоток, несколько уплотняются и порциями поступают в емкости для упаковки. Перемещение звена 5 в лотке 6 обеспечивается шестизвенным рычажным механизмом, который состоит из кривошипа 1, угловой качающейся кулисы 3-3’, кулисных втулок (камней) 2 и 4. Привод питателя состоит из электродвигателя Д, планетарного редуктора z1-z23-z4-H и зубчатой передачи 7-8-8’ с числами зубьев z7-z8=z8’. При ходе звена 5 влево насыпная масса уплотняется на участке cbd, что сопровождается линейным изменением силы сопротивления до значения F5α в положении поршня α. При дальнейшем перемещении звена 5 от b до α насыпная масса уплотняется по линейному закону. Сила сопротивления звена 5 в положении поршня α равна F5max. В крайнем левом положении масса ссыпается в емкость. Выталкивание массы осуществляется толкателем 13 с пружиной, коромыслом 9 с роликом 11 и кулачком 10.Исходные данные представлены в таблице.
Ход звена 5 Н5=1,2 l1; CD=AB+AC+0,03м; CF=(h/cos φ3)+0,03.
Массы звеньев mi=ρili; m5=m3+m3’+3кг. Момент инерции масс звеньев относительно оси, проходящей через их центр масс, Isi=0,08mili2; центр масс коромысла KGN лежит посередине lKN; масса коромысла с роликом mk=ρilKN+3кг.
1.2 Исходные данные
Наименование задачи | Обозначение | Числовые значения | |
величины | единицы | ||
Средняя скорость звена 5 | Vср | м/с | 0,95 |
Коэффициент изменения скорости звена 5 | kv | - | 1,88 |
Отношение длины стойки lAC к ходу Н5 звена 5 | lAC/H5 | - | 2,55 |
Смещение направляющей звена 5 относительно оси вращения кулисы С | е5 | м | 0,5 |
Максимальная сила сопротивления | F5max | кН | 6,620 |
Минимальная сила сопротивления | F5min | кН | 0,6 |
Соотношение сил при уплотнении | F5d / F5max | - | 0.8 |
Соотношение между длиной участка bc и ходом Н5 | Lbc/H5 | - | 0,2 |
Линейная плотность материала | q | кг/м | 29 |
Сила сопротивления перемещению толкателя 13 | Fс13 | кН | 0,3 |
Синхронная частота вращения электродвигателя | nc | об/мин | 750 |
Числа зубьев колес 7 и 8 | z7 z8 | | 16 19 |
Угол наклона линии зуба | β | градус | 30 |
Модуль зубчатых колес 7 и 8 | m | мм | 4 |
Передаточное отношение планетарного редуктора | u1H | - | 11 |
Число сателлитов в планетарном редукторе | k | шт. | 3 |
Модуль зубчатых колес редуктора | mp | мм | 3 |
Ход толкателя 13 | h13 | м | 0,14 |
Максимально допустимый угол давления в кулачковом механизме | υдоп | градус | 45 |
Угол рабочего профиля кулачка | φр | градус | 126 |
Угловая координата кривошипа для силового расчета | φ1 | градус | 30 |
Коэффициент ускорения толкателя | k1 | - | 0,3 |
Коэффициент неравномерности вращения кривошипа | δ | - | 1/40 |
Приведенный к звену 1 момент инерции зубчатых колес редуктора и передачи | Jпрз.к | кгּм2 | 1,08 |
Смещение оси G толкателя 9 | еg | м | 0,10 |
Заключение
В ходе выполнения курсового проекта получены следующие результаты:- Определен закон движения звена приведения механизма поперечно-строгального станка с качающейся кулисой и рассчитана дополнительная маховая масса, обеспечивающая коэффициент неравномерности кривошипа. Габариты маховика позволяют установить его на кривошипный вал.
- Для заданного положения механизма φ1 = 30 град проведен силовой расчет, определены реакции в кинематических парах механизма и движущий момент, величина которого отличается от среднего движущего момента, определенного на первом листе на 9,1%.
- Спроектирована прямозубая цилиндрическая эвольвентная зубчатая передача с модулем m = 3 мм, с числами зубьев z5=12 и z6=22, коэффициентами смещения х1 = 0.6 и х2 = 0.5, в которой зубья выполнены без подрезания и заострения. Зубчатая передача спроектирована таким образом, что .
- Спроектирован двухрядный планетарный редуктор со смешанным зацеплением с передаточным отношением с числами зубьев колес z1=20, z2=80, z3=25, z4=125.
- Спроектирован кулачковый механизм с качающимся толкателем при заданном законе движения выходного звена. Начальный радиус центрового профиля кулачка , радиус ролика .Угол давления кулачка, определяемый по конструктивному профилю, не превышает допустимого .
Чертежи
Лист 1 - Определение закона движения ![]()
Лист 2 - Силовой расчет механизма ![]()
Лист 3 - Проектирование зубчатой передачи ![]()
Лист 4 - Проектирование кулачкового механизма ![]()
Характеристики курсовой работы
Учебное заведение
Семестр
Номер задания
Вариант
Программы
Просмотров
423
Качество
Идеальное компьютерное
Размер
1,46 Mb
Список файлов
РПЗ.doc
Чертежи.dwg

Вам все понравилось? Получите кэшбэк - 40 рублей на Ваш счёт при покупке. Поставьте оценку и напишите положительный комментарий к купленному файлу. После Вы получите деньги на ваш счет.