Главная » Учебные материалы » Теория механизмов и машин (ТММ) » Курсовые работы » МГТУ им. Н.Э.Баумана » 5 семестр » Номер 106 » Вариант Б » Проектирование и исследование механизмов ДВС компрессорной установки
Для студентов МГТУ им. Н.Э.Баумана по предмету Теория механизмов и машин (ТММ)Проектирование и исследование механизмов ДВС компрессорной установкиПроектирование и исследование механизмов ДВС компрессорной установки
5,0052
2025-04-07СтудИзба

Курсовая работа 106: Проектирование и исследование механизмов ДВС компрессорной установки вариант Б

-50%

Описание

Проектирование и исследование механизмов ДВС компрессорной установки

Реферат

Расчетно-пояснительная записка содержит расчеты и проектирование механизмов ДВС компрессорной установки, определение закона его движения под действием заданных силовых факторов, действующих в кинематических парах механизма с учетом геометрии масс звеньев; расчет и исследование кулачкового механизма привода счетчика расхода;а также программу расчета и построения диаграммы для определения коэффициента смещения зубьев.

Содержание

  • Реферат...................................................................................................... 1
  • Техническое задание................................................................................. 4
  • Исходные данные...................................................................................... 5
  • 1. Определение закона движения механизма........................................... 5
  • 1.1. Проектирование кривошипно-ползунного механизма..................... 7
  • 1.1.1.Определение основных размеров звеньев механизма.................... 7
  • 1.2. Нахождение передаточных функций и передаточных отношений основного механизма....... 7
  • 1.3. Определение суммарного приведенного момента внешних сил, приложенных к звеньям механизма.... 8
  • 1.3.1. Определение приведенного момента от момента сопротивления 9
  • 1.3.2. Определение приведенного момента движущих сил.................... 9
  • 1.3.3. Построение графика ........................................................ 10
  • 1.3.3. Построение графика ........................................................ 10
  • 1.3.4. Определение приведенного момента инерции............................ 10
  • 1.4. Построение графика суммарной работы AS(j1)............................. 12
  • 1.5. Определение угловой скорости начального звена......................... 12
  • 2. Силовой расчет................................................................................... 13
  • 2.1.Определение угловых ускорений и ускорений центров масс звеньев механизма... 13
  • 2.2 Определение действующих сил и моментов сил на звенья механизма............ 14
  • 3. Проектирование зубчатой передачи и планетарного механизма...... 16
  • 3.1. Выбор коэффициента смещения..................................................... 16
  • 3.2. Построение профиля зуба, изготавливаемого реечным инструментом.... 18
  • 3.3. Проектирование планетарного зубчатого механизма с цилиндрическими колесами...... 20
  • 4.Проектирование кулачкового механизма........................................... 22
  • 4.1. Исходные данные и основные этапы проектирования................... 22
  • 4.2. Определение кинематических передаточных функций кулачкового механизма....... 23
  • 4.3. Определение основных размеров кулачкового механизма............ 23
  • 4.4. Определение координат и построение профиля кулачка............... 25
  • Литература.............................................................................................. 27

Техническое задание

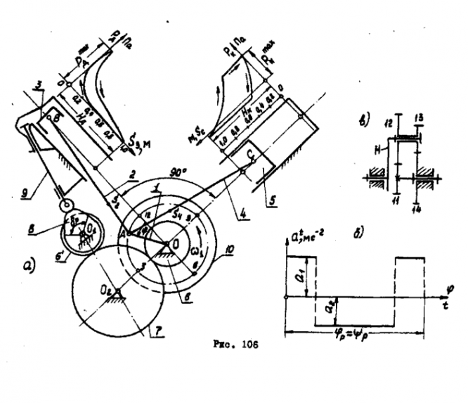
ДВС-компрессорная установка ,предназначенная для перекачки газов ,-представляет собой У-образную поршневую машину , у которой слева расположен цилиндр двигателя внутреннего сгорания , а справа цилиндр компрессора .Кривошипно-ползунный механизм 1-2-3 и 1-4-5 обоих цилиндров одинаков , а диаметры поршней разные . Угол раазвала осей цилиндров равен 90 . Рабочие процессы в цилиндрах , протекающие при различных значениях максимального давления , соответствует одному повороту коленчатого вала . Для поддержания требующейся равномерности движения с заданным d установлен на коленчатом валу маховик 10 .
При движении поршня 3 двигателя вниз происходит расширение продуктов сгорания и давление в цилиндре снижается от до ;
при движеннии вверх – всасывание и сжатие . При этом поршень 5 компрессора идет вначале вниз , всасывая газ , а затем , сжимая его и нагнетая в резервуар .
Для подержания установившегося режима должно выдерживаться равенство работ в левом и правом цилиндрах .
Характер изменения давления в цилиндрах по ходу поршней 3 и 5 представлен индикаторными диаграмамми ДВС и компрессора .
Перемещение клапанов ДВС осуществляется кулачковым механизмом 8-9 , расположенным на корпусе цилиндра и приводимым в движение зубчатой передачей 6-7-6’ от коленчатого вала 1 .
Для привода счетчика расхода используется планетарный мечанизм 11-12-13-14-H , центральное колесо которого соединено со счетчиком расхода , а водило H с валом .

Исходные данные

N по пор.Наименование параметра.Обозна-чениеРазмер-ностьЧисловые значения
1.Средняя скорость поршня компрессора Vср м/с 5.2
2.Частота вращения коленчатого вала n1 с-1 13.0
3.Относительное положение центра масс шатуна 2 lS2 - 0.32
4. Относительное положение центра масс шатуна 4 lS4 - 0.42
5.Отношение длины шатуна 2 и 4 к длине кривошипа 1 l4F - 4.5
6.Диаметр цилиндра компрессора d5 м 0.22
7.Максимальное давление в цилиндре компрессора МПа 1.22
8.Масса шатуна 2 и 4 m2=m4 кг 11
9. Масса поршня 3 m3 кг 11
10.Масса поршня 5 m5 кг 14
11.Момент инерции шатуна относительно оси , проходящей через центр масс
кг*м2 0.33
12.Момент инерции коленчатого вала
кг*м2 0.11
13.Коэффициент неравномерности вращения вала 1 d - 1/95
14. Момент инерции вращающихся звеньев , приведенный к звену 1
(без маховика)
кг*м2 1.26
15.Угловая координата для силового расчета j1 град 60
16.Угол рабочего профиля кулачка yP град 158
17.Ход толкателя кулачка h м 0.008
18.Максимально допустимый угол
давления в кулачковом механизме
[q] град 36
19.Внеосность толкателя в кулачковом механизме e м 0.005
20.Отношение ускорений толкателя a1/a2 - 1.5
21.Модуль зубьев 6 и 7 m м 0.006
22.Число зубьев 6 , 7 Z6
Z7
-
-
11
22
23.Угол наклона линии зуба для колес 6 , 7 b град 20
24.Число сателлитов планетарного редуктора k - 3
25.Передаточное отношение планетарного редуктора UH-11 - 33

Чертежи

Лист 1 - Определение закона движения

Лист 2 - Силовой расчет

Лист 3 - Проектирование зубчатой передачи

Лист 4 - Проектирование кулачкового механизма

Характеристики курсовой работы

Учебное заведение
Семестр
Номер задания
Вариант
Просмотров
446
Качество
Идеальное компьютерное
Размер
1,11 Mb

Список файлов

Лист (1).DWG
Лист (2).DWG
Лист (3).DWG
Лист (4).DWG
РПЗ.DOC
Картинка-подпись
Вам все понравилось? Получите кэшбэк - 40 рублей на Ваш счёт при покупке. Поставьте оценку и напишите положительный комментарий к купленному файлу. После Вы получите деньги на ваш счет.

Комментарии

Нет комментариев
Стань первым, кто что-нибудь напишет!
Поделитесь ссылкой:
Цена: 5 000 2 490 руб.
Расширенная гарантия +3 недели гарантии, +10% цены
Рейтинг покупателей
5 из 5
Поделитесь ссылкой:
Сопутствующие материалы

Подобрали для Вас услуги

-26%
-50%
Вы можете использовать курсовую работу для примера, а также можете ссылаться на неё в своей работе. Авторство принадлежит автору работы, поэтому запрещено копировать текст из этой работы для любой публикации, в том числе в свою курсовую работу в учебном заведении, без правильно оформленной ссылки. Читайте как правильно публиковать ссылки в своей работе.
Свежие статьи
Популярно сейчас
Как Вы думаете, сколько людей до Вас делали точно такое же задание? 99% студентов выполняют точно такие же задания, как и их предшественники год назад. Найдите нужный учебный материал на СтудИзбе!
Ответы на популярные вопросы
Да! Наши авторы собирают и выкладывают те работы, которые сдаются в Вашем учебном заведении ежегодно и уже проверены преподавателями.
Да! У нас любой человек может выложить любую учебную работу и зарабатывать на её продажах! Но каждый учебный материал публикуется только после тщательной проверки администрацией.
Вернём деньги! А если быть более точными, то автору даётся немного времени на исправление, а если не исправит или выйдет время, то вернём деньги в полном объёме!
Да! На равне с готовыми студенческими работами у нас продаются услуги. Цены на услуги видны сразу, то есть Вам нужно только указать параметры и сразу можно оплачивать.
Отзывы студентов
Ставлю 10/10
Все нравится, очень удобный сайт, помогает в учебе. Кроме этого, можно заработать самому, выставляя готовые учебные материалы на продажу здесь. Рейтинги и отзывы на преподавателей очень помогают сориентироваться в начале нового семестра. Спасибо за такую функцию. Ставлю максимальную оценку.
Лучшая платформа для успешной сдачи сессии
Познакомился со СтудИзбой благодаря своему другу, очень нравится интерфейс, количество доступных файлов, цена, в общем, все прекрасно. Даже сам продаю какие-то свои работы.
Студизба ван лав ❤
Очень офигенный сайт для студентов. Много полезных учебных материалов. Пользуюсь студизбой с октября 2021 года. Серьёзных нареканий нет. Хотелось бы, что бы ввели подписочную модель и сделали материалы дешевле 300 рублей в рамках подписки бесплатными.
Отличный сайт
Лично меня всё устраивает - и покупка, и продажа; и цены, и возможность предпросмотра куска файла, и обилие бесплатных файлов (в подборках по авторам, читай, ВУЗам и факультетам). Есть определённые баги, но всё решаемо, да и администраторы реагируют в течение суток.
Маленький отзыв о большом помощнике!
Студизба спасает в те моменты, когда сроки горят, а работ накопилось достаточно. Довольно удобный сайт с простой навигацией и огромным количеством материалов.
Студ. Изба как крупнейший сборник работ для студентов
Тут дофига бывает всего полезного. Печально, что бывают предметы по которым даже одного бесплатного решения нет, но это скорее вопрос к студентам. В остальном всё здорово.
Спасательный островок
Если уже не успеваешь разобраться или застрял на каком-то задание поможет тебе быстро и недорого решить твою проблему.
Всё и так отлично
Всё очень удобно. Особенно круто, что есть система бонусов и можно выводить остатки денег. Очень много качественных бесплатных файлов.
Отзыв о системе "Студизба"
Отличная платформа для распространения работ, востребованных студентами. Хорошо налаженная и качественная работа сайта, огромная база заданий и аудитория.
Отличный помощник
Отличный сайт с кучей полезных файлов, позволяющий найти много методичек / учебников / отзывов о вузах и преподователях.
Отлично помогает студентам в любой момент для решения трудных и незамедлительных задач
Хотелось бы больше конкретной информации о преподавателях. А так в принципе хороший сайт, всегда им пользуюсь и ни разу не было желания прекратить. Хороший сайт для помощи студентам, удобный и приятный интерфейс. Из недостатков можно выделить только отсутствия небольшого количества файлов.
Спасибо за шикарный сайт
Великолепный сайт на котором студент за не большие деньги может найти помощь с дз, проектами курсовыми, лабораторными, а также узнать отзывы на преподавателей и бесплатно скачать пособия.
Популярные преподаватели
Добавляйте материалы
и зарабатывайте!
Продажи идут автоматически
6822
Авторов
на СтудИзбе
276
Средний доход
с одного платного файла
Обучение Подробнее
{user_main_secret_data}