Для студентов МГТУ им. Н.Э.Баумана по предмету Теория механизмов и машин (ТММ)Исследование и проектирование механизмов двухступенчатого поршневого компрессораИсследование и проектирование механизмов двухступенчатого поршневого компрессора
4,92522656
2015-11-182025-04-07СтудИзба
Курсовая работа 148: Исследование и проектирование механизмов двухступенчатого поршневого компрессора вариант Г
-50%
Описание
Исследование и проектирование механизмов двухступенчатого поршневого компрессора
Содержание
- Реферат 3
- Техническое задание 4
- Исходные данные 5
- Проектирование основного рычажного механизма и определение закона движения его начального звена 7
- Построение механизма 7
- Определение требуемых передаточных функций скоростей. 7
- Построение индикаторной диаграммы и графиков сил 8
- Построение графиков приведенных моментов и графика суммарного приведенного момента 10
- Построение графика суммарной работы . 12
- Построение графиков переменных приведенных моментов инерции II группы звеньев и графика их суммы 13
- Переход от графика к графику кинетической энергии всего механизма 14
- Переход от графика к приближенному графику кинетической энергии этой же группы звеньев 15
- Построение графика кинетической энергии I группы звеньев 15
- Определение необходимого момента инерции маховых масс . 15
- Переход от графика к приближенному графику угловой скорости начального звена. 16
- Силовой расчет механизма 16
- Исходные данные 16
- Построение механизма 17
- Определение скоростей точек механизма 17
- Определение ускорений точек механизма 18
- Определние главных векторов и главных моментов сил инерции 20
- Силовой расчет 20
- Проектирование зубчатой передачи и планетарного механизма 22
- Исходные данные программы 22
- Идентификаторы, обозначения и наименования результирующих величин 22
- Расчет зубчатой передачи на ЭВМ 25
- Выбор коэффициентов смещения 29
- Построение профиля зуба, изготовляемого реечным инструментом 29
- Построение проектируемой зубчатой передачи 30
- Проектирование планетарного зубчатого механизма 30
- Проектирование кулачкового механизма 33
- Исходные данные 33
- Построение кинематических диаграмм методом графического интегрирования 33
- Определение основных размеров кулачкового механизма 35
- Построение профиля кулачка 36
- Построение графика изменения угла давления 36
- Заключение 37
- Список литературы 38
Реферат
В курсовом проекте выполнено проектирование двухступенчатого поршневого компрессора. Проведено:- Проектирование механизма и определения закона движения;
- Силовой расчет механизма;
- Проектирование зубчатой передачи и однорядного планетарного редуктора.
- Проектирование кулачкового механизма с поступательно движущимся толкателем.
Техническое задание
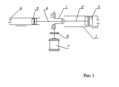
Двухступенчатый компрессор двойного действия (рис. 1) предназначен для наполнения баллонов воздухом. Наполнение осуществляется следующим образом. При достижении максимального давления в цилиндре первой ступени сжатый воздух через ресивер- охладитель поступает в цилиндр второй ступени, затем при достижении максимального давления в цилиндре второй ступени сжатый воздух нагнетается в баллон.Двухступенчатый поршней компрессор (рис.1) приводится в движение от электродвигателя. Вал электродвигателя связан с коленчатым валом компрессора посредством муфты. Режим работы механизма – установившийся.Основным механизмом компрессора является кривошипно-ползунный механизм, состоящий из коленчатого вала 1, шатунов 2, 4 и поршней 3 и 5, перемещающихся в цилиндрах.
Все расчетные данные приведены в таблице 1.
Изменение давления в цилиндрах компрессора в зависимости от положения поршня представлено на индикаторных диаграммах, данные для построения которых приведены в таблице 2.
Для расчета зубчатой передачи, планетарного редуктора и кулачкового механизма использовать данные, приведенные в задании № 97 Г
Задание на проектирование дано в соответствии с учебным планом.

Исходные данные
Таблица 1.1Наименование величины | Обозначение | размерность | значение |
размерность в СИ |
значение |
Угловая (круговая) частота вращения коленчатого вала. | n1 | об/мин | 1550 | рад/с | 25,83 |
Средняя скорость поршней. | vср | м/с | 5,8 | м/с | 5,8 |
Максимальное давление воздуха в цилиндре I ступени компрессора. | PmaxI | КПа | 180 | Па | 180000 |
Максимальное давление воздуха в цилиндре II ступени компрессора. | PmaxII | КПа | 540 |
Па | 540000 |
Диаметр I ступени компрессора | d3 | м | 0,21 | м | 0,21 |
Диаметр II ступени компрессора | d5 | м | 0.124 | м | 0.124 |
Отношение длины шатуна 2 к длине кривошипа 1. | λ2/ λ4 | - | 5 | - | - |
Отношение расстояний от точки В до центров масс шатунов к длине шатунов. | λ S 2/ λ S 4 | - | 0.3 | - | - |
Моменты инерции шатунов относительно осей, проходящих через их центры масс. | JS2 =JS4 | кг*м2
| 0,024 | кг*м2
| 0,024 |
Моменты инерции коленчатого вала и вращающихся звеньев, приведенных к валу звена 1. | J1пр | кг*м2 | 0,273 | кг*м2 | 0,273 |
Массы шатунов 2,4 | m2 m4
| кг кг
| 7,5 7,5
| кг кг
| 7,5 7,5
|
Массы поршней 3, 5 | m5 m3
| кг кг | 10 10 | кг кг | 10 10 |
Угловая координата кривошипа для силового расчета. | φ1 | градус | 45 | радиан | 0,785 |
Коэффициент неравномерности вращения вала 1 | d | - | 0,012 | - | - |
Таблица 1.2
Величина | Значение | |||||
S/H | 0.0 | 0.1 | 0.2 | 0.3 | 0.4 | 0.5 |
P/Pmax Ступень I | 0.75 | 1.0 | 1.0 | 1.0 | 0.75 | 0.50 |
0.75 | -0.019 | -0.024 | -0.024 | -0.024 | -0.023 | |
P/Pmax Ступень II | 0.76 | 1.0 | 0.94 | 0.83 | 0.71 | 0.60 |
0.76 | 0.43 | 0.38 | 0.333 | 0.333 | 0.333 |
Величина | Значение | ||||
S/H | 0.6 | 0. 7 | 0. 8 | 0.9 | 1.0 |
P/Pmax Ступень I | 0.35 | 0.15 | 0.0 | -0.001 | -0.013 |
-0.022 | -0.021 | -0.020 | -0.019 | -0.013 | |
P/Pmax Ступень II | 0.48 | 0.43 | 0.38 | 0.35 | 0.34 |
0.333 | 0.333 | 0.333 | 0.333 | 0.333 |
Чертежи
Лист 1 - Определение закона движения ![]()
Лист 2 - Силовой расчет ![]()
Лист 3 - Проектирование зубчатой передачи ![]()
Лист 4 - Проектирование кулачкового механизма ![]()
Характеристики курсовой работы
Учебное заведение
Семестр
Номер задания
Вариант
Программы
Просмотров
417
Качество
Идеальное компьютерное
Размер
438,98 Kb
Список файлов
Исследование и проектирование механизмов двухступенчатого поршневого компрессора
DIADA.doc
Лист 1.frw
Лист 2.frw
Лист 3.frw
Лист 4.frw
РПЗ.doc
Титульный лист. Содержание. Реферат.doc

Вам все понравилось? Получите кэшбэк - 40 рублей на Ваш счёт при покупке. Поставьте оценку и напишите положительный комментарий к купленному файлу. После Вы получите деньги на ваш счет.