Курсовая работа 47: Проектирование и исследование механизмов гайковырубного автомата вариант Д
Описание
Проектирование и исследование механизмов гайковырубного автомата
Содержание
- Аннотация (реферат) . . . . . . . . . 3
- Техническое задание . . . . . . . . . 4
- Исходные данные . . . . . . . . . 6
- 1.Проектирование основного механизма и определение закона движения. . 7
- 1.1Проектирование механизма по заданным условиям. . . . . 7
- 1.2. Определение функции положения механизма. . . . . . 8
- 1.3. Кинетическая схема механизма в заданном положении и траекторий точек. 12
- 1.4. Определение передаточных функций. . . . . . . 13
- 1.5. Определение приведенного момента инерции. . . . . . 17
- 1.6. Определение производных приведенных моментов инерции. . . 19
- 1.7. Определение приведенного момента сил сопротивления. . . . 20
- 1.8. Определение приведенного момента от движущих сил. . . . 23
- 1.9. Определение приведенного суммарного момента. . . . . 23
- 1.10. Расчет необходимого момента инерции первой группы звеньев методом Мерцалова. 23
- 1.11. Расчет наибольшего изменения кинетической энергии первой группы звеньев. 24
- 1.12. Расчет требуемого момента инерции первой группы звеньев. . . 24
- 1.13. Учет статической характеристики электродвигателя. . . . 24
- 1.14. Исследование движения по уравнению движения в дифференциальной форме. 27
- 1.15. Опреление момента инерции дополнительной маховой массы (маховика). 31
- 1.16. Проверка правильности выполнения первого листа. . . . . 32
- 2.Силовой расчет механизма. . . . . . . . . 34
- 2.1. Исходные данные для силового расчёта механизма . . . . 34
- 2.2. Построение планов скоростей и ускорений . . . . . 35
- 2.3. Определение главных векторов и главных моментов сил инерции. . . 37
- 2.4. Кинетостатический силовой расчет механизма. . . . . 37
- 2.4. Силовой расчет аналитическим методом. . . . . . 40
- 3. Проектирование зубчатых передач и планетарного редуктора. . . . 46
- 3.1 Построение профиля зуба колеса, изготовляемого реечным инструментом. 46
- 3.1.1 Расчет параметров зубчатой передачи. . . . . . 46
- 3.1.2. Построение станочного зацепления . . . . . . 46
- 3.2. Построение проектируемой зубчатой передачи . . . . 47
- 3.3 Расчет планетарного редуктора. . . . . . . . 48
- 4. Проектирование кулачкового механизма. . . . . . . 50
- 4.1 Построение кинематических диаграмм методом графического интегрирования. 50
- 4.2 Определение основных размеров кулачкового механизма. . . . 51
- 4.3 Построение профиля кулачка. . . . . . . . 51
- Заключение. . . . . . . 52
- Список использованной литературы . . . . . . . 53
Краткое описание работы механизмов автомата
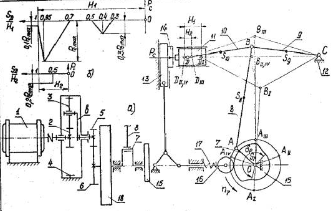
Автомат (рис.47-1 а) предназначен для изготовления гаек из полосовой стали. Движение от электродвигателя Iчерез планетарный редуктор 2-в и зубчатую передачу 5-6 передается на вал 7 шестизвенного кривошипно-ползунного механизма 7-12 (ОABCD).

Во время длинного хода H1 ползуна IIвлево, начиная с положения механизма. AIBIDIи кончая положением AIIBIIDII, с помощью пуансонов, закрепленных на ползуне II, и матриц на ползуне (челноке) 13 производятся операции: I) вырубка уголков в полосе 14, которая подается в зону штамповки с помощью механизма прерывистой (шаговой) подачи (на схема не показан); 2) пробивка отверстия под резьбу; 3) отрубка гаек от полосы и 4) чеканка фаски.
После этого ползун IIсовершает короткий ход Н2 вправо, до положения механизма АIII ВIIIDIII, во время которого челнок 13, до эгого неподвижный, перемещается вверх и выставляет на позицию штамповки калибровочную матрицу для зачистки граней гайка. Далее ползун II совершает короткий ход влево (до положения механизма AIVBIVDIV), во время которого и производится зачистка граней гайки (калибровка).
Графики изменения усилия Рс, действующего да ползун IIпри работе автомата, даны на рис.47-1 б. Во время длинного хода ползуна IIназад (вправо) осуществляются отвод калибровочной матрицы 13 вниз и шаговая подача полосы 14. Челнок 13 с матрицами приводится в движение кулачково-рычажным механизмом 15-16-13; пружина 17 служит для возврата челнока в исходное положение. Требуемый закон изменения ускорения толкателя 16 дан на рис. 47-2
Рис. 47-2
1. Центр вращения кривошипа (точка O) расположить на вертикали, проходящей через точкуВIII.
2. Центры масс звеньев 8,9,10 принять посредине их длин.
3. Моменты инерции I8S, I9S , I10Sподсчитать по формуле IS= ml2/ 10 где т - масса эвена, l - длина звена.
4. Силовой расчёт механизма произвести в положении, когда усилие PC=PCmax.
Исходные данные
Таблица 1-1№ ц/п | Наименование параметра | Обозначение | Единица СИ | Численные значения для вариантов |
Д | ||||
1 | Число оборотов электродвигателя | n1 | об/мин | 1460 |
2 | Число оборотов кривошипного вала 7 | n7 | об/мин | 130 |
3 | Ход ползуна 11 | H1 | м | 0,05 |
H2 | м | 0,026 | ||
4 | Максимальное усилие вытяжки | PCmax | H | 55000 |
5 | Размеры звеньев | lBC =lBD | м | 0,24 |
lOC | м | 0,40 | ||
6 | Вес звеньев 9,10,11 | G9 =G10 | H | 140 |
G11 | H | 500 | ||
7 | Вес звена 7 (без маховика) | G7 | H | 400 |
8 | Ориентировочный вес единицы длины звеньев 8 | q | H/м | 0,022 |
9 | Коэффициент неравномерности вращения вала 7 | d | --- | 1/15 |
10 | Маховой момент ротора электродвигателя | GD2 | кг·м2 | 0,16 |
11 | Приведенный к валу 7 момент инерции всего зубчатого редуктора | Ipпр | кг·м2 | 0,9 |
12 | Момент инерции кривошипного вала 7 (без маховика) | I70¢ | кг·м2 | 0,012 |
13 | Числа зубьев колес 5,6 | Z5 | --- | 11 |
Z6 | --- | 18 | ||
14 | Модуль зубчатых колес 5,6 | m | мм | 6 |
15 | Число сателлитов в планетарном редукторе | K | --- | 3 |
16 | Угол рабочего профиля кулачка | dp | град | 250 |
17 | Ход толкателя кулачкового механизма | h | м | 0,020 |
18 | Угол поворота кулачка, соответствующий дальнему выстою толкателя | | | |
jвыст | град | 180 | ||
19 | Отношение величин ускорений толкателя | a1/a2 | --- | 1,8 |
20 | Максимально допустимый угол давления в кулачковом механизме | aдоп | град | 28 |
Чертежи
Лист 1 - Определение закона движения ![]()
Лист 2 - Силовой расчет ![]()
Лист 3 - Проектирование зубчатой передачи и планетарного редуктора ![]()
Лист 4 - Проектирование кулачкового механизма ![]()
Характеристики курсовой работы
Список файлов
