Для студентов МГТУ им. Н.Э.Баумана по предмету Теоретическая механикаКинематика плоского движения твердого телаКинематика плоского движения твердого тела
5,005142
2023-03-252024-09-06СтудИзба
ДЗ 2: Кинематика плоского движения твердого тела вариант 22
-43%
Описание




Вариант 22
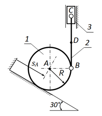
Кинематика плоскогодвижения твёрдоготела – задачи с однойстепенью свободы
В каждой из предлагаемых задач рассматривается плоский механизм, занимающий в данный момент времени t = 1 c положение, показанное на рисунке.
Ответить на вопросы, поставленные в задачах, считая, что качение катков по основанию происходит без скольжения.
No | Схема | Условие |
22 | Для данного положения механизма определить скорости и ускорения точек A, B, C и D, угловые скорости и ускорения звеньев 1 и 2, если sA = 0,1e2-2t м, R = 0,2 м, ВC = 0,4 м, CD = BD. Скорости и ускорения точек звена 2 проверить с помощью МЦС и МЦУ. | |
Показать/скрыть дополнительное описание
Вариант 22 Кинематика плоскогодвижения твёрдоготела – задачи с однойстепенью свободы В каждой из предлагаемых задач рассматривается плоский механизм, занимающий в данный момент времени t = 1 c положение, показанное на рисунке. Ответить на вопросы, поставленные в задачах, считая, что качение катков по основанию происходит без скольжения. No Схема Условие 22 Для данного положения механизма определить скорости и ускорения точек A, B, C и D, угловые скорости и ускорения звеньев 1 и 2, если sA = 0,1e2-2t м, R = 0,2 м, ВC = 0,4 м, CD = BD . Скорости и ускорения точек звена 2 проверить с помощью МЦС и МЦУ.
.
Характеристики домашнего задания
Предмет
Учебное заведение
Семестр
Номер задания
Вариант
Программы
Просмотров
321
Качество
Идеальное компьютерное
Размер
154,81 Kb
Список файлов
22.docx

Привет всем! Я автор на Студизбе. Я надеюсь что, не только дам Вам файлы с ответом но и знание. Не только копировать, а нужно понимать! Вставьте 5 звезд и позитивные комментарии сразу дам Вам подарок
Комментарии

вы можете написать мне в чате для получения файла в пдф. файл содержит польное решение

Отзыв
нет решений, одни ответы