Для студентов МГТУ им. Н.Э.Баумана по предмету Теоретическая механикаКинематика точки и простейших движений твердого телаКинематика точки и простейших движений твердого тела
5,00512
2023-03-012025-03-06СтудИзба
ДЗ 1: Кинематика точки и простейших движений твердого тела вариант 29
-66%
Описание
Зачтено на максимальный балл 🔥 🔥 🔥 😍😍😍
При покупке оставьте комментарий и Вы можете получить подарок!

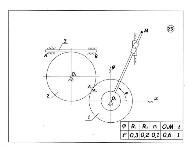
1. Кинематика точки
В первой части задания нужно исследовать движение точки M и определить основные характеристики этого движения.Требуется:
1) по заданному движению механизма (см. варианты заданий) получить
уравнения движения точки M координатным способом (в декартовой или полярной системе координат, указанной на схеме варианта);
2) определить траекторию движения точки M.
Для момента времени t = t1
3) найти скорость и ускорение точки M
4) определить проекции скорости и ускорение точки M на оси декартовой системы координат
5) найти касательную и нормальную , составляющие ускорения, радиус кривизны ρ траектории в данном положении точки М
6) найти радиальные и трансверсальные составляющие скорости и ускорения точки M. Начало полярной системы координат нужно поместить в начало декартовой, направив полярную ось по оси Ox;
7) в выбранном масштабе выполнить чертеж с изображением траектории движения точки M. На чертеже указать все составляющие скорости и ускорения точки M в момент времени
2. Кинематика простейших движений твердого тела
Во второй части курсового задания требуется:
1) установить вид движения звеньев механизма.
Для момента времени t = t1
2) определить угловые скорости и угловые ускорения звеньев механизма, совершающих вращательное движение, указав на чертеже круговыми стрелками их направления, определить характер движения тел (замедленный или ускоренный);
3) определить скорости и ускорения тел при поступательном движении;
4) для точек контакта тел Ai (i - номер звена) определить скорости, ускорения и изобразить их на схеме механизма в соответствующем масштабе (см.разд. 4).



Характеристики домашнего задания
Предмет
Учебное заведение
Семестр
Номер задания
Вариант
Программы
Просмотров
229
Качество
Идеальное компьютерное
Размер
4,72 Mb
Список файлов
вар 29.pdf

Ваше удовлетворение является нашим приоритетом, если вы удовлетворены нами, пожалуйста, оставьте нам 5 ЗВЕЗД и позитивных комментариев. Спасибо большое!. Смотрите файлы в моем профиле, там есть много полезных !