Для студентов МГТУ им. Н.Э.Баумана по предмету Теоретическая механикаКолебания линейной системы с одной степенью свободыКолебания линейной системы с одной степенью свободы
5,0051
2021-05-032021-05-03СтудИзба
ДЗ 2: Колебания линейной системы с одной степенью свободы вариант 14
Описание
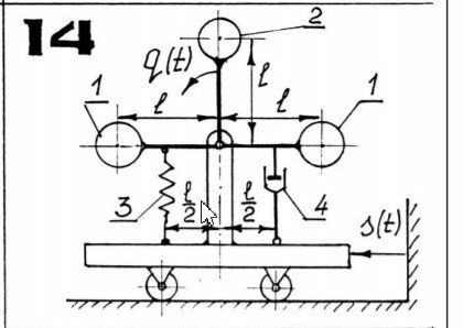
В файле зачтенное преподавателем ДЗ Колебания линейной системы с одной степенью свободы . В ворд вставлены фотографии выполненной работы. Сделано до исследования частотных характеристик. Почерк красивый. Решение подробное
![]()
Характеристики домашнего задания
Предмет
Учебное заведение
Семестр
Номер задания
Вариант
Просмотров
76
Размер
2,1 Mb
Список файлов
Колебания.docx
Комментарии
Нет комментариев
Стань первым, кто что-нибудь напишет!
МГТУ им. Н.Э.Баумана


















