Для студентов МГТУ им. Н.Э.Баумана по предмету Теоретическая механикаКинематика точки и простейших движений твердого телаКинематика точки и простейших движений твердого тела
5,0052
2021-02-262021-02-26СтудИзба
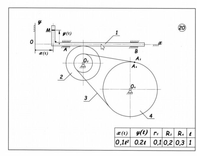
ДЗ 1: Кинематика точки и простейших движений твердого тела вариант 20
Описание
В файле полностью выполненный ТР-1 Кинематика точки и простейшие движения твердого тела , зачтенный преподавателем на макс балл , подробно и понятно расписан. Условие ниже

Характеристики домашнего задания
Предмет
Учебное заведение
Семестр
Номер задания
Вариант
Просмотров
63
Размер
839,7 Kb
Список файлов
1 типарь на макс балл.pdf