Для студентов МГТУ им. Н.Э.Баумана по предмету Теоретическая механикаКолебания линейной системы с одной степенью свободыКолебания линейной системы с одной степенью свободы
4,84544
2020-06-272025-02-11СтудИзба
ДЗ 2: Колебания линейной системы с одной степенью свободы вариант 5
-43%
Описание
Типовой расчет по теоретической механике, "Колебания", зачтен на максимальный балл
Единичку поставили просто так :)
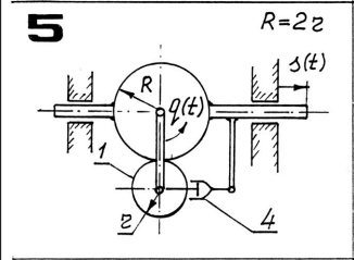
Условие:
Решение: ![]()
Единичку поставили просто так :)
Условие:


Характеристики домашнего задания
Предмет
Учебное заведение
Семестр
Номер задания
Вариант
Просмотров
687
Качество
Фото печатных листов
Размер
2,62 Mb
Список файлов
вар5 колебания.docx

Спасибо за покупку! Я буду очень рад, если поставишь справедливую оценку купленному файлу :3 Ищи больше работ в моём профиле, там много нужного тебе!