Для студентов МГТУ им. Н.Э.Баумана по предмету Теоретическая механикаПлоская и пространственная статикаПлоская и пространственная статика
4,935261
2020-05-222020-10-07СтудИзба
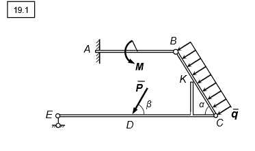
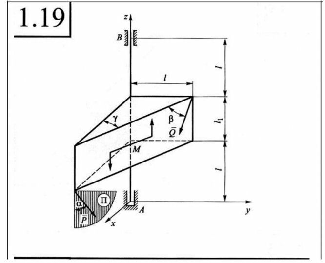
ДЗ 4: Плоская и пространственная статика вариант 19
Описание
Типовой расчет принят преподавателем , 2 задачи , 1 из плоской статики другая из пространственной , условия внизу
![]()




Характеристики домашнего задания
Предмет
Учебное заведение
Семестр
Номер задания
Вариант
Просмотров
668
Размер
7,09 Mb
Список файлов
dz_4_po_teoreticheskoi_774_mekhanike.docx
Комментарии

Отзыв
сразу приняли