Для студентов МГТУ им. Н.Э.Баумана по предмету Теоретическая механикаКолебания линейной системы с одной степенью свободыКолебания линейной системы с одной степенью свободы
2,8857
2020-05-212020-05-21СтудИзба
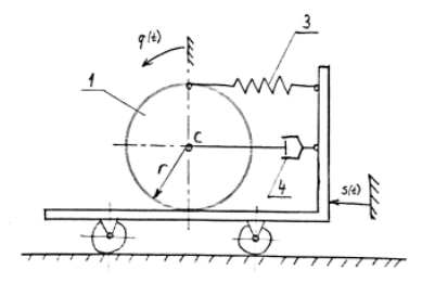
ДЗ 2: Колебания линейной системы с одной степенью свободы вариант 12
Описание
Характеристики домашнего задания
Предмет
Учебное заведение
Семестр
Номер задания
Вариант
Просмотров
273
Размер
3,77 Mb
Список файлов
Колебания линейной системы с одно степенью свободы.pdf

МГТУ им. Н.Э.Баумана



















