Для студентов МГТУ им. Н.Э.Баумана по предмету Сопротивление материаловЗадача 5.3Задача 5.3
4,9957417
2023-05-282023-05-28СтудИзба
Вариант 7 - Задание № 5.3 - Статически неопределимые задачи изгиба
Задача 5.3 вариант 7
Описание
Задача зачтена на максимум!
УСЛОВИЕ
ДЕМО

Показать/скрыть дополнительное описание
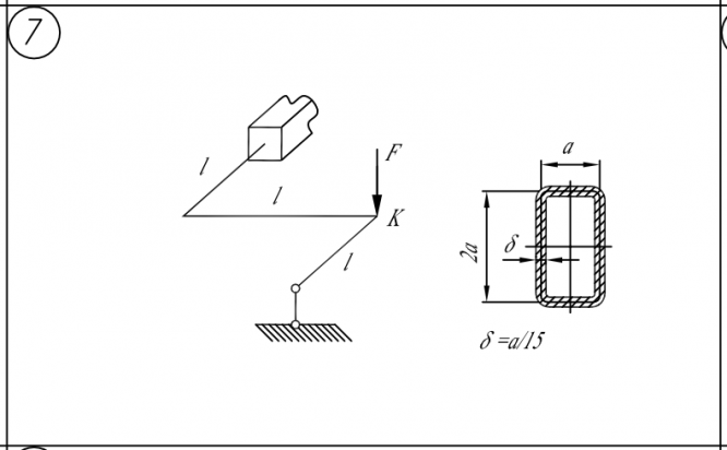
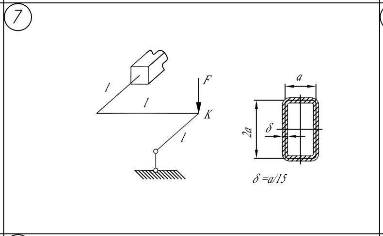
Раскрыть статическую неопределимость и построить эпюры изгибающих и крутящих моментов Найти линейное перемещение сечения К.
Характеристики решённой задачи
Предмет
Учебное заведение
Семестр
Номер задания
Вариант
Теги
Просмотров
23
Качество
Скан рукописных листов
Размер
599,54 Kb
Список файлов
Задача 5_3 Вариант 71.pdf

Если работа Вам была полезна, Пожалуйста, потратьте несколько секунд, чтобы оставить нам 5 ЗВЁЗД и положительный отзывы. Мы Вам глубоко признателены!