Для студентов МГТУ им. Н.Э.Баумана по предмету Сопротивление материаловЗадача 6.2Задача 6.2
4,9958898
2023-03-082024-11-27СтудИзба
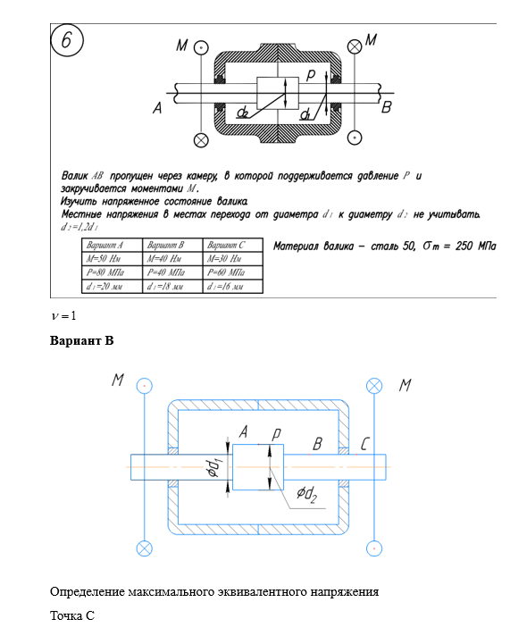
Задача 6.2 вариант 6
Описание
Характеристики решённой задачи
Предмет
Учебное заведение
Семестр
Номер задания
Вариант
Просмотров
4
Размер
194,89 Kb
Список файлов
Вариант 6В.docx

Ваше удовлетворение является нашим приоритетом, если вы удовлетворены нами, пожалуйста, оставьте нам 5 ЗВЕЗД и позитивных комментариев. Спасибо большое!. Смотрите файлы в моем профиле, там есть много полезных !