Для студентов МГТУ им. Н.Э.Баумана по предмету Сопротивление материаловСтатически неопределимые задачи изгибаСтатически неопределимые задачи изгиба
5,0055
2023-05-282024-09-06СтудИзба
Вариант 7 - Статически неопределимые задачи изгиба (3 задачи)
ДЗ 4: Статически неопределимые задачи изгиба вариант 7
Описание
ДЗ зачтено на максимум!
ОТДЕЛЬНЫЕ решенные задачи, НАЖМИТЕ на название задач 👇👇👇:
ДЕМО
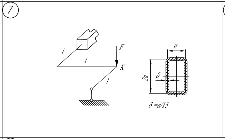
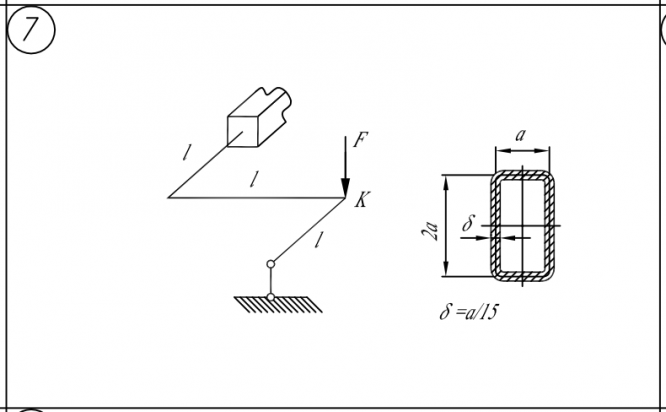
Задача № 5.1:
Задача № 5.2:

Задача № 5.3:

Показать/скрыть дополнительное описание
Вариант 7 - Статически неопределимые задачи изгиба (3 задачи).
Характеристики домашнего задания
Предмет
Учебное заведение
Семестр
Номер задания
Вариант
Просмотров
126
Качество
Скан рукописных листов
Размер
2,2 Mb
Список файлов
Задача 5_2 Вариант 7.pdf
Задача 5_3 Вариант 71.pdf
Задача 5_1 Вариант 7.pdf

Если работа Вам была полезна, Пожалуйста, потратьте несколько секунд, чтобы оставить нам 5 ЗВЁЗД и положительный отзывы. Мы Вам глубоко признателены!