Для студентов МГТУ им. Н.Э.Баумана по предмету Сопротивление материаловРасчет на прочность. Общий случай напряженного состоянияРасчет на прочность. Общий случай напряженного состояния
5,0055
2023-03-102024-11-27СтудИзба
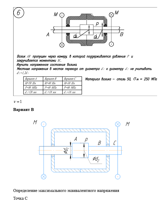
ДЗ 5: Расчет на прочность. Общий случай напряженного состояния вариант 6
-55%
Описание
Зачтено на максимальный балл
При покупке оставьте комментарий и Вы можете получить подарок 🎁 🎁 !!!
Характеристики домашнего задания
Предмет
Учебное заведение
Семестр
Номер задания
Вариант
Просмотров
77
Качество
Идеальное компьютерное
Размер
380,42 Kb
Список файлов
Вариант 6В.docx
Задача6.1-вариант6.docx

Ваше удовлетворение является нашим приоритетом, если вы удовлетворены нами, пожалуйста, оставьте нам 5 ЗВЕЗД и позитивных комментариев. Спасибо большое!. Смотрите файлы в моем профиле, там есть много полезных !