Для студентов МГТУ им. Н.Э.Баумана по предмету Сопротивление материаловСтатически определимые балкиСтатически определимые балки
5,0055
2022-06-072022-06-07СтудИзба
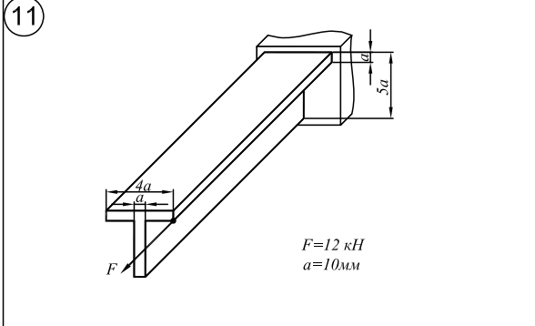
ДЗ 3: Статически определимые балки вариант 11
Описание


Характеристики домашнего задания
Предмет
Учебное заведение
Семестр
Номер задания
Вариант
Теги
Просмотров
113
Размер
320 Kb
Список файлов
зад 1.pdf
зад 2.pdf

Спасибо за покупку! Я буду очень рад, если поставишь справедливую оценку купленному файлу