Для студентов МГТУ им. Н.Э.Баумана по предмету Сопротивление материаловСтатически определимые балкиСтатически определимые балки
4,885351
2016-06-242024-12-04СтудИзба
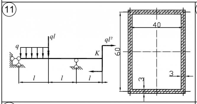
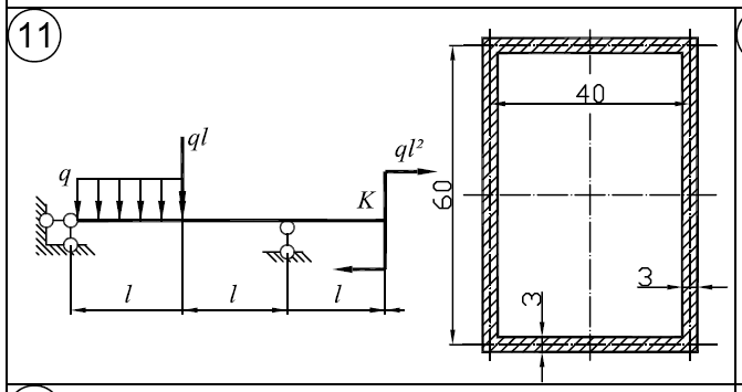
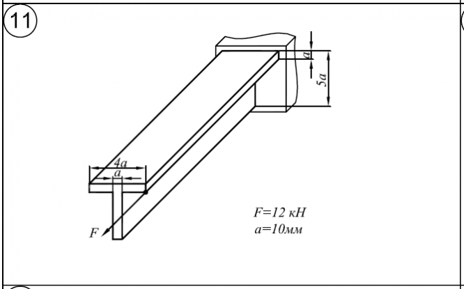
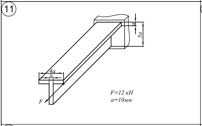
ДЗ 3: Статически определимые балки вариант 11
-50%
Описание
Нужна только одна задача из всех? - Нажимай на ссылку
Файлы условия, демо
Характеристики домашнего задания
Предмет
Учебное заведение
Семестр
Номер задания
Вариант
Теги
Просмотров
1920
Качество
Фото рукописных листов
Размер
14,28 Mb
Список файлов
4.1.pdf
4.2.pdf
(4.1).pdf
(4.2).pdf

Вам все понравилось? Получите кэшбэк - 40 рублей на Ваш счёт при покупке. Поставьте оценку и напишите положительный комментарий к купленному файлу. После Вы получите деньги на ваш счет.
Комментарии

Отзыв
Всё подошло, работу приняли!