Курсовая работа: Конструкция узла
Описание
Содержание
1.Задание на курсовую работу…………………………………………….2
2.Схема редуктора………………………………………………………….4
3.Спецификация…………………………………………………………….5
4.Описание установки……………………………………………………...6
5.Назначение посадок и допусков на сопрягаемые детали……………...7
6.Расчет цепей……………………………………………………………...9
7.Список использованной литературы…………………………………..17
ЗАДАНИЕ
на курсовую работу по дисциплине
«Основы взаимозаменяемости и технические измерения»
Студент_______________________ Группа ________________________
Руководитель работы ______
Узел _____________________________________
Годовая программа выпуска _____________шт.
Дата выдачи _________________ срок выполнения__________________
Задание на курсовое проектирование
1. Изучить назначение и конструкцию узла в целом и его сопрягаемых деталей (на схематическом изображении узла кратко описан принцип его работы). Сделать описание.
2. По заданным параметрам (в зависимости от варианта задания) назначить посадки (с натягом, с зазором, переходные) на сопрягаемые детали, исходя из условий обеспечения его работоспособности, рекомендаций и рассчитать их. Пояснить выбор характера сопряжения. Недостающие исходные данные принимаются конструктивно.
3. Сделать схематическое изображение узла (Формат А3) + спецификация с назначенными посадками на сопряжения.
4. Рассчитать размерную цепь. Расчет прямой задачи произвести двумя способами: максимум – минимум (полная взаимозаменяемость) и неполной взаимозаменяемости (вероятностный метод). Сделать вывод по результатам расчета.
5. Выполнить чертеж заданной детали (позиция детали указывается преподавателем) с указанием предельных отклонений размеров, параметров шероховатости, допусков формы и расположения поверхностей и других технических требований, предъявляемых к данной детали для обеспечения эксплуатационных показателей.
6. Разработать карту контроля детали с указанием требуемого инструмента, возможности сокращения контрольных операций за счет контроля отклонений формы и расположения, на которые заданы допуски в чертеже указанной детали.
7. Рассчитать два комплекта калибров (калибры, пробки, калибры скобы) для гладкого цилиндрического соединения (вал, отверстие).
8. Выполнить рабочие чертежи калибров.
9. Построить схему расположения полей резьбового, шпоночного или шлицевого соединения (в зависимости от задания).
Курсовая работа выполняется и оформляется в виде расчетно – пояснительной записки, изложенной на листах писчей бумаги формата А4 (210*297мм). Приложения ввиде графической части. Оформление пояснительной записки должно соответствовать ГОСТ 7.32, а чертежи в соответствии с ЕСКД.
Необходимые схемы, эскизы, расчетные таблицы выполняются с использованием CAD программ, и следуют за расчетом каждой задачи.
Пояснительная записка курсовой работы оформляется в виде отчета, содержащего:
- Титульный лист.
- Бланк – задание на курсовую работу.
- Схема узла (задание).
- Содержание.
- Расчетная часть в соответствии с заданием (п1-9).
- Спецификация.
- Сборочный чертеж.
- Чертеж детали.
- Схема контроля.
- Литература
Описание установки
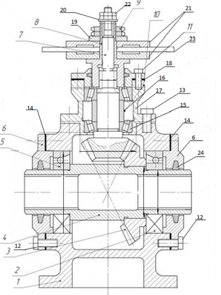
В корпус 1 вставлен вал каретки с внутренними шлицами предназначенный для резки стеклошпона. Вал 4 посажен на радиально-упорные подшипники качения 5 и 2 закрытых с торцов сквозными крышками 6, которая регулируется наборной прокладкой 14, с манжетным уплотнением, закрепленная болтами 12. На вал 4 по неподвижной посадке запрессована коническая шестерня 3. Вал каретки передает крутящий момент ведомому валу 7 выполненный в виде конического вала – шестерни. Вал 7 расположен в стакане 17, установленный на радиально – упорных роликовых подшипниках 15, между подшипниками установлена распорная втулка 16 для фиксации подшипников 15. Крышка 10 стакана 17 закреплена болтами 11, которая регулируется наборной прокладкой 18 (толщина прокладки от 0,1 – 1 мм). Корпус 1 и стакан 17 закреплены между собой болтами 13. На ведомом валу 7 надета шлицевая втулка 8, которая закреплена гайкой 22 и опорной шайбой 20. Шлифовальный круг 23 расположенный на втулке 8 и закреплен двумя дисками и двумя гайками 9, прижимными шайбами 21 и опорной шайбой 19.
Исходные данные представлены в табл. 1,2
Таблица 1
№ | Сопряжение | ||||||||||||||||||||||||
№ вари- | |||||||||||||||||||||||||
1–5 | 1–6 | 1–10 | 4–3 | 4–2 | 7–8 | 7–11 | 7–8 | 7–9 | |||||||||||||||||
анта | z×d×D | ||||||||||||||||||||||||
1 | 100 | 100 | 75 | 60 | 55 | 22 | 30 | 6×23×26 | М20×1 | ||||||||||||||||
2 | 110 | 110 | 85 | 65 | 60 | 26 | 35 | 6×28×34 | М24×1,5 | ||||||||||||||||
3 | 120 | 120 | 110 | 70 | 65 | 40 | 50 | 8×42×46 | М36×1,5 | ||||||||||||||||
4 | 125 | 125 | 120 | 75 | 70 | 45 | 55 | 8×46×54 | М42×1 | ||||||||||||||||
| Таблица 2 | |||||||||||||||||||||||||
№ | |||||||||||||||||||||||||
№ | Б | Б1 | Б2 | Б3 | Б4 | А3 = Б7 | А7 = Б8 | А5 = Б9 | Б5 | А1 | |||||||||||||||
вари- | =Б6 | ||||||||||||||||||||||||
анта | |||||||||||||||||||||||||
1 | ±0,6 | 180 | 95 | 78 | 80 | 17,5–0,5 | 35 | 16–0,1 | 40 | 12 | |||||||||||||||
2 | ±0,8 | 190 | 105 | 80 | 90 | 18,5–0,5 | 35 | 17–0,12 | 45 | 15 | |||||||||||||||
3 | ±1 | 210 | 120 | 85 | 96 | 22–0,5 | 40 | 21–0,12 | 50 | 18 | |||||||||||||||
4 | ±1,2 | 230 | 140 | 85 | 100 | 23–0,5 | 40 | 21–0,15 | 50 | 20 | |||||||||||||||
all_at_700
















