Задача 6: Задача 6-8 вариант 8
Описание
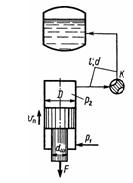
Определить перепад давления в силовом гидроцилиндре ΔPц, шток которого нагружен постоянной силой F = 16 кН, в следующих двух случаях: 1) скорость подъема поршня равна vп = 0; 2) vп = 0,2 м/с. Диаметры: поршня D = 60 мм; штока dш = 20 мм. Трубопровод, по которому жидкость движется из гидроцилиндра через распределитель K в бачок, имеет длину l = 6 м; диаметр d = 10 мм. Свойства жидкости: v = 4 Ст; р = 850 кг/м3. Сопротивлением распределителя К пренебречь. Избьггочное давление в баке считать равным нулю, нивелирнне высоты не учитывать.
Указание. Следует записать уравнение равновесия поршня и из него выразить рц через давление P2, которое является функцией скорости в трубопроводе.
![]()
Указание. Следует записать уравнение равновесия поршня и из него выразить рц через давление P2, которое является функцией скорости в трубопроводе.

Характеристики решённой задачи
Номер задания
Вариант
Программы
Теги
Просмотров
9
Качество
Идеальное компьютерное
Размер
20,04 Kb
Список файлов
6.8.docx
Комментарии
Нет комментариев
Стань первым, кто что-нибудь напишет!
A45162






















