Для студентов по предмету Механика жидкости и газа (МЖГ или Гидравлика)Задача 14-1Задача 14-1
5,0056
2025-07-302025-08-20СтудИзба
Задача 14: Задача 14-1 вариант 1
Описание
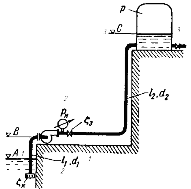
Центробежный насос, расположенный на уровне с отметкой B = 4 м, перекачивает воду из открытого резервуара с уровнем A = 2 м в резервуар с уровнем C = 14 м и давлением на поверхности P = 1,2 атм. Определить подачу, напор и мощность насоса, если манометр, установленный на выходе из насоса, показывает рМ = 2,5 атм, а всасывающий и нагнетательный трубопроводы имеют длины l1 = 6 м и l2=60 м и диаметры d1 = 100 мм и d2 = 80 мм. При расчетах принять коэффициенты сопротивления трения трубопроводов равными 1 =0,025 и 2 = 0,028, коэффициенты сопротивлений всасывающей коробки с обратным клапаном к=7 и частично закрытой задвижкой 3 =8. Построить пьезометрическую линию для системы.

Характеристики решённой задачи
Номер задания
Вариант
Программы
Теги
Просмотров
24
Качество
Идеальное компьютерное
Размер
129,23 Kb
Список файлов
Задача 14.1.docx
Комментарии
Нет комментариев
Стань первым, кто что-нибудь напишет!
A45162























