Задача 6: Задача 6-13 вариант 13
Описание
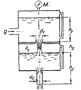
Вода из верхней секции замкнутого бака перетекает в нижнюю через отверстие d1 = 30 мм, а затем через цилиндрический насадок d2 = 20 мм вытекает в атмосферу. Определить расход через насадок, если при установившемся режиме показание манометра М=50 кПа, а уровни в водомерных стеклах h1 = 2 м и h2 = 3 м. Найти при этом давление рх над уровнем воды в нижней секции бака. Построить эпюр давлений по оси сосуда.

Характеристики решённой задачи
Номер задания
Вариант
Программы
Теги
Просмотров
42
Качество
Идеальное компьютерное
Размер
20,24 Kb
Список файлов
Задача 6.13.docx
Комментарии
Нет комментариев
Стань первым, кто что-нибудь напишет!
A45162






















