Для студентов по предмету Механика жидкости и газа (МЖГ или Гидравлика)Задача 9-1Задача 9-1
5,0057
2025-05-072025-09-07СтудИзба
Задача 9: Задача 9-1 вариант 1
Описание
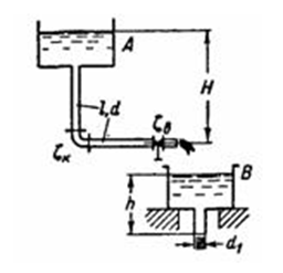
Вода сливается из бака А в бак В по трубопроводу, диаметр которого d = 80 мм и полная длина L=2*l= 10 м. Из бака В вода вытекает в атмосферу через цилиндрический насадок такого же диаметра d1 = 80 мм (м = 0,82). Коэффициенты сопротивления колена и вентиля в трубе равны С =0,3 и С = 4; коэффициент сопротивления трения 0,03. Определить, какой напор Н нужно поддерживать в баке А, чтобы уровень в баке В находился на высоте h =1,5 м.

Характеристики решённой задачи
Номер задания
Вариант
Программы
Теги
Просмотров
35
Качество
Идеальное компьютерное
Размер
36,36 Kb
Список файлов
Задача9.1.docx
Комментарии
Нет комментариев
Стань первым, кто что-нибудь напишет!
A45162





















