Для студентов по предмету Механика жидкости и газа (МЖГ или Гидравлика)На рисунке показана принципиальная схема гидровакуумного усилителя гидропривода тормозов автомобиля. Давление жидкости, создаваемое в гидроцилиндре блНа рисунке показана принципиальная схема гидровакуумного усилителя гидропривода тормозов автомобиля. Давление жидкости, создаваемое в гидроцилиндре бл
5,0051
2023-09-082023-09-08СтудИзба
На рисунке показана принципиальная схема гидровакуумного усилителя гидропривода тормозов автомобиля. Давление жидкости, создаваемое в гидроцилиндре благодаря нажатию на ножную педаль с силой F, передается в левую полость тормозного гидроцилиндра 2. П
Описание
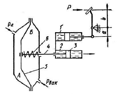
На рисунке показана принципиальная схема гидровакуумного усилителя гидропривода тормозов автомобиля. Давление жидкости, создаваемое в гидроцилиндре благодаря нажатию на ножную педаль с силой F, передается в левую полость тормозного гидроцилиндра 2. Помимо давления жидкости на поршень 3 в том же направлении действует сила вдоль штока 4, связанного с диафрагмой 5. Последняя отделяет полость А, сообщающуюся с атмосферой, от полости Б, где устанавливается вакуум благодаря соединению ее со всасывающим коллектором двигателя при нажатии на педаль. Пружина 6 при этом действует на диафрагму справа налево с силой Fпp. Определить давление жидкости, подаваемой из правой полости гидроцилиндра 2 к колесным тормозным цилиндрам. Принять: усилие педали F = 150 H; сила пружины 6 Fnp = 15 H; давление в полости Б рвак = 20 кПа; диаметры: диафрагмы 5 D = 120 мм, гидроцилиндра 1 d1 = 25 мм и гидроцилиндра 2 d2 = 20 мм; отношение плеч b/а = 5. Площадью сечения штока 4 пренебречь. ![]()

Характеристики решённой задачи
Номер задания
Вариант
Просмотров
13
Качество
Скан печатных листов
Размер
333,52 Kb
Список файлов
1.jpg
