Для студентов по предмету Механика жидкости и газа (МЖГ или Гидравлика)Определить расход воды Q в трубе диаметром d1=250 мм, имеющей плавное сужение до диаметра d2=125 мм, если показания пьезометров: до сужения h1=50 см; Определить расход воды Q в трубе диаметром d1=250 мм, имеющей плавное сужение до диаметра d2=125 мм, если показания пьезометров: до сужения h1=50 см;
5,0057
2022-06-032022-06-03СтудИзба
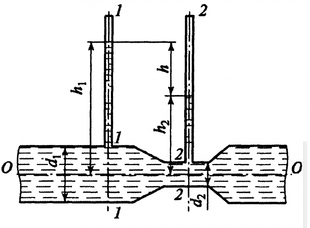
Определить расход воды Q в трубе диаметром d1=250 мм, имеющей плавное сужение до диаметра d2=125 мм, если показания пьезометров: до сужения h1=50 см; в сужении h2=30 см. Температура воды 20ºС.
Описание
Определить расход воды Q в трубе диаметром d1=250 мм, имеющей плавное сужение до диаметра d2=125 мм, если показания пьезометров: до сужения h1=50 см; в сужении h2=30 см. Температура воды 20ºС.
Характеристики решённой задачи
Номер задания
Программы
Просмотров
72
Качество
Идеальное компьютерное
Размер
70,27 Kb
Список файлов
Задача 1.docx
