Для студентов УрГАУ по предмету Механика жидкости и газа (МЖГ или Гидравлика)Цилиндрический резервуар диаметром ‘D’, весом ‘G’, заполненный водой на высоту а, висит на поршне диаметром ‘d’. К поршню через блоки подвешен груз, уЦилиндрический резервуар диаметром ‘D’, весом ‘G’, заполненный водой на высоту а, висит на поршне диаметром ‘d’. К поршню через блоки подвешен груз, у
5,0057
2021-12-292021-12-29СтудИзба
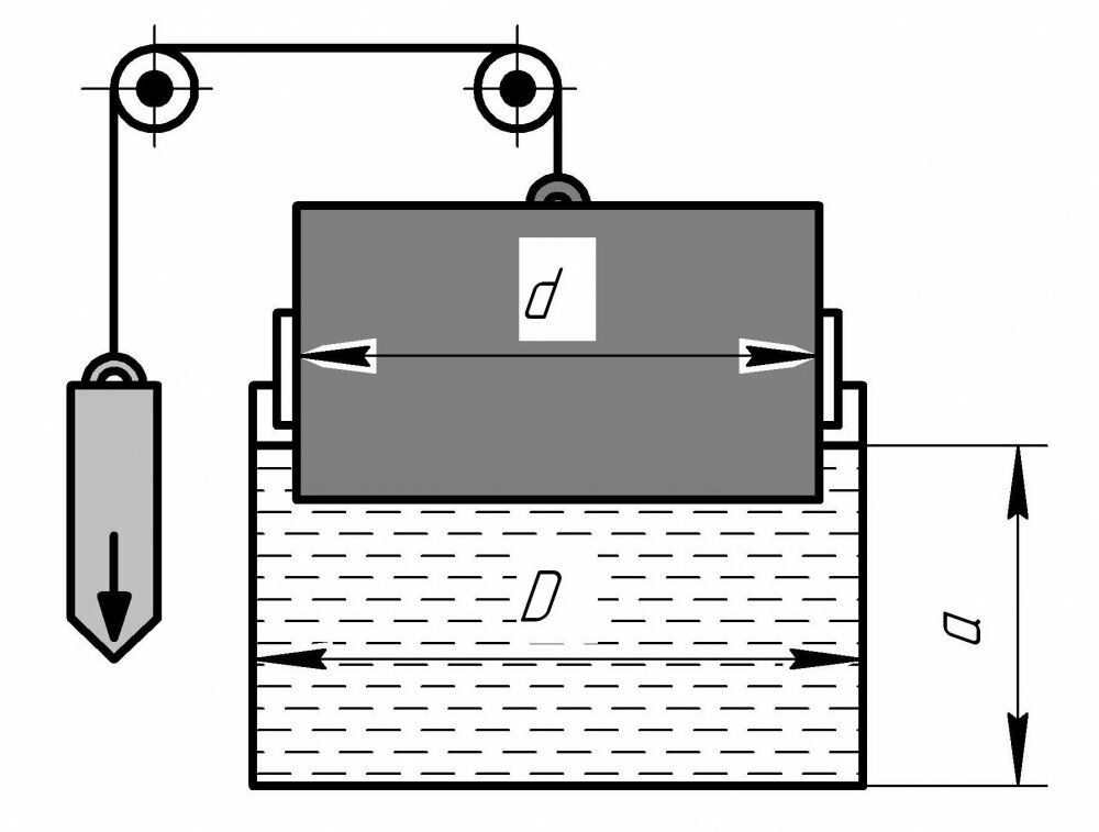
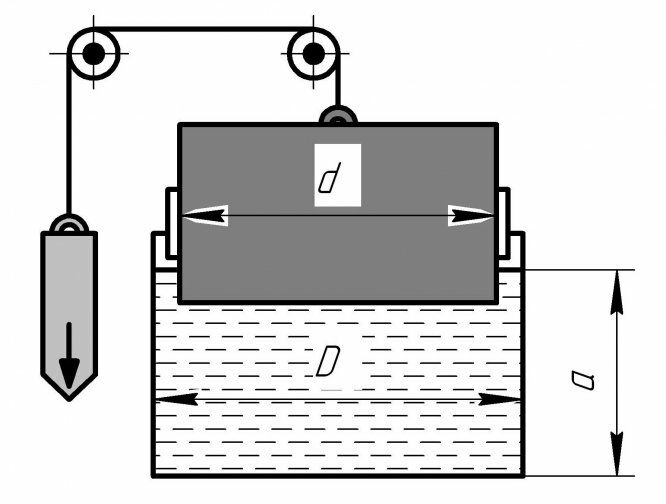
Цилиндрический резервуар диаметром ‘D’, весом ‘G’, заполненный водой на высоту а, висит на поршне диаметром ‘d’. К поршню через блоки подвешен груз, удерживающий систему в равновесии. Определить вакуум в сосуде, обеспечивающий равновесие в цилиндре.
Описание
Цилиндрический резервуар диаметром ‘D’, весом ‘G’, заполненный водой на высоту а, висит на поршне диаметром ‘d’. К поршню через блоки подвешен груз, удерживающий систему в равновесии. Определить вакуум в сосуде, обеспечивающий равновесие в цилиндре. Трением в системе пренебречь.
Рисунок – 2,9 | |||
D, мм | D, мм | G, кн | а, м |
900 | 850 | 0,20 | 0,5 |

Характеристики решённой задачи
Учебное заведение
Номер задания
Программы
Теги
Просмотров
74
Качество
Идеальное компьютерное
Размер
50,72 Kb
Список файлов
