Для студентов по предмету Механика жидкости и газа (МЖГ или Гидравлика)Сифонный бетонный водосброс внешним диаметром d общей длиной l сбрасывает воду из водохранилища в реку, уровень которой на Н ниже уровня водохранилищаСифонный бетонный водосброс внешним диаметром d общей длиной l сбрасывает воду из водохранилища в реку, уровень которой на Н ниже уровня водохранилища
5,00518074
2021-12-272021-12-27СтудИзба
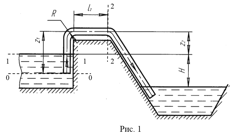
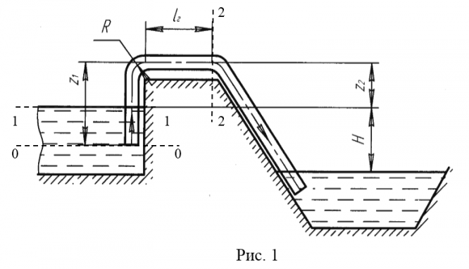
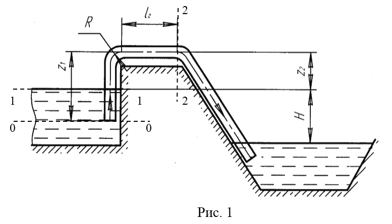
Сифонный бетонный водосброс внешним диаметром d общей длиной l сбрасывает воду из водохранилища в реку, уровень которой на Н ниже уровня водохранилища (рис. 1). Определить подачу сифонного водосброса, если он имеет два поворота: α1 = 90º, α2 с радиус
Описание
Сифонный бетонный водосброс внешним диаметром d общей длиной l сбрасывает воду из водохранилища в реку, уровень которой на Н ниже уровня водохранилища (рис. 1). Определить подачу сифонного водосброса, если он имеет два поворота: α1 = 90º, α2 с радиусами закругления R. Длина горизонтального участка lг, толщина стенок водосброса δ. Температура воды в водохранилище t. Определить также вакуум в верхней точке сифона.
Дано: d1 = 0,6 м; H = 1,4 м; l = 45 м; lг = 2,2 м; R = 2,3 м; α2 = 40o; δ = 30 мм; t = 20 ºC; z1 = 2,8 м; z2 = 1,4 м;
Найти: V - ? Pвак - ?
Характеристики решённой задачи
Программы
Просмотров
5
Качество
Идеальное компьютерное
Размер
65,82 Kb
Список файлов
Задача1.docx
