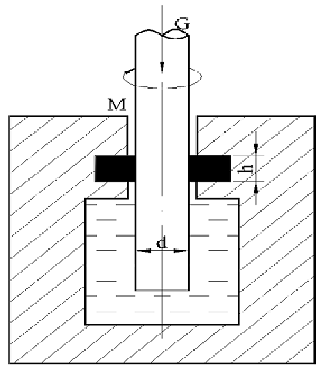
Для студентов по предмету Механика жидкости и газа (МЖГ или Гидравлика)Вертикальный вал, опирающийся на гидравлический подпятник, передает полезный момент М = 25 кн. Осевая сила G = 100 кн, диаметр пяты d = 30 см. ОпределВертикальный вал, опирающийся на гидравлический подпятник, передает полезный момент М = 25 кн. Осевая сила G = 100 кн, диаметр пяты d = 30 см. Определ
5,0053
2021-10-132021-10-13СтудИзба
Вертикальный вал, опирающийся на гидравлический подпятник, передает полезный момент М = 25 кн. Осевая сила G = 100 кн, диаметр пяты d = 30 см. Определить полный момент на валу, если высота гидравлической манжеты h = 0,2 d и коэффициент трения ко
Описание
Вертикальный вал, опирающийся на гидравлический подпятник, передает полезный момент М = 25 кн. Осевая сила G = 100 кн, диаметр пяты d = 30 см. Определить полный момент на валу, если высота гидравлической манжеты h = 0,2 d и коэффициент трения кожи о вал f = 0,2. Давление на внутренней поверхности манжеты условно принять равным давлению в жидкости.

Характеристики решённой задачи
Программы
Просмотров
21
Качество
Идеальное компьютерное
Размер
53,69 Kb
Список файлов
Задача 1.docx
