Для студентов по предмету Инженерная графикаШтампШтамп
5,00512
2026-01-252026-01-25СтудИзба
Задача 15: Штамп
Описание
Штамп 00-000.06.15.15.00 ЧЕРТЕЖ
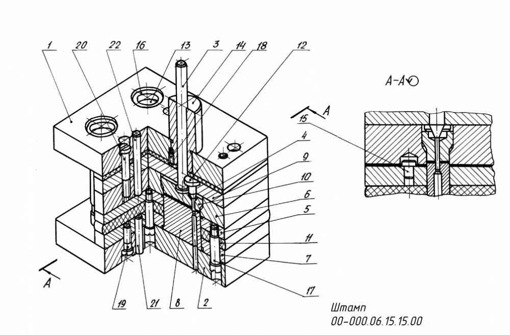
В отверстие Ф25 нижней плиты 2 запрессованы две колонки 13 Обойма 7 надевается на пуансон-матрицу 8, закрепляется на плите 2 винтами 19 и фиксируется штифтами 21. Отверстия Ф7 в плите 2 и пуансоне-матрице 8 должны совпасть Амортизатор 11, и съемник 5 надеваются на пуансон-матрицу и винтами 17 соединяются с обоймой 7. В отверстие O6 съемника 5 вставлен упор 152. СБОРКА ПОДВИЖНОЙ ЧАСТИ
В отверстия Ф38 плиты 1 запрессованы втулки 16, а в отверстие
М42хЗ-6Н ввернут хвостовик 14 и застопорен бинтом 18 Пуансон 12 запрессован в пуансонодержатель 9 со стороны отверстия Ф23, а выталкиватель 10 вставлен в матрицу 6 Плита 1, прокладка 4, пуансонодержатель 9 и матрица 6 соединены винтами 20 и фиксируются штифтами 22 Плита 1 с запрессованными втулками 16 надевается на направляющие колонки 13 хвостовиком вверх.
ПРИНЦИП РАБОТЫ ШТАМПА
Заготовка подается через вырез съемника 5 до упора 15. В начале рабочего хода подвижная часть штампа опускается вниз, выталкиватель 10 прижимает заготовку к пуансон-матрице 8 При дальнейшем движении
выбирается зазор между выталкивателем 10 и пуансон держателем 9, сжимается амортизатор 11 и происходит вырубка детали из заготовки и пробивка отв. Ф4. При холостом ходе подвижной части съемник 5 амортизатором 11 возвращается в первоначальное положение, а деталь освобождается из матрицы 6 выталкивателем 10 под действием его веса. Все фаски для внутренней метрической резьбы выполнены по ГОСТ 10549-80 и на чертежах деталей не указаны.
Штамп 00-000.06.15.15.00 сборочный чертеж
Штамп 00-000.06.15.15.00 спецификация
Штамп 00-000.06.15.15.00 3д модель
Штамп 00-000.06.15.15.00 чертежи
Плита верхняя 00-000.06.15.15.01
Плита нижняя 00-000.06.15.15.02
Толкатель 00-000.06.15.15.03
Прокладка 00-000.06.15.15.04
Съемник 00-000.06.15.15.05
Матрица 00-000.06.15.15.06
Обойма 00-000.06.15.15.07
Пуансон-матрица 00-000.06.15.15.08
Пуансон-держатель 00-000.06.15.15.09
Выталкиватель 00-000.06.15.15.10
Амортизатор 00-000.06.15.15.11
Пуансон 00-000.06.15.15.12
Колонка 00-000.06.15.15.13
Хвостовик 00-000.06.15.15.14
Упор 00-000.06.15.15.15
Втулка 00-000.06.15.15.16
Винт 00-000.06.15.15.17
Все чертежи и 3d модели (все на скриншотах показано и присутствует в архиве) выполнены в КОМПАС 3D.Также открывать и просматривать, печатать чертежи и 3D-модели, выполненные в КОМПАСЕ можно просмоторщиком КОМПАС-3D Viewer.
В отверстие Ф25 нижней плиты 2 запрессованы две колонки 13 Обойма 7 надевается на пуансон-матрицу 8, закрепляется на плите 2 винтами 19 и фиксируется штифтами 21. Отверстия Ф7 в плите 2 и пуансоне-матрице 8 должны совпасть Амортизатор 11, и съемник 5 надеваются на пуансон-матрицу и винтами 17 соединяются с обоймой 7. В отверстие O6 съемника 5 вставлен упор 152. СБОРКА ПОДВИЖНОЙ ЧАСТИ В отверстия Ф38 плиты 1 запрессованы втулки 16, а в отверстие
М42хЗ-6Н ввернут хвостовик 14 и застопорен бинтом 18 Пуансон 12 запрессован в пуансонодержатель 9 со стороны отверстия Ф23, а выталкиватель 10 вставлен в матрицу 6 Плита 1, прокладка 4, пуансонодержатель 9 и матрица 6 соединены винтами 20 и фиксируются штифтами 22 Плита 1 с запрессованными втулками 16 надевается на направляющие колонки 13 хвостовиком вверх.
ПРИНЦИП РАБОТЫ ШТАМПА
Заготовка подается через вырез съемника 5 до упора 15. В начале рабочего хода подвижная часть штампа опускается вниз, выталкиватель 10 прижимает заготовку к пуансон-матрице 8 При дальнейшем движении
выбирается зазор между выталкивателем 10 и пуансон держателем 9, сжимается амортизатор 11 и происходит вырубка детали из заготовки и пробивка отв. Ф4. При холостом ходе подвижной части съемник 5 амортизатором 11 возвращается в первоначальное положение, а деталь освобождается из матрицы 6 выталкивателем 10 под действием его веса. Все фаски для внутренней метрической резьбы выполнены по ГОСТ 10549-80 и на чертежах деталей не указаны.
Штамп 00-000.06.15.15.00 сборочный чертеж
Штамп 00-000.06.15.15.00 спецификация
Штамп 00-000.06.15.15.00 3д модель
Штамп 00-000.06.15.15.00 чертежи
Плита верхняя 00-000.06.15.15.01
Плита нижняя 00-000.06.15.15.02
Толкатель 00-000.06.15.15.03
Прокладка 00-000.06.15.15.04
Съемник 00-000.06.15.15.05
Матрица 00-000.06.15.15.06
Обойма 00-000.06.15.15.07
Пуансон-матрица 00-000.06.15.15.08
Пуансон-держатель 00-000.06.15.15.09
Выталкиватель 00-000.06.15.15.10
Амортизатор 00-000.06.15.15.11
Пуансон 00-000.06.15.15.12
Колонка 00-000.06.15.15.13
Хвостовик 00-000.06.15.15.14
Упор 00-000.06.15.15.15
Втулка 00-000.06.15.15.16
Винт 00-000.06.15.15.17
Все чертежи и 3d модели (все на скриншотах показано и присутствует в архиве) выполнены в КОМПАС 3D.Также открывать и просматривать, печатать чертежи и 3D-модели, выполненные в КОМПАСЕ можно просмоторщиком КОМПАС-3D Viewer.Файлы условия, демо
Характеристики решённой задачи
Предмет
Семестр
Номер задания
Программы
Теги
Просмотров
1
Качество
Идеальное компьютерное
Размер
1,02 Mb
Список файлов
00-000.06.15.15
00-000.06.15.15.00 СБ_Штамп.a3d
00-000.06.15.15.00 СБ_Штамп.cdw
00-000.06.15.15.00 СП_Штамп.cdw
00-000.06.15.15.01 Плита верхняя.cdw
00-000.06.15.15.01_Плита верхняя.m3d
00-000.06.15.15.02 Плита нижняя.cdw
00-000.06.15.15.02_Плита нижняя.m3d
00-000.06.15.15.03 Толкатель.cdw
00-000.06.15.15.03_Толкатель.m3d
00-000.06.15.15.04 Прокладка.cdw
00-000.06.15.15.04_Прокладка.m3d
00-000.06.15.15.05_Съемник.m3d
00-000.06.15.15.06 Матрица.cdw
00-000.06.15.15.06_Матрица.m3d
00-000.06.15.15.07 Обойма.cdw
00-000.06.15.15.07_Обойма.m3d
00-000.06.15.15.08 Пуансон-матрица.cdw
00-000.06.15.15.08_Пуансон-матрица.m3d
00-000.06.15.15.09 Пуансон-держатель.cdw
00-000.06.15.15.09_Пуансон-держатель.m3d
00-000.06.15.15.10 Выталкиватель.cdw
00-000.06.15.15.10_Выталкиватель.m3d
00-000.06.15.15.11 Амортизатор.cdw
00-000.06.15.15.11 Съемник.cdw
00-000.06.15.15.11_Амортизатор.m3d
00-000.06.15.15.12 Пуансон.cdw
00-000.06.15.15.12_Пуансон.m3d
00-000.06.15.15.13 Колонка.cdw
00-000.06.15.15.13_Колонка.m3d
00-000.06.15.15.14 Хвостовик.cdw
Комментарии
Нет комментариев
Стань первым, кто что-нибудь напишет!
coolns






















