Для студентов МГТУ им. Н.Э.Баумана по предмету Инженерная графикаСборка Вентиль угловойСборка Вентиль угловой
5,0057
2025-02-162025-04-06СтудИзба
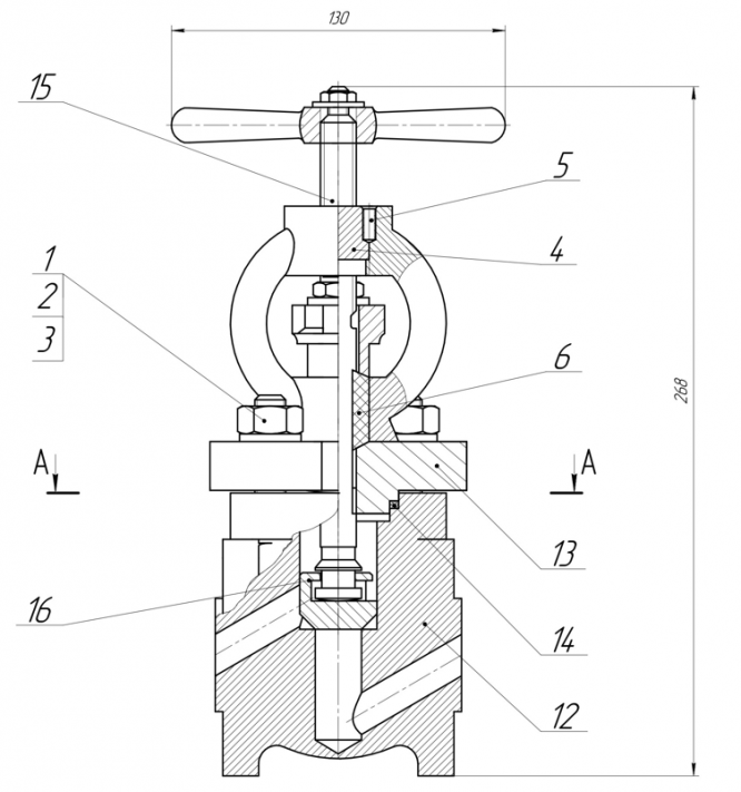
ДЗ А: Сборка Вентиль угловой вариант 258
Хит
Описание
Характеристики домашнего задания
Предмет
Учебное заведение
Семестр
Номер задания
Вариант
Просмотров
106
Качество
Идеальное компьютерное
Размер
8,17 Mb
Преподаватели
Список файлов
инжа 3 сем А-258
детали
максон гайка.m3d
Болт закладной.m3d
Болт закладной.m3d.bak
серега крышка.m3d
серега крышка.m3d.bak
серега круглая херь.m3d
серега круглая херь.m3d.bak
серега маленькая деталь.m3d
серега нормальный корпус.m3d
серега нормальный корпус.m3d.bak
серега ручка.m3d
серега ручка.m3d.bak
серега шпиндель.m3d
серега шпиндель.m3d.bak
шайба.m3d
сборка
Сборка.a3d
Сборка.a3d.bak
чертеж сборки 2.cdw
чертеж сборки 2.cdw.bak
чертеж сборки.cdw
чертеж сборки.cdw.bak
OCobQMNzHqk.jpg
korpus.m3d
z (1).webp
z (2).webp
z (3).webp
z.webp
клапан.m3d
МГТУ им. Н.Э.Баумана
mkniga28


















