Для студентов МГТУ им. Н.Э.Баумана по предмету Инженерная графикаВентильВентиль
5,0058
2018-06-042018-06-04СтудИзба
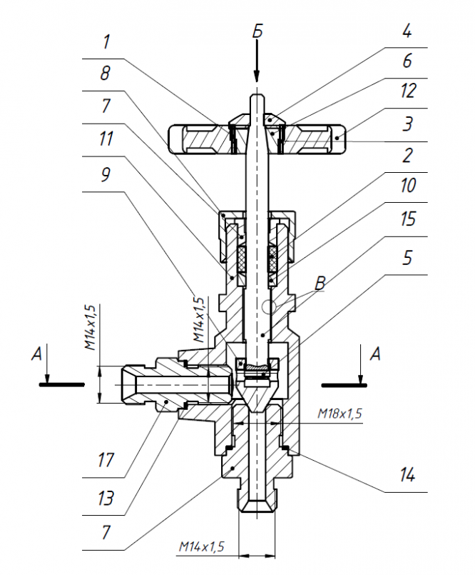
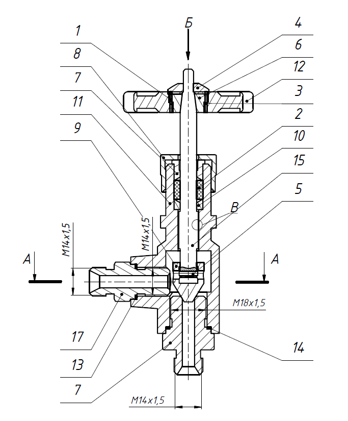
ДЗ А: Вентиль вариант 5
Описание
Характеристики домашнего задания
Предмет
Учебное заведение
Семестр
Номер задания
Вариант
Просмотров
887
Качество
Идеальное компьютерное
Размер
3,13 Mb
Список файлов
А-5
Inventor 2016
Винт.ipt
Втулка сальника.ipt
Втулка.ipt
Гайка накидная.ipt
Гайка.ipt
Клапан.ipt
Кольцо сальника.ipt
Корпус.ipt
Маховик.ipt
Сборка.dwg
Сборка.iam
Шпиндель.ipt
Штифт.ipt
Штуцер 1.ipt
Штуцер 2.ipt
1.jpg
2.jpg
Сборка.pdf
Комментарии
Нет комментариев
Стань первым, кто что-нибудь напишет!
МГТУ им. Н.Э.Баумана


















